IKEA 902.580.62 RINGBLOMMA Blind Roman White

As wall materials vary, screws for fixing to wall are not included. For advice on suitable screw systems, contact your local specialised dealer.
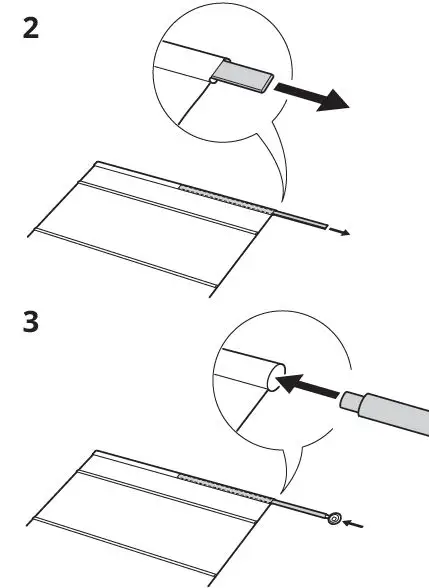
INSTALLATION INSTRUCTIONS













As wall materials vary, screws for fixing to wall are not included. For advice on suitable screw systems, contact your local specialised dealer.











Download manual
Here you can download full pdf version of manual, it may contain additional safety instructions, warranty information, FCC rules, etc.