ROTHENBERGER Rogroover

Safety Notes
Safety instructions
- Use the correct voltage.
● Use the voltage indicated on the equipment nameplate or in the manual. If the supply voltage is different from the voltage indicated overheating, smoke or fire could result. - Verify that the switch is in the OFF position before inserting the plug in the electric power supply socket.
● If the plug is inserted in the power supply socket in the ON position the machine could start up unexpectedly and cause an accident. Ensure that the switch is in the OFF position. - Avoid electric shocks.
● Do not touch the plug with wet hands.
● Do not use the machine in the rain or in areas where the machine could get wet.
● Earth the machine to avoid electric shocks. - Take into account the conditions in the workplace.
● Do not use the machine in the rain, in wet areas or in areas where the machine could get
wet easily. Moisture could impair the motor insulation and result in electric shocks.
● Do not use the machine near liquids or flammable gases such as petrol and solvents. Fire or explosions could result. - Use the specified accessories and attachments.
● Do not use accessories or attachments other than those specified in the instruction manual or in our catalogues. Accidents or injuries could result. - Turn the main unit to the OFF position and disconnect the plug from the power supply socket in the following cases.
● When the machine is not being used or when parts are being changed, repaired, cleaned or inspected.
● When the accessories are being changed.
● When swarf or other foreign bodies are being removed.
● When connecting the plug, the main unit could start up unexpectedly and cause an accident. - If any anomaly is detected stop the machine immediately.
● When the machine does not operate smoothly or if any anomalies such as odours, vibrations or unusual noises are detected stop the machine immediately.
● Check the symptoms for each item in the section entitled, “Possible causes of malfunctions“ at the end of this manual and follow the relevant instructions. Continued use of the machine can lead to overheating, smoke or fire which could cause accidents or injury.
● If overheating occurs, or if smoke is produced by the machine, do not try to repair the machine yourself and request inspection and repair. - Keep the workplace clean.
● Ensure that the work table and the workplace are in good condition and well lit.
● An untidy workplace and work table can cause accidents. - Do not allow unauthorised personnel near the machine.
● Do not allow the main unit or the power supply cable to be touched and do not allow unauthorized personnel to operate the machine.
● Do not allow unauthorised personnel to enter the workplace, especially children. Injuries could occur. - Do not use the machine with force.
● Only use the machine for the designated purpose. Work according to the capacity of the main unit in order to guarantee safe and efficient operation. Excessive force could not only damage the product but also cause accidents.
● Do not use the machine in any way that could cause the motor to lock or cause smoke or fire. - Wear close-fitting clothing.
Do not wear ties, garments with open sleeves, loose garments, accessories such as necklaces, etc., which could get caught in rotating parts.
● When working outside it is recommended to use rubber gloves and shoes with studs. Slippery gloves and footwear can lead to injuries.
● Cover long hair with a cap or net to prevent it from becoming caught in rotating parts.
● Wear a safety helmet, safety footwear, etc. in accordance with the working environment. - Do not work in an unnatural posture.
● Keep a firm footing and balance to avoid falling and injury. - Remove tools such as spanners.
● Before putting the switch to the ON position, check that the inspection and adjustment tools have been removed. ● The operation of the machine whilst tools are inside could cause accidents and injury. - Operate the machine with extreme care.
● Always work by paying great attention to the handling of the machine, the working methods and the surrounding conditions. Carelessness could result in accidents and injury.
● Do not work with the machine if you have low concentration levels such as when you are
tired, after consuming alcohol, whilst ill, under the effects of medication, etc. - Do not handle the power supply cable inappropriately.
● Do not carry the product by the cable or pull on the cable to disconnect it.
● Do not place the cable close to hot objects, grease and oils, scissors or sharp objects.
● Do not stand on the cable, pull it or apply excessive force which could damage it. This could cause an electric shock or short-circuit leading to fires. - Carry out maintenance on a daily basis.
● Follow the instruction manual when changing accessories and parts.
● Periodically inspect the power supply cable and plug. If damaged, call the distributor or the sales division for repair.
● It you use an extension cable inspect it periodically and change if damaged.
● If you use extension cables outside, use those intended for outdoor use to avoid electric
shocks, short-circuits or fire.
● Keep parts used for gripping dry and clean and free from oil and grease. If they are slippery injury could result. - Check that there are no damaged parts.
● Before using the machine, carefully check for damage to the protection parts and other parts and check normal operation of the machine and its functions.
● Check that there are no anomalies in the adjustment of movable parts, tightening, damaged parts and other parts which affect operation.
● Do not use the machine if the start and stop switches do not work.
● Follow the instruction manual for the replacement or repair of guards and other parts. If you cannot find instructions in the instruction manual call the distributor or our sales division for the repair. - Store the machine properly when not in use.
● Store it in a dry place out of the reach of children and locked with a key. - For general maintenance and repairs call an authorised distributor.
● Our product complies with the relevant safety standards. Do not remodel the machine.
● Bear in mind that for any repair you must contact the distributor or our sales division. If repairs are carried out by unqualified or unskilled personnel, the operation of the machine will be compromised which could lead to accidents or injury - The machine must always be moved by two people.
- Always work with sufficient light
● This could otherwise lead to accidents or injury
Special safety instructions
About the grooving machine
- The grooving machine has been manufactured for making grooves in tubes and pipes.In order to handle the machine follow the instructions in this manual. Any other uses increase the risk of injury occurring.
- Keep your hands away from the rotating parts. Do not wear gloves which could loosen when operating the unit. Your fingers could get caught by these rotating parts.
- Keep the protective cover in its position. Do not operate the grooving machine if you have removed the cover. If the rotating parts are exposed body parts could get caught thus causing serious injury.
- Install the grooving machine on a flat, even surface. Ensure that the machine and its supports are stable. This prevents the unit from overturning.
- Do not wear loose clothing. Keep sleeves and jackets closed. Do not extend your body over the machine or the tube. Your clothes could get caught in the tube and cause serious injury.
- Fix the tubes correctly using tube supports.
- Whilst operating the machine keep your hands away from the end of the tube. This prevents the risk of in Technical Datary from the sharp edges or chips.
Technical Data
Max. permitted diameter ….. 12” (325 mm)
Min. permitted diameter … 1” (33 mm)
Max. permitted tube thickness ….. 10 mm
Max. working pressure…….. 7850 kg
Max. hydraulic cylinder pressure…….. 40 MPa
Oil tank capacity ….. 150 ml
Lathe screw speed…….. 36 min-1
Electric motor
1500001351……
1500001352……
1500001353……
1500 Watt–230 V–50 Hz
1500 Watt–230 V–60 Hz
1500 Watt–110 V–50 Hz
General dimensions (W x D x H )…. 474 x 910 x 635
Weight …. 32 lb
Standard equipment:
Grooving machine with drive shaft and set of three grooving rollers. Drive shaft and set of grooving rollers, for diameters 1” – 11/2”; 2” – 6” and 8” – 12”.
Tube stabilizer:
The tube stabilizer is available as a support accessory for grooving.
Function of the Unit
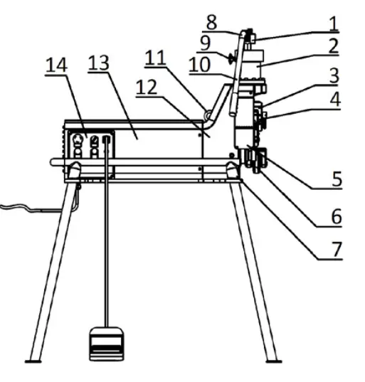
Overview


- Adjusting nut
- Hydraulic cylinder
- Roller slide
- Drive shaft
- Guard
- Pipe stabilizing roller
- Mounting base
- Handle body
- Shut-off valve 3
- Handle
- Nut
- Body of head
- Motor cover
- Control panel (electric)
Description
This machine makes circular grooves at the end of steel tubes in order to facilitate the assembly
of circular couplings. It is the ideal tool for the construction industry and the piping construction sector. The grooves are made by a grooving roller which is inserted hydraulically inside the tube which, at the same time, is supported by a guide screw.
The machine is equipped with two upper rollers and three lathe screws which can machine the
following tubes (refer to table 1 to see the suitable combination of roller and lathe screw to be
used in each case):
from 1” – 11/2” in diameter
from 2” – 6” in diameter
from 8” – 12” in diameter
Preparation of the machine and the working area
Select a working area where:
- there is sufficient light.
- there are no liquids, vapours or dust which could cause fire.
- there is an earth connection connected to ground.
- there is a direct path to the earth connection, free of heat sources, oils, sharp or cutting edges or mobile parts which could damage the cable.
- there is a dry place for the machine and operator.
- the ground is levelled.
Do not use the machine if positioned over water.
Clean the working area before installing any unit.
Clean any oil.
Position the machine on a flat and even surface.
Ensure that the grooving machine and the tube support are stable.
Attach an expansion bolt in the ground below the machine and, using an adjustable hook, attach the table to the ground bolt. Attach the tube support to the ground using three bolts. Examine the upper roller and the lathe screw to ensure that the size is correct. Ensure that the machine shaft and the tube support are perfectly aligned.
The tube ends must be cut in a right angle. Do not use a blowpipe to cut the tube. The tube must not be insufficiently round. It is necessary to grind all the welding seams, sealants and other interior or exterior seams flush in the tube over a length of at least 55 mm from the end.
Tube assembly
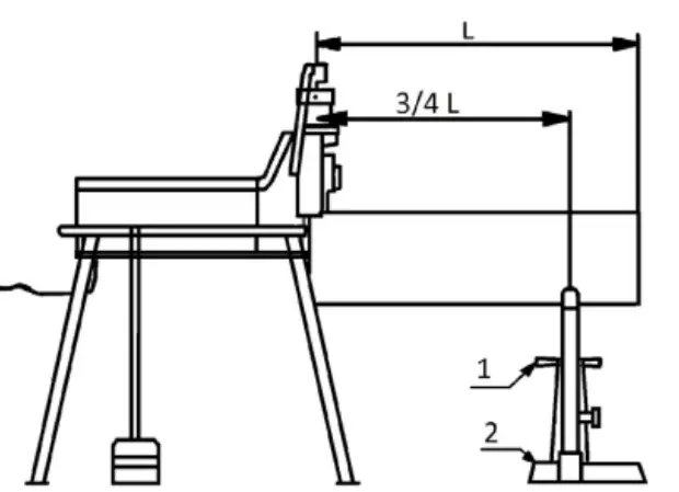
The tubes must be supported using a tube support. The tube support must be positioned at 3⁄4 of the tube length from the grooving machine.
Loosen the knobs of the spindle (A) by turning anticlockwise.
Take the lath screw wheel (B), turn it and adjust the tube to the knurling measurement.
Support the tube in the lathe screw and buffer against the machine.
Adjust the height of the tube ensuring that it is completely horizontal. If required use a spirit level. Once adjusted, the tube locks the support by turning the levers clockwise and fixes the position
Adjustment of the knurling depth
Given the variable characteristics of the tubes, a test groove must always be performed when switching on the machine or if there is a change of tube for one of a different size.
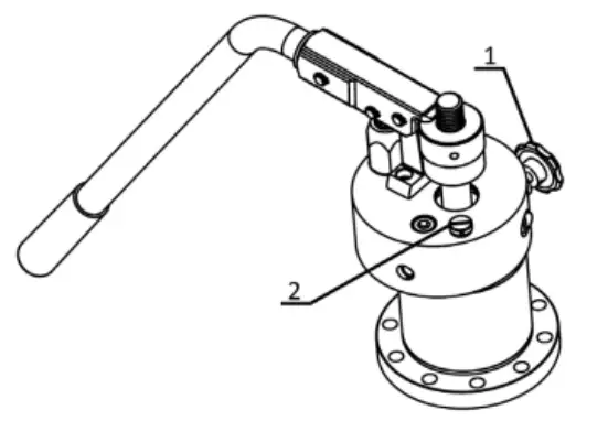
Valve (1) must be open!

Place the pipe on the drive shaft. Pump until the upper roller touches the pipe. DO NOT APPLY FORCE.
Turn the nut (3) until it makes contact with the surface (4).
Unscrew the nut (3) in an anticlockwise direction until it has been withdrawn the distance of the groove depth “C” (see table). Each division of the nut corresponds to 0.1 mm and a full turn with a groove depth of 2.5 mm.
Start up the machine, close the cylinder shut-off valve and start pumping. Do not pump continuously, but allow the pipe to complete three rotations for each pumping action. When the adjusting nut touches the hydraulic cylinder stop pumping and do not stop the machine until the pipe has rotated three times. Stop the machine, open the cylinder shut-off valve, so that the hydraulic cylinder withdraws, and remove the pipe.
Operation of the grooving machine
The thickness of the tube wall must not exceed the aforementioned maximums!
With the cylinder valve closed, turning clockwise, press the switch and run the machine idle to ensure that it operates correctly.
Exert pressure downstream quickly on the
pump handle to make the initial groove. Continue, however slowly, allowing that the tube makes one full turn for each complete stroke of the pump handle.
If the tube starts to come out of the lathe screw, stop the machine and check the “tube assembly” procedures.
When the depth set nut makes contact with the machine casing allow the tube to make two full turns to level the depth of the groove.
Open the cylinder valve turning anticlockwise allowing the upper roller to release the tube.
Check the diameter of the groove prior to proceeding with the subsequent grooves.
The groove diameter must be measured using a diameter tape. In order to reduce the groove
diameter (increase the depth of the groove), turn the depth set nut one mark to the left. In order to increase the groove diameter (decrease the depth of the groove), turn the depth set nut for one mark to the right. Once the set nut has been turned fix its position by fastening the adjusting locknut. When threading long tubes, use a stabiliser for the tube to ensure that the tube does not vibrate due to warping as it rotates, and to ensure that the machine does not become unstable due to the weight of the tube. If you do not use a stabiliser for the tube it may prove difficult to produce proper grooves, or the machine may be damaged and result in accidents or injury.
Knurling with stabilizer
Do not use the stabilizer with tubes of 200 mm or less. Your finger could be crushed by the rotating parts!
Help to solve the problem of brusque swinging during the knurling process due to roughness and poor grooving in large steel tubes more than (6”). Once the stabiliser has been adjusted for a specific diameter and wall thickness it does not have to be readjusted.
Position the tube in such a way that it is levelled and makes contact with the lathe screw edge.
Exert downstream pressure on the pump handle to move the upper roller until making contact with the tube.
Turn the wheel to move the stabiliser roller downwards until making contact with the outer diameter of the tube. Once the stabiliser has made contact with the outer diameter of the tube, tighten it with another full turn and fix the slide locking screw to reduce the vibration.
Changing the roller assembly
Because the geometry of the set of rollers determines the dimensions of the grooves, specific sets of rollers are required (see Table 1) to groove the different pipe sizes, from 1” up to 12”.
Before making the change, make sure that the grooving machine is unplugged, and follow these
steps: The three upper rollers are incorporated into the upper head of the machine. To select the appropriate roller, remove the main shaft (7) and rotate the head until you have the roller of the correct size aligned with the groove of the drive shaft. Insert the shaft (7) making sure it is correctly fitted and has not been forced during the mounting operation.
The lower drive shaft has to be changed in a different way for a roller of between 1” and 11/2”
than for the other sizes (2” – 6” and 8” – 12”).
Roller of 1” to 11/2”. This is secured by 6 screws (4). To assemble, insert it into the housing smoothly, checking that the groove is aligned with the upper roller. Fit the 6 screws (4) and tighten them.
IMPORTANT: check that after mounting the groove is still aligned with the upper roller.
Rollers of 2” to 6” and 8” to 12”. These are mounted over the centre screw located on the same shaft, and so are fixed by the bolt (1) and nut (2).
We remove the nut (2), and turn the shaft (1) anticlockwise, with the appropriate tool. We rotate using the 10×10 square drive until the shaft is completely removed (1) along with the roller (3). We insert the new roller (3) into its housing as far as it will go, and insert the shaft (1), turning it clockwise until it is well secured. Fit the nut (2) until it stops against the roller and tighten to secure it. Check the alignment of the groove with the upper roller. Alignment and checking of position “A” (see table). When we want to align the upper roller with the groove of the lower shaft or the drive shaft we proceed as follows:
Work without any pipes mounted in the groover!
Select a roller and a drive shaft of the same size.
Lower the upper roller until it almost touches the drive shaft at the point where its diameter is at its greatest.
Loosen the two screws (8) of the head. It is not necessary to remove them.
Using the screw (5), turning this in both directions, we move the head forwards or backwards depending on the direction of rotation. Adjust this until it is perfectly aligned.
Tighten the screws (8) again.
| Model of pinch roller | Model of Knurl wheel | Nominal Pipe Dia. (inch) | Actual Pipe Dia. (inch) | A +/– 0,5 (mm) | B +/– 0,5 (mm) | C +/– 0,5 (mm) | Diameter of Groove Bottom | |
| Max. (mm) | Min. (mm) | |||||||
| Small Pinch Roller 33/48 | Small Knurl Shaft 33/48 | 1“ | 33.7 | 15.88 | 7.14 | 1.65 | 30.23 | 29.85 |
| 1-1/4“ | 42.4 | 15.88 | 7.14 | 1.65 | 38.99 | 38.61 | ||
| 1-1/2“ | 48 | 15.88 | 7.14 | 1.65 | 45.09 | 44.70 | ||
| Medium-Sized Pinch roller 60/168 | Medium Knurl Shaft 60/168 | 2“ | 60 | 15.88 | 8.74 | 1.65 | 57.15 | 56.77 |
| 2-1/2“ | 76 | 15.88 | 8.74 | 1.98 | 72.26 | 71.80 | ||
| 3“ | 89 | 15.88 | 8.74 | 1.98 | 84.94 | 84.48 | ||
| 4“ | 108 | 15.88 | 8.74 | 2.11 | 103.73 | 103.22 | ||
| 4“ | 114 | 15.88 | 8.74 | 2.11 | 110.08 | 109.57 | ||
| 5“ | 133 | 15.88 | 8.74 | 2.11 | 129.13 | 128.62 | ||
| 5“ | 140 | 15.88 | 8.74 | 2.11 | 135.48 | 134.97 | ||
| 6“ | 159 | 15.88 | 8.74 | 2.16 | 153.48 | 152.45 | ||
| 6“ | 165 | 15.88 | 8.74 | 2.16 | 160.78 | 160.22 | ||
| 6“ | 168 | 15.88 | 8.74 | 2.16 | 163.96 | 163.40 | ||
| Large Pinch Roller 219/325 | Large Knurl Wheel 219/325 | 8“ | 219 | 19.05 | 11.91 | 2.34 | 214.40 | 213.76 |
| 10“ | 273 | 19.05 | 11.91 | 2.39 | 268.28 | 267.59 | ||
| 12“ | 325 | 19.05 | 11.91 | 2.77 | 318.29 | 317.53 | ||
Warnings and advice for knurling
You must be familiar with the machine structure, its functions and the propulsion and lubrication systems by reading the manual prior to starting operation.
Before switching on the machine add oil as indicated in the manual. Check that the hydraulic cylinder is full of oil. Connection to earth and the fuse are required in the circuit. The motor must be correctly connected. Never put the machine into operation if overloaded. The upper roller and lathe screw must be suitably selected according to table 1 to ensure optimum knurling. The steel tubes must have both ends and the surface polished before starting to make knurl. If the tube comes out of the lathe screw increase the tube’s degree of deviation. In the event of knurling steel tubes with large diameters fix the four machine feet as well as the three tube support feet to the ground using screws. IN the event of knurling in steel tubes with large diameters (over 165 mm), the tube could brusquely swing during the knurling process due to roughness and poor grooving or could even cause a malfunction. In order to solve this problem a tube stabilizer can be ordered as an option. A pipe stabilizer is provided specifically to solve this problem.
Care and Maintenance
Maintenance instructions:
Ensure that the machine is disconnected before carrying out maintenance or adjustments.
Hydraulic liquid level:
Loosen the filling cap to add hydraulic oil (loss through the cylinder valve, remove all dirt in the vicinity of the lid orifice). Remove all dirt around the filling orifice before adding oil Unscrew the drain screw before emptying all the used dirty oil If you wish to remove the entire hydraulic cylinder from the main unit lower the slide to the lower position, loosen the screws fixed to the piston and the 10 screws from the pump seat.
Lubrication:
The lubricator for the roller shaft must be lubricated once a month and each time the roller set is replaced. Add lubricating grease to the pin bearings prior to reassembling them.
Filling the hydraulic cylinder with oil
In the event that it is necessary to fill the oil tank. Proceed as follows:
Open the tap (1).
Thoroughly clean away any dirt around the screw (2). Ensure that no dirt remains.
Open the screw (2).
Fill using hydraulic oil.
Fit and secure the screw (2).

Troubleshooting
| Symptom | Possible Reason | Solution |
| The groove is too narrow or too wide | The roller set does not correspond to the tube diameter | Replace the roller set for one which corresponds to the tube diameter |
| The groove zigzags The groove is not parallel to the surface of the tube end | The tube has not been cut square | Cut the tube square |
| The groove diameter is not uniform throughout the entire circumference of the tube | The tube is elliptic | Use a circular tube |
| The countersinking at the end of the tube is too large | The roller set does not correspond to the tube diameter | Replace the roller set for one which corresponds to the tube diameter |
| The deviation angle of the tube is too large | Adjust the tube deviation to 0 | |
| The tube support is too large | Adjust the tube support height to obtain a deviation in degrees below the hori- zontal plane | |
| The operator is making the upper roller advance too rapidly | Reduce the pumping speed (refer to the relevant operat- ing instructions) | |
| The tube slides or slips in the lathe screw
| The lathe screw fluting is blocked by metal, worn or flat | Clean or replace the lathe screw |
| The upper roller is advanc- ing very slowly | Make the upper roller ad- vance more rapidly inside the tube | |
| The tube is coming out
| Inappropriate direction and height of the tube support | Vary the direction and height of the tube support |
| Rough surface of the steel tube | Polish the surfaces | |
| There is no pressure in the hydraulic cylinder When actuating the pump handle nothing happens | Insufficient hydraulic oil | Add hydraulic oil |
| Dirty oil is blocking the orifice | Replace the hydraulic oil and clean the circuit | |
| Oil is leaking from the valve | Remove the screw and spring Gently hit the small steel ball to make it come out | |
| The piston advances when actuating the cylinder handle however recedes when releasing the handle | Dirty oil is blocking the orifice | Replace the hydraulic oil |
| Oil is leaking from the valve | Remove the screw and spring Gently hit the small steel ball to make it come out | |
| Oil is leaking from another point | Locate the problem and correct | |
| Insufficient hydraulic cylinder pressure | The relief valve spring is broken | Replace the safety valve |
Customer service
The ROTHENBERGER service locations are available to help you (see listing in catalog or online) and replacement parts and service are also available through these same service locations.
Order your accessories and spare parts from your specialist retailer or using our service-aftersales hotline:
Phone: + 49 (0) 61 95 / 800 – 8200
Fax: + 49 (0) 61 95 / 800 – 7491
Email: [email protected] www.rothenberger.com
Disposal
Components of the unit are recyclable material and should be put to recycling. For this purpose registered and certified recycling companies are available. For an environmental friendly disposal of the non-recyclable parts (e.g. electronic waste) please contact your local waste disposal authority.
For EU countries only:
Do not dispose electric tools with domestic waste. In accordance with the European Directive 2012/19/EC the disposal of electrical and electronic equipment and its implementation as national law, electric tools that are no longer serviceable must be collected separately and utilized for environmentally compatible
Markings in this document:
Danger!
This sign warns against the danger of personal injuries.
Caution!
This sign warns against the danger of property damage and damage to the environment.
Call for action recycling

References
USA Location information - USA.com
ROTHENBERGER USA
ROTHENBERGER Werkzeuge- und Maschinen
ROTHENBERGER Benelux
ROTHENBERGER България
ROTHENBERGER-TOOLS SA
ROTHENBERGER | ROTHENBERGER
ROTHENBERGER Australia
ROTHENBERGER do Brasil
ROTHENBERGER
ROTHENBERGER nářadi a stroje
ROTHENBERGER S.A.
ROTHENBERGER France
ROTHENBERGER
ROTHENBERGER Italiana
ROTHENBERGER Benelux
ROTHENBERGER Polska
ROTHENBERGER RUSSIA - официальный сайт представителя в России: продажа всех инструментов РОТЕНБЕРГЕР
















