FLASHFORGE P18 3D Printer Creator Pro
WARNING
- Please put on gloves while using photo polymer resin to avoid direct contact with hands.
- To ensure the printing quality, please don’t open the light shield unless it’s necessary.
- Unused photo polymer resin needs to be stored in a dark, dry, and cool place.
- Please clean the finished model with anhydrous alcohol.
- Please ensure that the platform is installed correctly and no items before operating to avoid damaging the LCD screen.
- The illustrations of the product, accessories and user interfaces in the instruction manual are all schematic diagrams for reference only. Due to the updating and upgrading of the product, the actual product may differ slightly from that in the schematic diagram. Please take the actual product as the standard.
Foreword
Note
Each 3D printer has undergone a printing test before leaving the factory. If there are residual consumables in the feed resin tank or slight scratches on the printing platform, it is normal and will not affect the use.
Dear customer:
Thank you for choosing and using the products of Flashforge Technology. Thank you for your great support on help. no product quality and performance or manual carefully before use, and strictly follow the instructions of the manual. The entireFlasnrorge technology team is always ready to provide you with the best quality service. No matter what problems you encounter during use, please contact us according to the telephone and email provided at the end of the manual in order for you to experience our products better, you can also obtain equipment operating knowledge from the following channels
Quick Starter Guide
Please unpack it carefully, you can take out the attached quick start guide from the top layer of foam. The quick start guide will help you get familiar with the device as quickly as possible and successfully complete the first printing experience.
Notice
Safety tips: Please make sure to read the following safety tips carefully
Work Environment Safety
- Keep your work place tidy.
- Do not operate in the presence of flammable liquids, gases or dust.
- Children and untrained personnel should not operate the equipment alone.
- Environment Requirements
- Temperature: RT 15-30°C
- Moisture: 20%-70%
Place Requirements
The device must be placed in a dry and ventilated environment. The distances of the left, right and back side space should be at least 20cm, and the distance of the front side space should be at least 35cm.
Electrical Requirements
- Be sure to ground the device; do not modify the plug of the device. (Ungrounded/ incorrectly grounded/modified plugs will inevitably increase the risk of leakage)
- Do not expose the device to humidity and hot sun. (Wet environment will increase the risk of leakage/exposure will accelerate the aging of plastic parts)
- Do not abuse the power cord, and be sure to use the power cord provided by Flashforge.
- Do not use the device during thunderstorms. If you do not use the device for a long time, please turn off the device and unplug the power cord.
Personal Safety
- Please don’t direct touch the photopolymer resin with hands.
- Please put on gloves and masks during operation.
- Please don’t look at the light source directly.
- Do not operate the device while you are tired or under the influence of drugs, alcohol or medication.
Cautions
- Operate the device in a well-ventilated environment
- Do not leave the device unattended for long
- Do not make any modifications to the device
- Do not operate the device in bright light.
- Never use the device for illegal activities.
- Never use the device to make any food storage vessels.
- Never use the device to make any electrical appliance.
- Never put the model into your mouth.
- Do not remove the models ith force.
Photopolymer Resin Requirements
Please store the photosensitive resin solution in a dark and dry environment. Please place it in a place out of the reach of children. Please ensure that the label surface of the bottle is facing the eye-catching direction.
Photopolymer Resin Storage
Unused photopolymer resin needs to be stored in a dark, dry, cool place, and out of the reach of children. Ensure the bottle body logo faces in an eye-catching and visible direction
Legal Notice
The user has no right to make any changes to this manual. Flashforge Technology will not be responsible for any safety accidents caused by Customers disassembling or modifying the equipment by themselves. Without the permission of Flashforge no one may modify or translate this manual. This manual is protected by copyright, and Flashforge reserves the right of final interpretation of this manual.
Getting To Know Your 3D Printer
Accessory Box
Leveling
Open the paper box and take out the 3D printer on the desk. Remove all protective foam and plug in the power cable.
- Connect the power adapter and power cable. Plug the output end of the power adapter into the power input port on the back of the printer and turn on the switch.
![FLASHFORGE-P18-3D-Printer-Creator-Pro-fig-3]](https://static-data1.manualsee.com/1/img/251/2977565/2022/05/FLASHFORGE-P18-3D-Printer-Creator-Pro-fig-3.png)
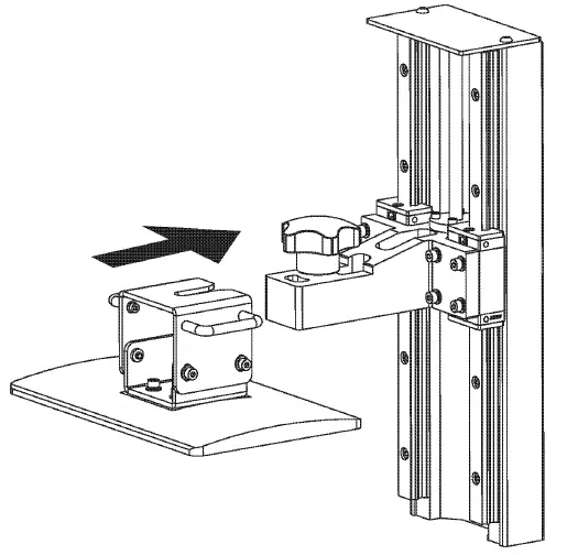
- Install the build plate on the plate holder.

- Tighten the platform tighten knob.

- To loose the screws on both sides of the build plate by using an inner hex wrench.

- Make sure it can move free but not to fall

- Remove resin box.

Note
Before leveling, you can choose whether to remove the protective film from the projection screen or not.
If you choose to remove the protective film, you couldjust lift the protective film by the pull tab. (1f there are no obvious scratches and bubbles on the surface, and there is no abnormality on the surface of the printed model, it is recommended to keep it.)
Tearing the pull tab to the outside
If you choose not to remove the protective film, you need to pay attention to tearing off the pull tab, so as not to affectthe leveling effect.
The specific operation is as follows: press the protective film on the left side of the pull tab with your left hand, while tearing the pull tab to the outside with your right hand, and gently smooth the area with your hand to avoid any visible bubble residue
- Remove resin box. Put a piece of A4 paper folded in half on the 8.9′ LCDScreen.

- Click [Tool] – [Manual] and open a new window. Click [Home] and wait for stop movement of Z-axis.

- Press the top of the build plate with one hand to let four corners of build plate to touch the LCD screen evenly. ( It have to adjust the height of Z-axis If twitch a piece of A4 paper and don’t feel the large resistance. Click [0.1 mm] in the touched screen and twitch paper and feel the resistance again. Repeat it, until feel the large resistance from paper.) Pre-tighten the screws on both sides of the platform and then lock them separately during the process.

Notice 1: Because of change in tightness by tighten screws on the build plate, it have to adjust the height of Z-axis.
Notice 2: If twitch a piece of A4 paper and feel little resistance or no resistance, click[0.l mm] and the height of Z-axis decline 0.1 mm; If twitch a piece of A4 paper and feel large resistance, click [0.1 mm] and height of Z-axis rise 0.1 mm.
Notice: It must level for the first using. Suppose changing the new build plate and new screen, and it has to level again. It needs to level when the printing abnormal, such as the board on the side of the print model fell.
- 10. Click [Back] to come back and click [Set Z=0] to set the height of the current build plate to zero. Then click[Manual] to lift the build plate upper.
Note: It must to level fo first using, changing new build plate and new screen. It have to level again when print abnormal. For example, printed model cannot stick to build plate.
First Printing
- Make sure the LCD screen, build plate and resin box is clear enough. Install the resin box on the LCD screen.

- Tighten the knobs to fix the box.

- After confirm the installation of resin box and build plate, pour the resin into the resin box. Note that capacity shall not exceed the mark line in the resin box.

- Close the light shield after all above preparatory steps.

- Click the [Print] to enter the model list. Click the model file to star the printing.

NOTE:
Do not open the top cover during printing to avoid eyes hurt.
Post-processing
- There will be a prompt on the touch screen when the printing is completed. Click [OK] and then open the top cover.

- Loose the nut to remove the build plate.

Note: Be careful not to damage the FEP film in the resin box or the LCD screen during removal. - Remove the model via the metal scraper and clean the model in the cleaning box with anhydrous alcohol to wash off the excess resin.

- After cleaning, dry the model via a dust-free cloth or an air gun. It would be better to solidify the model again via curing box.

NOTE:
During installation and removal of the build plate, please be extra careful to prevent the LCD screen from damage by build plate falling down.
- When the printing time is relatively long, please observe the printing regularly to avoid accidents and stop printing if the model is incomplete or dropped.
- Please make sure the printing environment keeps clean with less dust.
- Please confirm the installation and leveling gaps for several times when do the leveling if you are new to 3d printing.
Replace the FEP film in the resin box
Please refer to the following steps when install or replace the FEP film.
- Loose the screws at the bottom of the resin box to remove the film fixing frame and remove the overused FEP film.

- Align the FEP film with the screw holes and clamp it between the two fixing frames; then tighten the screws.

Note: There are upper and lower sides of the frame; please verify the correct side through the screw holes. - Re-install the film fixing frame to the bottom of the resin box and tighten the screws tO make the FEP film tense. Then pour the water or resin into the resin box to check if there is leakage. Replace the FEP film and re-install it if there is.

Note: please take care of the FEP film in the above steps to avoid damage and dirt
Software Operation
CHITUBOX
- Install and turn on the ChiTuBox64.exe program.
- Click the [Open … ] in the menu at the upper left corner to select the model files.

- Move the model to the right position through movement and rotation. The model cannot be lower than the mesh surface above the raft.

- Click the [Settings] and the pop-up window will appear. Generally, it is enough to adjust the ‘Layer Height’, ‘Bottom Layer Count’, ‘Exposure Time’, and ‘Bottom Exposure Time’.

- After all parameters being set, click the [Slice] and a tip ‘Slicing’ will show at the bottom right of the interface. When the slicing is done, a preview interface will display.

- Click the [Save] to save the file type as ‘.fdg’ ; choose the folder and click [Save].
FlashDLPrint
- Install and run the FlashDlprint.exe program.
- Click Load, select the model file.
- Use movement and rotation to place the model in an appropriate position. The model should not be lower than the network surface of the bottom plate.

- Click Print, and a print window pops up. (Generally just adjust “layer thickness”, “bottom number”, “exposure time”, “bottom exposure time”, etc.)

- Click [OK], select the file type 11.fdg 11, select the save location, and click [Save S].

- At this point, Slicing … , will be displayed at the bottom of the interface. , after the section is completed, the interface changes into the section preview interface.

Load the model files
- Copy the ‘.fdg’ file to the USB stick on the computer. It would be better to remove USB stick from computer after ‘Safely Remove USB stick ‘ note to avoid file damage.

- Insert USB stick into the USB stick port in the machine. Click [Print] on the screen to enter file list and scroll down your page to find the target model file. Please do not remove USB printing during printing.
Maintenance
- Please keep two parts shown in the picture below clear without dust and fingerprint.
- Do not pour the used residual resin back to the resin bottle.
- The waste resin can be poured into the sealing bag for sealing and then be exposed to the sun until the resin solidifies.
- If the resin drops onto the LCD screen, please wipe it with non-woven fabric in time; if the resin has solidified, please wipe it via non-woven fa bric with alcohol.
- Do not clean the residual resin in the resin box with something sharp to avoid the damage of FEP film.
- If the print doesn’t work for quite a long time, please pour the residual resin in the resin box into a closed container and keep it away from light. If a solidified model falls into the residual resin, please take it out as soon as possible.

















![Glowforge 3d Laser Printer [glowforge Pro, Glowforge Plus, Glowforge Basic] User Manual Glowforge 3d Laser Printer [glowforge Pro, Glowforge Plus, Glowforge Basic] User Manual](https://static-data1.manualsee.com/1/img/61/16991/2020/12/Glowforge-3D-Laser-Printer.jpg)

