GOLDRING ETHOS

M O V I N G C O I L C A R T R I D G E
Thank you for purchasing the Goldring Ethos stereo moving coil cartridge. We appreciate that you have entrusted your musical enjoyment to us; your new Goldring cartridge is the primary component in the audio reproduction chain and the only one in direct contact with your precious vinyl collection. You may rest assured that your trust has not been misplaced. Each Ethos cartridge is hand crafted and adjusted so that it faithfully reproduces the complete musical performance from the largest possible dynamic transient to the smallest subtle nuance. The hand-built GOL-1 generator was originally developed in the heyday of vinyl for a smooth and extended frequency response. It has now been re-engineered and improved to enhance its world class reputation. This generator helps make the Goldring Ethos the perfect example of what a true hi-fi cartridge should be – detailed, uncoloured and very enjoyable.
DESIGN FEATURES
- Line-contact stylus – enables the completely accurate retrieval of high frequency detail.
- Alloy cantilever – tuned to the ideal length for optimal trackability and ride height.
- Cross-shaped armature – reduces moving mass and improves channel separation for a strong stereo image.
- Optimised suspension – new improved damper pad sets correct cartridge compliance to minimise mis-tracking and improve compatibility.
- Neodymium magnet – light and powerful providing a strong, uniform field for more linear frequency response.
- Aluminium body shell – rigidly couples the motor system to the tonearm for maximum information retrieval.
CARTRIDGE MOUNTING
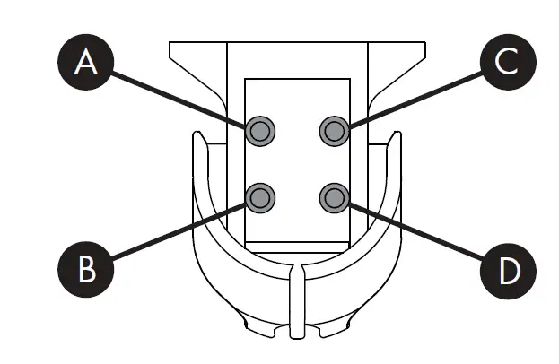
The Ethos cartridge is compatible with all tonearms of effective mass 4-18 g having a headshell with standard 12.7 mm (0.5 in) fixing centres. Remove the old cartridge from the tonearm before beginning. Working with the stylus guard still in place, connect the colour coded tonearm leads to the corresponding connection pins on the rear of the new cartridge (see Fig. 1) A=Cold Left (Blue), B=Hot Left (White), C=Cold Right (Green), D=Hot Right (Red).

Warning: Under no circumstances should the headshell leads be soldered directly to the contact pins on the cartridge. Heat applied to the contact pins will cause irreversible damage to the internal components.
Use only the socket head mounting screws provided. Two lengths of screw are included with the cartridge; select the shortest screws that give a secure fit. Insert the screws from the top and loosely attach the cartridge to the headshell so that its position can still be adjusted. Please note that the Ethos cartridge body contains threaded mounting holes so nuts are not required when mounting the cartridge (see Fig. 2).

CARTRIDGE ALIGNMENT
Refer to your tonearm manufacturer’s instructions to properly set the exact position of the cartridge within the headshell. Only when aligned correctly will the cartridge perform to its full potential. For correct alignment a stylus protractor must be used to set the optimum overhang distance.

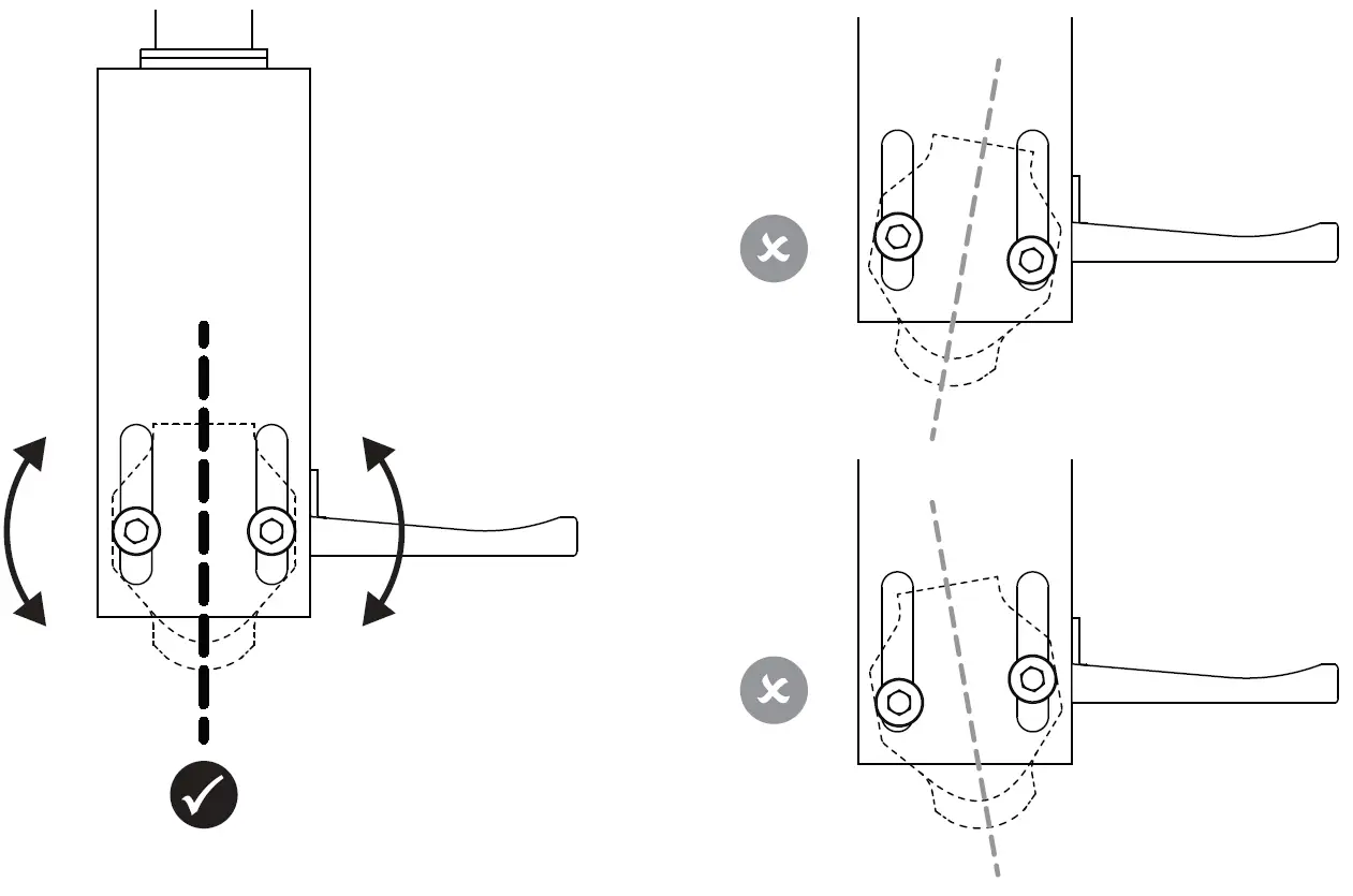
Ensure that the cartridge’s zenith angle (Fig. 3) and overhang distance are correctly set before tightening both screws using the allen key provided. To avoid damage do not over-tighten the screws. Finally, make sure the cartridge’s azimuth angle (Fig. 4) and vertical tracking angle (Fig. 5) are correctly set, referring to the tonearm manufacturer’s instructions to make adjustments if necessary.

PLAYING WEIGHT
The recommended playing weight for the Ethos cartridge is 1.75 g. Refer to the manufacturer’s instructions for the set-up procedure specific to your tonearm. Do not forget to remove the stylus guard before setting the playing weight. Do not exceed the maximum specified playing weight. To prevent damage when not in use, remember to refit the stylus guard.
PREAMPLIFIER CONNECTIONS
The Ethos cartridge features moving coil technology and should therefore only be connected to the MC input of your phono preamplifier. The load resistance should initially be set to 100 Ω, but may be adjusted in order to fine-tune the tone of the cartridge to your personal taste. Refer to your phono preamplifier manufacturer’s instructions for guidance on adjusting the load resistance.
STYLUS CARE
The stylus assembly is a delicate mechanism which can be easily damaged. It should only be handled with the utmost care. Steel objects such as screwdrivers will be attracted by the powerful magnet in the cartridge. Extra care must be taken to prevent such objects being drawn towards the stylus.
STYLUS REPLACEMENT
Goldring styli are manufactured to the highest possible standard. However, it is vital that the condition of the stylus is regularly checked. If properly cared for a line-contact diamond stylus can last up to 1000 hours before wear causes noticeable degradation of performance. A damaged or worn stylus will cause irreparable damage to your precious vinyl collection and should be replaced immediately. The Ethos cartridge has an integral stylus which cannot be replaced by the user. If your stylus is worn or damaged, speak to your hi-fi dealer or contact Goldring directly via the Goldring website to arrange for your stylus to be replaced at our factory.
TECHNICAL SPECI FICATION
Model Details
- Name: Ethos
- Product code: GL0003M
- Colour: Silver
- Cartridge type: Moving coil
Construction
- Stylus profile: Vital line-contact
- Stylus radius: 8 x 35 μm (0.3 x 1.4 mil)
- Cantilever: Aluminium alloy
- Coil wire: Oxygen free copper
- Coil windings: 32 per channel
- Armature type: Low mass cross shape
- Magnet: Neodymium
- Generator model: GOL-1
- Body material: Aircraft aluminium
- Replacement stylus: Factory replaceable
Transducer Characteristics
- Frequency range: 10 Hz – 32 kHz
- Frequency response: ± 2 dB (35 Hz – 18 kHz)
- Channel balance: <1 dB at 1 kHz
- Channel separation: >30 dB at 1 kHz
- Sensitivity: 0.5 mV ± 1 dB at 1 kHz, 5 cm/s (rms)
- Static compliance: 25 mm/N
- Dynamic compliance: 15 mm/N
- Vertical tracking angle: 20°
Electrical Characteristics
- Load resistance: 100 Ω
- Load capacitance: 100 – 1000 pF
- Internal inductance: 7.5 μH typical
- Internal resistance: 4 Ω typical
Mechanical Characteristics
- Cartridge mass: 7.7 g
- Total mass (incl. fixings): 8.5 g
- Fixing centres: 12.7 mm (0.5 in)
- Playing weight: 1.5 – 2.0 g (1.75 g)
GUARANTEE
This cartridge is guaranteed against electrical and mechanical faults for one year from date of purchase. This guarantee does not include worn styli, and is invalidated if the instructions are not complied with or if any unauthorised modification, repair or alteration has been attempted.



















