VMT125X Microwave Oven
Instruction Manual
DEAR CUSTOMER
We sincerely thank you for your purchase. We believe you will soon find ample evidence that you can really rely on our products. To make the use of the appliance easier, we attach these comprehensive instruction manual.
The instructions should aid you in getting familiar with your new appliance. Please, read them carefully before using the appliance for the first time.
In any case, please make sure the appliance was supplied to you undamaged. Should you identify and transport damage, contact your sales representative or the regional warehouse from where the product was delivered. You will find the telephone number on the receipt or delivery report.
We wish you a lot of pleasure with your new household appliance.
The appliance for household use for heating food and beverages using electromagnetic energy, for indoor use only.
INSTRUCTIONS FOR USE
These instructions are intended for the user.
They describe the cooker and how to use it. They also apply to different types of appliances, therefore you may find some descriptions of functions that may not apply to your appliance.
IMPORTANT SAFETY INSTRUCTIONS
Never touch the surfaces of heating or cooking appliances. They will become hot during operation. Keep children at a safe distance. There is a risk of burning!
Microwave energy & High voltage!
Do not remove the cover.
- WARNING! The appliance and its accessible parts become hot during use. Care should be taken to avoid touching heating elements. Children less than 8 years of age shall be kept away unless continuously supervised. Children should be supervised to ensure that they do not play with the appliance.
This appliance can be used by children aged from 8 years and above and persons with reduced physical, sensory or mental capabilities or lack of experience and knowledge if they have been given supervision or instruction concerning the use of the appliance in a safe way and understand the hazards involved. Children shall not play with the appliance. Cleaning and maintenance shall not be made by children unless they are older than 8 and supervised.
Keep the appliance and its cord out of reach of children less than 8 years. - WARNING: When the appliance is operated in the combination mode, children should only use the oven under adult supervision due to the temperatures generated; (Only for the model with grill function)
- WARNING: If the door or door seals are damaged, the oven must not be operated until it has been repaired by a competent person;
- WARNING: It is hazardous for anyone other than a competent person to carry out any service or repair the operation that involves the removal of a cover which gives protection against exposure to microwave energy;
- WARNING: liquids and other foods must not be heated in sealed containers since they are liable to explode.
- Children should be supervised to ensure that they do not play with the appliance.
- Don’t remove the oven’s feet, and do not block air events of the oven.
- Only use utensils that are suitable for use in microwave ovens.
- When heating food in plastic or paper containers, keep an eye on the oven due to the possibility of ignition;
- If smoke is observed, switch off or unplug the appliance and keep the door closed in order to stifl e any flmes;
- Microwave heating of beverages can result in delayed eruptive boiling, therefore care must be taken when handling the container;
- The contents of feeding bottles and baby food jars shall be stirred or shaken and the temperature checked before consumption, in order to avoid burns;
- Eggs in their shell and whole hard-boiled eggs should not be heated in microwave ovens since they may explode, even after microwave heating has ended;
- When cleaning surfaces of the door, door seal, and cavity of the oven, use only mild, nonabrasive soaps, or detergents applied with a sponge or soft cloth.
- The oven should be cleaned regularly and any food deposits removed;
- Failure to maintain the oven in a clean condition could lead to deterioration of the surface that could adversely affect the life of the appliance and possibly result in a hazardous situation;
- If the supply cord is damaged, it must be replaced by the manufacturer, its service agent, or similarly qualified persons in order to avoid a hazard.
- Do not let the cord hang over the edge of the table or worktop.
- Never connect this appliance to an external timer switch or remote control system in order to avoid a hazardous situation.
- Never replace the light bulb inside the oven. It must always be replaced by Mora service.
- Do not clean the appliance with steam cleaners, high-pressure cleaners, sharp objects, abrasive cleaning agents, abrasive sponges and stain removers.
SAFETY INSTRUCTIONS FOR GENERAL USE
Listed below are, as with all appliances, certain rules to follow and safeguards to assure top performance from this oven:
- Always have the glass tray, roller arms, coupling, and roller track in place when operating the oven.
- Do not use the oven for any reason other than food preparation, such as for drying clothes, paper, or any other non-food items, or for sterilizing purposes.
- Do not operate the oven when empty. This could damage the oven.
- Do not use the oven cavity for any type of storage, such as papers, cookbooks, etc.
- Do not cook any food surrounded by a membrane, such as egg yolks, potatoes, chicken livers, etc without first being pierced several times with a fork.
- Do not insert any object into the openings on the outer case.
- Do not at any time remove parts from the oven such as the feet, coupling, screws, etc.
- Do not cook food directly on the glass tray. Place food in/on proper cooking utensils before placing it in the oven. IMPORTANT COOKWARE NOT TO USE IN YOUR MICROWAVE OVEN
– Do not use metal pans or dishes with metal handles.
– Do not use anything with metal trim.
– Do not use paper-covered wire twist-ties on plastic bags.
– Do not use melamine dishes as they contain a material that will absorb microwave energy. This may cause the dishes to crack or char and will slow down the cooking speed.
– Do not use Centura Tableware. The glaze is not suitable for microwave use. Corelle Livingware closed handle cups should not be used.
– Do not cook in a container with a restricted opening, such as a pop bottle or sealed oil bottle, as they may explode if heated in a microwave oven.
– Do not use conventional meat or candy thermometers.
– There are the thermometers available specifi cally for microwave cooking. These may be used. - Microwave utensils should be used only in accordance with the manufacturer’s instructions.
- Do not attempt to deep-fry foods in this oven.
- Please remember that a microwave oven only heats the liquid in a container rather than the container itself. Therefore, even though the lid of a container is not hot to the touch when removed from the oven, please remember that the food/liquid inside will be releasing the same amount of steam and/or spitting when the lid is removed as in conventional cooking.
- Always test the temperature of cooked food yourself especially if you are heating or cooking food/ liquid for babies. It is advisable never to consume food/liquid straight from the oven but allow it to stand for a few minutes and stir food/liquid to distribute heat evenly.
- Food containing a mixture of fat and water, e.g.stock, should stand for 30-60 seconds in the oven after it has been turned off. This is to allow the mixture to settle and to prevent bubbling when a spoon is placed in the food/liquid or a stock cube is added.
- When preparing/cooking food/liquid and remember that there are certain foods, e.g. Christmas puddings, jam, and mincemeat, which heat up very quickly. When heating or cooking foods with a high fat or sugar content do not use plastic containers.
- Cooking utensils may become hot because of heat transferred from the heated food. This is especially true if the plastic wrap has been covering the top and handles of the utensil. Potholders may be needed to handle the utensil.
- To reduce the risk of fire in the oven cavity:
a) Do not overcook food. Carefully attend microwave oven if paper, plastic, or other combustible materials are placed inside the oven to facilitate cooking.
b) Remove wire twist-ties from bags before placing the bag in the oven.
c) If materials inside the oven should ignite, keep the oven door closed, turn the oven off at the wall switch, or shut off power at the fuse or circuit breaker panel.
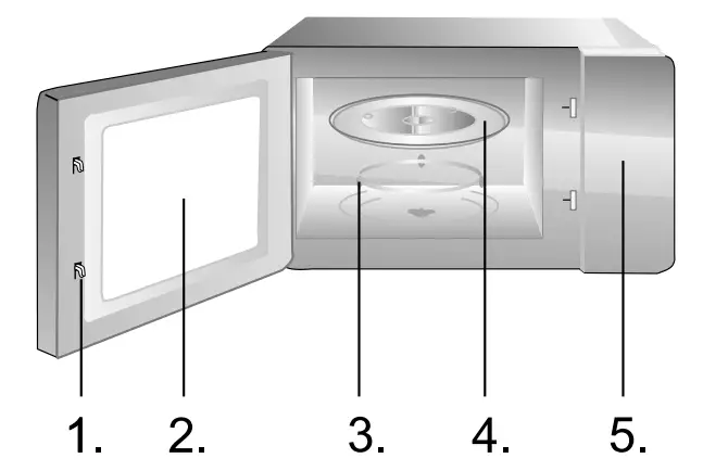
CONTROL PANEL
Cooking Power Control knob
Timer Knob (0-35 Minutes)
![]() | ![]() |
| 1. Door Safety Lock System | 4. Glass Tray |
| 2. Oven Window | 5. Control Panel |
| 3. Roller Ring |
OPERATION INSTRUCTION
STOPPING THE COOKING
- To stop temporarily; Open the door. Result: Cooking stops. To resume cooking close the door.
- To stop completely: turn the Timer knob to »0«.
DEFROST COOKING
The defrost feature enables you to defrost meat, poultry, and fish. First, place the frozen food in the center of the cavity and close the door.
- Turn the Cooking Power Control knob to DEFROST.
- Turn the Timer knob to select the appropriate time. The oven light comes on.
NOTE: The microwave will run through the time set. An acoustic signal sound when the time expires. You can change the cooking time whenever you like.
MICROWAVE COOKING
The following procedure explains how to cook or reheat food. Always check your cooking settings before leaving the oven unattended. First place the food in the center of the cavity and close the door.
- Set the power level by turning the Cooking Power Control knob.
- Set the time by turning the Timer knob. The oven light comes on.
NOTE: The microwave will run through the time set. An acoustic signal sound when the time expires. You can change the cooking time whenever you like.
CARE OF YOUR MICROWAVE OVEN
- Turn the oven off and remove the power plug from the wall socket before cleaning.
- Keep the inside of the oven clean. When food splatters or spilled liquids adhere to oven walls, wipe with a damp cloth. The use of harsh detergent or abrasives is not recommended.
- The outside oven surface should be cleaned with a damp cloth. To prevent damage to the operating parts inside the oven, water should not be allowed to seep into the ventilation openings.
- Do not allow the Control Panel to become wet. Clean with a soft, damp cloth, Do not use detergents, abrasives, or spray-on cleaners on the control panel.
- If steam accumulates inside or around the outside of the oven door, wipe with a soft cloth. This may occur when the microwave oven is operated under high humidity conditions and in no way indicates a malfunction of the unit.
- It is occasionally necessary to remove the glass tray for cleaning. Wash the tray in warm sudsy water or in a dishwasher.
- The roller ring and oven cavity floor should be cleaned regularly to avoid excessive noise. Simply wipe the bottom surface of the oven with mild detergent, water or window cleaner and dry. The roller ring may be washed in mild sudsy water or dishwasher. Cooking vapors collect during repeated use but in no way affect the bottom surface or roller ring wheels. When removing the roller ring from the cavity floor for cleaning, be sure to replace it in the proper position.
- Remove odors from your oven by combining a cup of water with the juice and skin of one lemon in a deep microwaveable bowl. Microwave for 5 minutes, wipe thoroughly, and dry with a soft cloth.
ENVIRONMENT
Do not throw away the appliance with the normal household waste at the end of its life, but hand it in at an official collection point for recycling. By doing this, you help to preserve the environment.
MOUNTING THE MICROWAVE OVEN
INSTALLATION
- Make sure all the packing materials are removed from the inside of the door.
- Inspect the oven after unpacking for any visual damage such as:
– Misaligned Door
– Damaged Door
– Dents or Holes in Door Window and Screen
– Dents in Cavity
If any of the above are visible, DO NOT use the oven. - This Microwave Oven weighs 15 kg and must be placed on a horizontal surface strong enough to support this weight.
- The oven must be placed away from high temperature and steam.
- DO NOT place anything on top of the oven.
- DO NOT remove the turn-table drive shaft.
- As with any appliance, close supervision is necessary when used by children.
- Make sure that the AC outlet is easily accessible so that the plug can be removed quickly in an emergency.
Otherwise, it should be possible to disconnect the device using a switch from the circuit. In this case, the existing provisions of the electrical safety standards are considered.
The product has to be correctly installed on the earthed socket with a single-phase AC (230 V~50 Hz).
WARNING! THIS APPLIANCE MUST BE EARTHED! - This oven requires 1.25 kW for its input consultation with a service engineer is suggested when installing the oven.
CAUTION: This oven is protected internally by a 250V, 10 Amp Fuse.
SPECIFICATIONS
Power consumption …………………………………………230V~50Hz,1250W
Output power ………………………………………………………………………….. 800W
Operating Frequency ………………………………………………………..2450MHz
Outside Dimensions …….. 595mm(W)x388mm(H)x343.5mm(D)
Oven Capacity ……………………………………………………………………….20 liters
Uncrated Weight ……………………………………………………….. Approx. 15 kg
Noise level …………………………………………………………………..Lc < 58 dB (A)
Turntable diameter ……………………………………………………………….245 mm
This appliance is marked according to the European directive 2012/19/EU on Waste Electrical and Electronic Equipment (WEEE).
This guideline is the frame of a European-wide validity of return and recycling of Waste Electrical and Electronic Equipment.
RADIO INTERFERENCE
Microwave oven may cause interference to your radio, TV, or similar equipment. When interference occurs, it may be eliminated or reduced by the following procedures.
a) Clean the door and sealing surface of the oven.
b) Place the radio, TV, etc. as far away from your microwave oven as possible.
c) Use a properly installed antenna for your radio, TV, etc. to get a strong signal reception.
WE RESERVE THE RIGHT TO MAKE ANY CHANGES THAT DO NOT AFFECT THE FUNCTIONALITY OF THE APPLIANCE.
BUILT-IN CABINET

INSTALL THE OVEN

BEFORE YOU CALL FOR SERVICE
- If the oven will not perform at all, the information on the display does not appear or the display disappeared:
a) Check to ensure that the oven is plugged in securely.
If it is not, remove the plug from the outlet, wait 10 seconds, and plug it in again securely.
b) Check the premises for a blown circuit fuse or a tripped main circuit breaker. If these seem to be operating properly, test the outlet with another appliance. - If the microwave power will not function:
a) Check to see whether the timer is set.
b) Check to make sure that the door is securely closed to engage the safety interlocks. Otherwise, the microwave energy will not flow into the oven.
If none of the above rectifies the situation, then contact the nearest authorized service agent.
The appliance for household use for heating food and beverages using electromagnetic energy, for indoor use only.
GUARANTEE & SERVICE
If you need information or if you have a problem, please contact the Mora Customer Care Centre in your country (you fi nd its phone number in the worldwide guarantee leaflet). If there is no Customer Care Centre in your country, go to your local Mora dealer or contact the Service department of Mora domestic appliances.
For personal use only!
WISHES YOU A LOT OF PLEASURE WHILE USING YOUR APPLIANCE





















