basics
OPERATOR MANUAL
Version 2.1
Rankin Basics Manual Rotary Microtome
MCT25
Attention: Before using the instrument, please read this instruction carefully, and keep the Instruction for further reference.
Please refer to the nameplate on the back of the instrument for the serial number and manufacturing date of the instrument.
OVERVIEW
The Rankin Basics rotary microtome MCT25 is a manually operated rotary microtome for use in routine and research laboratories in the fields of biology, medicine, and industry.
It is designed for sectioning paraffin-embedded specimens. Any other use of the instrument is considered improper.
- This instrument should be operated by trained laboratory personnel only.
- All laboratory personnel designated to operate this instrument must read the Operator Manual carefully and must be familiar with all technical features of the instrument before attempting to operate it.
Front/Side View

SAFETY
Be sure to comply with the safety instructions and warnings provided in this section.
Be sure to read these instructions, even if you are already familiar with the operation and use of other similar products.
Note: The safety devices installed in this instrument by the manufacturer only constitute the basis for accident prevention. Accident-free operation is, above all, the primary responsibility of the owner of the instrument and the designated personnel who operates, service, or clean the instrument.
To ensure the trouble-free operation of the instrument, make sure to comply with the following instructions and warnings.
Warnings – Transport and installation
- Once removed from the crate, the instrument may only be transported in an upright position.
- Never lift the instrument by the handwheels or the cassette clamp. Always remove the section waste tray before transporting the instrument.
- Exposure to extreme temperature changes between storage and installation locations and high air humidity may cause condensation inside the instrument. If this is the case, wait at least 2 hours before using the instrument. Failure to comply with this may cause damage to the instrument.
- The protective devices on both instruments and accessories must neither be removed nor modified.
Warnings – Personal safety precautions
When working with microtomes, personal safety precautions must always be taken. It is mandatory to wear work safety shoes, safety gloves, a mask, and safety goggles.
Warnings – Operating the instrument
- Be very careful when handling microtome knives and disposable blades because their cutting edge is extremely sharp.
- Always remove the knife/blade before detaching the knife holder from the instrument. Always put the knives back into the knife case when not in use.
- Never place a knife anywhere with the cutting edge facing upwards and never try to catch a falling knife!
- Always clamp the specimen block PRIOR TO clamping the knife or blade.
- Lock the handwheel and cover the knife edge with the knife guard prior to any manipulation of the knife or specimen clamp, prior to changing the specimen block, and during all work breaks!
- Always take appropriate safety precautions when sectioning brittle specimens because the specimen may splinter.
- Ensure that liquids do not enter the interior of the instrument during work.
- Do not attempt to clamp, approach, or orient the specimen during the retraction phase.
- Prior to sectioning, check that the specimen is securely clamped in the specimen clamp –failure to observe this poses the risk of damaging the specimen.
Warnings – Cleaning and Maintenance
- LOCK the handwheel before each cleaning.
- Before each cleaning, remove the knife holder completely and clean it separately.
- Always remove the blade before detaching the knife holder from the instrument.
- Do not use any solvents containing acetone or xylene for cleaning.
- Ensure that no liquids enter the interior of the instrument when cleaning.
- Only authorized and qualified service personnel may access the internal components of the instrument for service and repair.
TECHNICAL SPECIFICATIONS
Section thickness range:1 to 60 μm
1 —2 μm; Increments of 0.5 μm
2 —10 μm; Increments of 1 μm
10—20 μm; Increments of 2 μm
20—60 μm; Increments of 5 μm
Trimming thickness range:0 from 60 μm
Retraction range:0 to 28 μm
Total horizontal specimen feed: 29mm
Vertical specimen stroke: 60mm
The movement range of the base of the blade holder: 0-60 mm (front to back)
The movement range of the blade press plate: 0-23 mm
Maximum Specimen Size: 60×70mm
Specimen Orientation: XY – 8°
Precision Error: ±1%
Dimensions: 570×440×290mm (W×D×H)
Net weight: 28kg
Appurtenances
- Direction for specimen adjustment: Up/Down and Right/Left
- Forward/Backward: ±65 mm
- Left/Right: ±40 mm
UNPACKING, TRANSPORTATION, AND STORAGE
4.1 Unpacking
- Open the crate, and take out all accessories and the user manual. Note: The transport crate and included retaining elements should be kept in case a return shipment is necessary later.
- Lift the instrument by holding it by the base plate and under the instrument on the back and lift it out of the formed cushion.
Do not hold the main and small handwheels and handles to lift the instrument!
4.2 Transportation
To guarantee the trouble-free function of the instrument after transportation, please follow the instructions below for transportation:
- Remove all section waste debris and movable parts from the instrument.
- Clean and disinfect all accessories according to the respective applicable lab regulations and transport them in dry condition.
- Unscrew the handwheel handle for transportation if necessary.
Note
Use original packaging materials for transportation of the instrument. If the original packaging is no longer available, please contact customer service via [email protected].
4.3 Storage
Storage conditions:
Storage environment: 0℃~40℃
Relative humidity should be lower than 80%
Atmospheric pressure 860hpa~1060hpa
A clean room without corrosive gas and well ventilated
INSTALLATION
5.1 Instrument placement/working site requirements
- Place the instrument on a stable laboratory table.
- The room temperature is permanently between + 10 °C and + 35 °C.
- Obstruction-free access to the handwheel.
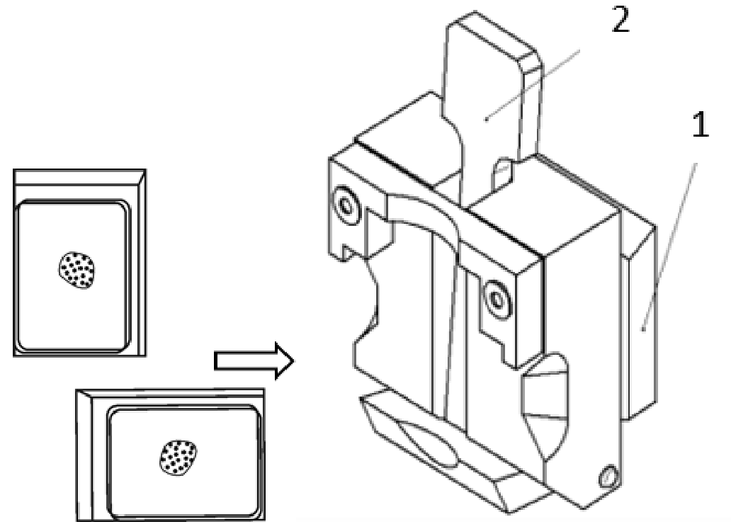
5.2 Assembling the Specimen Clamp
![]() | |
| Quick Cassette Clamp 1. Clamping mechanism 2. Quick cassette release lever | Specimen clamp base 4. Clamp lock lever 5. Clamping slot 6. Adjustment knobs |
| |
Standard Specimen Clamp | |
If the specimen clamp is not installed in the instrument or the user needs to install a new one, please follow the procedures below:
- Lock the handwheel.
- First, loosen the clamp lock lever (4), and slide the clamping mechanism (1) into the clamp lock slot (5).
- The specimen clamp is adjusted to the desired position using the three adjustment knobs (6), and then lock the clamp lock lever (4).
- Move the quick cassette release lever (2) forward (for Quick Cassette Clamp) or turn the clamp lock knob (2) (for Standard Cassette Clamp) to place the specimen cassette in either direction (as shown in the picture below), and then move the lever or knob (2) to secure the cassette.

5.3 Assembling the blade holder and base
Do not insert the disposable blade when the blade holder is not firmly installed! ALWAYS remove the disposable blade before replacing the blade holder.

Steps:
- Slide the base (8) onto the dovetail rail (7). Tighten the base (8) by turning the base lock lever (1) clockwise.
- Turn the lateral movement lever (4) counterclockwise to assemble the blade holder top (6) onto the segmented arc (10), which is then locked by turning the lateral movement lever (4) clockwise.
- Use an Allen wrench (provided) to loosen the segment arc screw (9) and assemble the segmented arc (10) of the blade holder onto the base (8).
- After properly adjusting the angle (about 5°- 8°), tighten the segment arc screw (9) to firmly fix the assembly.
- When installing the disposable blade, loosen the blade lock lever (2), insert and push the blade into the slot from the side, then tighten the blade lock lever (2).
- When replacing the blade, first loosen the blade lock lever (2), pull up the blade guard (6), and push the ejection button (5) to remove the blade.
5.4 Assembling the Section Waste Tray
The waste tray can be installed horizontally along the base and pushed from the outside to the inside.
OPERATION
7.1 Specimen cassette and blade insertion
The handwheel must be locked before inserting the specimen clamp and blade!
Please pay extra attention during the operation following the instruction below as the sharp blade might cause serious injury!
- To improve sectioning performance, the paraffin tissue block can be pre-frozen prior to the insertion onto the specimen clamp.
- Turn the handwheel to move the specimen to the backward utmost position.
- Insert the blade into the blade holder and firmly secure it.
7.2 Section thickness setting
The desired section or trimming thickness can be set by turning the knob (1) located on the right top of the front and displayed on the window (2) next to the knob.

7.3 Trimming
- Slowly turn the handwheel (1) located on the left side of the microtome to move the specimen towards the blade according to the indication of the arrowhead.
- When the specimen is at the highest position, turn the main big handwheel located on the right side of the microtome for trimming.
- Do this repeatedly until the ideal specimen surface is acquired.

7.4 Sectioning
The desired section thickness can be set using the thickness adjustment knob located on the right upside of the instrument as described above.
- Adjust the cutting angle (from 0°to 8°) to ensure the best cutting performance, normally starting from a small angle. The harder the specimen, the bigger the cutting angle.
- The marked line on the right of the blade holder base indicates the cutting angles.
- Evenly turn the main hand wheel to section the specimen.
Note:
- The rotation of the handwheel should be even, and the rotation speed should be compatible with the hardness of the specimen. The speed should be slower when sectioning harder specimens.
- To ensure satisfactory section quality, the recommended practice is to evenly rotate the handwheel clockwise for a full circle.

6.5 After sectioning
- Carefully remove the blade from the holder and place it in the blade box following the laboratory safety regulations.
- Take the specimen out from the clamp.
- Remove the section debris from the instrument.
- Remove the waste tray and clean up the waste debris.
TROUBLESHOOTING
| Problem | Cause | Suggestion |
| Thick/thin sections: The sections alternate between being thick and thin, or there is chattering in the sections, or the specimen is torn out of the embedding. In extreme cases, there are no sections. | 1. Blade, knife holder, or orientation is not clamped properly. 2. The specimen is not clamped properly. 3. The blade is dull. | 1. Re-clamp the blade, knife holder, or orientation. 2. Check whether the cassette is securely clamped. • Clean the cassette. • Use other types of cassettes if the cassette is deformed or its dimensions are not within the specified tolerances. • The cassette clamp is configured incorrectly or is defective. In this case, have Technical Service inspect and reconfigure the clamp. 3. Laterally displace the knife holder or insert a new blade. |
| Section compression: The sections are very compressed, show folds, or are squeezed together. | 1. The blade is dull. 2. The specimen is too warm. 3. The sectioning speed is too fast. | 1. Use another area of the blade or a new blade. 2. Cool the specimen before sectioning. 3. Reduce the sectioning speed. |
| Noises during sectioning: The blade “squeaked ” when sectioning hard specimens. The sections show scratches or chatter marks. | 1. The sectioning speed is too fast. 2. The clearance angle is too wide. 3. Insufficient clamping of specimen clamp and/or blade holder. | 1. Reduce the sectioning speed. 2. Methodically reduce the clearance angle setting until you have found the optimum angle. 3. Check all screw and clamp connections on the specimen holder system and the knife holder. If necessary, tighten the levers and screws. |
| The cutting cannot be started. | The specimen has reached the extreme position of the front end. | Rock the small handwheel to return the specimen to the beginning. |
CLEANING AND MAINTENANCE
Warnings
- Always remove the blade before detaching the blade holder from the instrument.
- Always put the knives/blades back into the knife case when not in use. Never place a knife anywhere with the cutting edge facing upwards and NEVER try to catch a falling knife!
- When using cleaners, comply with the safety instructions of the manufacturer and the laboratory safety regulations.
- When cleaning the outer surfaces, do not use xylene, scouring powders, or solvents containing acetone or xylene. Xylene or acetone will damage the finished surfaces.
- Ensure that liquids do not enter the interior of the instrument during cleaning.
8.1 Cleaning
Before each cleaning:
- Raise the specimen clamp to the upper-end position and activate the handwheel lock.
- Switch the instrument off and unplug it.
- Remove the blade from the blade holder and insert it into a safe dispenser or another safe place.
- Remove knife holder base and knife holder for cleaning.
- Remove the specimen from the specimen clamp.
- Remove section waste with a dry brush.
- Remove specimen clamp and clean separately.
Instrument and outside surfaces
- If necessary, the varnished outside surfaces of the control panels can be cleaned with a mild commercial household cleaner or soap water and then be wiped with a moist cloth.
- To prevent paraffin from sticking to the surface, paraffin repellent can be used; to remove paraffin residue, xylene substitutes, paraffin oil, or paraffin removers can be used.
- The instrument must be completely dry before it can be used again.
Blade holder
- Take the blade holder apart for cleaning.
- Clean all parts of the holder. For cleaning and removal of paraffin, do not use xylene or cleaning fluids containing alcohol (e.g., glass cleaner).
- Dry the holder and reassemble.
- After cleaning the moving parts, apply a thin coat of good quality lubricant oil to them.
WARRANTY AND SERVICE
The manufactory guarantees that the contractual product delivered has been subjected to a comprehensive quality control procedure based on the in-house testing standards, and that the product is faultless and complies with all technical specifications and/or agreed characteristics warranted.
As the product is constantly updated, we reserve the right to update the product without prior notice.
What your warranty covers:
- Defects in materials or workmanship that occur under normal use and care.
For how long after your purchase:
- Two years from the date of shipment.
What we will do:
- Repair or replace your product.
How you get service:
- Locate your serial number and model > contact our customer service at [email protected] to open a service ticket.
What your warranty does not cover:
- Damage from misuse or neglect
- Products purchased from non-authorized retailers, dealers, or resellers
Limitation of Warranty:
- The warranty stated above is the only warranty applicable to this product. All other warranties, express or implied (including all implied warranties of merchantability or fitness for a particular purpose) are hereby disclaimed.
- Repair or replacement as provided under this warranty is the exclusive remedy of the consumer. The manufacturer shall not be liable for incidental or consequential damages resulting from the use of this product or arising out of any breach of any express or implied warranty on this product. Any implied warranty of merchantability or fitness for a particular purpose on this product is limited to the applicable warranty period set forth above.
ACCESSORY LIST
| Description | Qty. | Special Note | Part Number |
| Base Unit | 1 | MCT25 | |
| Disposable Blade Holder, Full Assembly | 1 | 2-in-1 low and high profile | RAN MCT-DBH2in1 |
| Disposable Blade Holder, Top Only | 2-in-1 low and high profile | RAN MCT-DBH2in1-T | |
| Permanent Knife Holder | RAN MCT-PKH | ||
| Quick Cassette Clamp | 1 | RAN MCT-QCC | |
| Specimen Vice Clamp | RAN MCT-VC | ||
| Head Orienting Mount | 1 | RAN MCT25-HOM | |
| Dust Cover | 1 | RAN DC25 | |
| Waste Tray | 1 | RAN WT25 |
BUILD A BETTER LAB



















