makita TD003GZ XGT Cordless Impact Wrench
SPECIFICATIONS
| Model: | TD003G | |
| Fastening capacities | Machine screw | M4-M8 |
| Standard bolt | M5- M16 | |
| High tensile bolt | M5 – M14 | |
| No load speed (RPM) | 4 (Max impact mode) | 0 – 3,700 mi-n 1 |
| 3 (Hard impact mode) | 0 – 3,200 mi-n 1 | |
| 2 (Medium impact mode) | 0 – 2,100 mi-n 1 | |
| 1 (Soft impact mode) | 0 – 1,100 mi-n 1 | |
| T mode | 0 – 2,400 mi-n1 | |
| Impacts per minute | 4 (Max impact mode) | 0 – 4,100 mi-n 1 |
| 3 (Hard impact mode) | 0 – 3,600 mi-n 1 | |
| 2 (Medium impact mode) | 0 – 2,600 mi-n 1 | |
| 1 (Soft impact mode) | 0 – 1,400 mi-n 1 | |
| T mode | – | |
| Rated voltage | D.C. 36 V – 40 V max | |
| Overall length | 121 mm | |
| Net weight | 1.7 – 2.9 kg | |
- Due to our continuing program of research and development, the specifications herein are subject to change without notice.
- Specifications may differ from country to country.
- The weight may differ depending on the attachment(s), including the battery cartridge. The lightest and heaviest combinations, according to EPTA-Procedure 01/2014, are shown in the table.
Applicable battery cartridge and charger
| Battery cartridge | BL4020* / BL4025* / BL4040* / BL4050F / BL4080F * : Recommended battery |
| Charger | DC40RA / DC40RB / DC40RC |
- Some of the battery cartridges and chargers listed above may not be available depending on your region of residence.
WARNING: Only use the battery cartridges and chargers listed above. Use of any other battery cartridges and chargers may cause injury and/or fire.
Intended use
The tool is intended for screw driving in wood, metal and plastic.
Noise
The typical A-weighted noise level determined according to EN62841-2-2:
Sound pressure level (LpA) : 95 dB (A)
Sound power level (LWA) : 106 dB (A)
Uncertainty (K) : 3 dB (A)
NOTE: The declared noise emission value(s) has been measured in accordance with a standard test method and may be used for comparing one tool with another.
NOTE: The declared noise emission value(s) may also be used in a preliminary assessment of exposure.
WARNING: Wear ear protection.
WARNING: The noise emission during actual use of the power tool can differ from the declared value(s) depending on the ways in which the tool is used especially what kind of workpiece is processed.
WARNING: Be sure to identify safety measures to protect the operator that are based on an estimation of exposure in the actual conditions of use (taking account of all parts of the operating cycle such as the times when the tool is switched off and when it is running idle in addition to the trigger time)
Vibration
The vibration total value (tri-axial vector sum) determined according to EN62841-2-2: Work mode: impact tightening of fasteners of the maximum capacity of the tool
Vibration emission (ah) : 11.9 m/s2
Uncertainty (K) : 1.5 m/s2
NOTE: The declared vibration total value(s) has been measured in accordance with a standard test method and may be used for comparing one tool with another.
NOTE: The declared vibration total value(s) may also be used in a preliminary assessment of exposure.
WARNING: The vibration emission during actual use of the power tool can differ from the declared value(s) depending on the ways in which the tool is used especially what kind of workpiece is processed.
WARNING: Be sure to identify safety measures to protect the operator that are based on an estimation of exposure in the actual conditions of use (taking account of all parts of the operating cycle such as the times when the tool is switched off and when it is running idle in addition to the trigger time).
EC Declaration of Conformity
For European countries only
The EC declaration of conformity is included as Annex A to this instruction manual.
SAFETY WARNINGS
General power tool safety warnings
WARNING: Read all safety warnings, instructions, illustrations and specifications provided with this power tool. Failure to follow all instructions listed below may result in electric shock, fire and/or serious injury.
Save all warnings and instructions for future reference.
The term “power tool” in the warnings refers to your mains-operated (corded) power tool or battery-operated (cordless) power tool
Cordless impact driver safety warnings
- Hold the power tool by insulated gripping surfaces, when performing an operation where the fastener may contact hidden wiring. Fasteners contacting a “live” wire may make exposed metal parts of the power tool “live” and could give the operator an electric shock.
- Always be sure you have a firm footing. Be sure no one is below when using the tool in high locations.
- Hold the tool firmly.
- Wear ear protectors.
- Do not touch the bit or the workpiece immediately after operation. They may be extremely hot and could burn your skin.
- Keep hands away from rotating parts.
- Use auxiliary handle(s), if supplied with the tool. Loss of control can cause personal injury.
- Hold the power tool by insulated gripping surfaces, when performing an operation where the cutting accessory may contact hidden wiring. Cutting accessory contacting a “live” wire may make exposed metal parts of the power tool “live” and could give the operator an electric shock.
- Make sure there are no electrical cables, water pipes, gas pipes etc. that could cause a hazard if damaged by use of the tool.
SAVE THESE INSTRUCTIONS.
WARNING: DO NOT let comfort or familiarity with product (gained from repeated use) replace strict adherence to safety rules for the subject product. MISUSE or failure to follow the safety rules stated in this instruction manual may cause serious personal injury.
Important safety instructions for battery cartridge
- Before using battery cartridge, read all instructions and cautionary markings on (1) battery charger, (2) battery, and (3) product using battery.
- Do not disassemble or tamper with the battery cartridge. It may result in a fire, excessive heat, or explosion.
- If operating time has become excessively shorter, stop operating immediately. It may result in a risk of overheating, possible burns and even an explosion.
- If electrolyte gets into your eyes, rinse them out with clear water and seek medical attention right away. It may result in loss of your eyesight.
- Do not short the battery cartridge:
(1) Do not touch the terminals with any conductive material.
(2) Avoid storing battery cartridge in a container with other metal objects such as nails, coins, etc.
(3) Do not expose battery cartridge to water or rain.
A battery short can cause a large current flow, overheating, possible burns and even a breakdown. - Do not store and use the tool and battery cartridge in locations where the temperature may reach or exceed 50 °C (122 °F).
- Do not incinerate the battery cartridge even if it is severely damaged or is completely worn out. The battery cartridge can explode in a fire.
- Do not nail, cut, crush, throw, drop the battery cartridge, or hit against a hard object to the battery cartridge. Such conduct may result in a fire, excessive heat, or explosion.
- Do not use a damaged battery
- The contained lithium-ion batteries are subject to the Dangerous Goods Legislation requirements. For commercial transports e.g. by third parties, forwarding agents, special requirement on packaging and labeling must be observed.
For preparation of the item being shipped, consulting an expert for hazardous material is required. Please also observe possibly more detailed national regulations.
Tape or mask off open contacts and pack up the battery in such a manner that it cannot move around in the packaging. - When disposing the battery cartridge, remove it from the tool and dispose of it in a safe place. Follow your local regulations relating to disposal of battery.
- Use the batteries only with the products specified by Makita. Installing the batteries to non-compliant products may result in a fire, excessive heat, explosion, or leak of electrolyte.
- If the tool is not used for a long period of time, the battery must be removed from the tool.
- During and after use, the battery cartridge may take on heat which can cause burns or low temperature burns. Pay attention to the handling of hot battery cartridges.
- Do not touch the terminal of the tool immediately after use as it may get hot enough to cause burns.
- Do not allow chips, dust, or soil stuck into the terminals, holes, and grooves of the battery cartridge. It may cause heating, catching fire, burst and malfunction of the tool or battery cartridge, resulting in burns or personal injury.
- Unless the tool supports the use near high-voltage electrical power lines, do not use the battery cartridge near a high-voltage electrical power lines. It may result in a malfunction or breakdown of the tool or battery cartridge. 18. Keep the battery away from children.
SAVE THESE INSTRUCTIONS.
CAUTION: Only use genuine Makita batteries.
Use of non-genuine Makita batteries, or batteries that have been altered, may result in the battery bursting causing fires, personal injury and damage. It will also void the Makita warranty for the Makita tool and charger.
Tips for maintaining maximum battery life
- Charge the battery cartridge before completely discharged. Always stop tool operation and charge the battery cartridge when you notice less tool power.
- Never recharge a fully charged battery cartridge. Overcharging shortens the battery service life.
- Charge the battery cartridge with room temperature at 10 °C – 40 °C (50 °F – 104 °F). Let a hot battery cartridge cool down before charging it.
- When not using the battery cartridge, remove it from the tool or the charger.
- Charge the battery cartridge if you do not use it for a long period (more than six months).
FUNCTIONAL DESCRIPTION
CAUTION: Always be sure that the tool is switched off and the battery cartridge is removed before adjusting or checking function on the tool.
Installing or removing battery cartridge
CAUTION: Always switch off the tool before installing or removing of the battery cartridge.
CAUTION: Hold the tool and the battery cartridge firmly when installing or removing battery cartridge. Failure to hold the tool and the battery cartridge firmly may cause them to slip off your hands and result in damage to the tool and battery cartridge and a personal injury.
To remove the battery cartridge, slide it from the tool while sliding the button on the front of the cartridge.
► Fig.1:
- Red indicator
- Button
- Battery cartridge
To install the battery cartridge, align the tongue on the battery cartridge with the groove in the housing and slip it into place. Insert it all the way until it locks in place with a little click. If you can see the red indicator as shown in the figure, it is not locked completely.
CAUTION: Always install the battery cartridge fully until the red indicator cannot be seen. If not, it may accidentally fall out of the tool, causing injury to you or someone around you.
CAUTION: Do not install the battery cartridge forcibly. If the cartridge does not slide in easily, it is not being inserted correctly
Indicating the remaining battery capacity
Press the check button on the battery cartridge to indicate the remaining battery capacity. The indicator lamps light up for a few seconds.
► Fig.2:
- Indicator lamps
- Check button

| Indicator lamps | Remaining capacity | ||
|
|
| |
![]() | 75% to 100% | ||
![]() | 50% to 75% | ||
![]() | 25% to 50% | ||
![]() | 0% to 25% | ||
![]() | Charge the battery. | ||
![]() | The battery may have malfunctioned. | ||
NOTE: Depending on the conditions of use and the ambient temperature, the indication may differ slightly from the actual capacity.
NOTE: The first (far left) indicator lamp will blink when the battery protection system works.
Tool / battery protection system
The tool is equipped with a tool/battery protection system. This system automatically cuts off power to the motor to extend tool and battery life. The tool will automatically stop during operation if the tool or battery is placed under one of the following conditions:
Overload protection
When the battery is operated in a manner that causes it to draw an abnormally high current, the tool automatically stops without any indication. In this situation, turn the tool off and stop the application that caused the tool to become overloaded. Then turn the tool on to restart.
Overheat protection
When the tool or battery is overheated, the tool stops automatically. In this case, let the tool and battery cool before turning the tool on again.
NOTE: When the tool is overheated, the lamp blinks.
Over discharge protection
When the battery capacity is not enough, the tool stops automatically. In this case, remove the battery from the tool and charge the battery.
Protections against other causes
Protection system is also designed for other causes that could damage the tool and allows the tool to stop automatically. Take all the following steps to clear the causes, when the tool has been brought to a temporary halt or stop in operation.
- Turn the tool off, and then turn it on again to restart.
- Charge the battery (ies) or replace it/them with recharged battery (ies).
- Let the tool and battery (ies) cool down.
If no improvement can be found by restoring protection system, then contact your local Makita Service Center.
Switch action
CAUTION: Before installing the battery cartridge into the tool, always check to see that the switch trigger actuates properly and returns to the “OFF” position when released.
To start the tool, simply pull the switch trigger.
Tool speed is increased by increasing pressure on the switch trigger. Release the switch trigger to stop.
► Fig.3:
- Switch trigger

NOTE: The tool automatically stops if you keep pulling the switch trigger for about 6 minutes.
NOTE: While pulling the switch trigger, any other buttons do not work
Reversing switch action
CAUTION: Always check the direction of rotation before operation.
CAUTION: Use the reversing switch only after the tool comes to a complete stop. Changing the direction of rotation before the tool stops may damage the tool.
CAUTION: When not operating the tool, always set the reversing switch lever to the neutral position.
This tool has a reversing switch to change the direction of rotation. Depress the reversing switch lever from the A side for clockwise rotation or from the B side for counterclockwise rotation. When the reversing switch lever is in the neutral position, the switch trigger cannot be pulled.
► Fig.4:
- Reversing switch lever

Electric brake
This tool is equipped with an electric brake. If the tool consistently fails to quickly stop after the switch trigger is released, have the tool serviced at a Makita service center.
Lighting up the front lamp
CAUTION: Do not look in the light or see the source of light directly.
► Fig.5:
- Front lamp

Pull the switch trigger to turn on the front lamps. To turn off, release the switch trigger. The front lamps go out approximately 10 seconds after releasing the switch trigger.
To disable the front lamps, turn off the lamp status. To turn off the lamp status, first pull and release the switch trigger. Within 10 seconds after releasing the switch trigger, press and hold the button
for a few seconds. When the lamp status is off, the front lamps will not turn on even if the trigger is pulled.
To turn on the lamp status again, press and hold the button
for a few seconds.
► Fig.6:
- Button

- Switch panel

NOTE: When the tool is overheated, the front lamps flash for one minute, and then the switch panel goes off. In this case, cool down the tool before operating again.
NOTE: To confirm the lamp status, pull the trigger when the reversing switch lever is not in the neutral position. When the front lamps light up by pulling the switch trigger, the lamp status is on. When the front lamps do not light up, the lamp status is off.
NOTE: Use a dry cloth to wipe the dirt off the lens of the front lamps. Be careful not to scratch the lens of front lamps, or it may lower the illumination.
Light mode
You can use the tool as a handy light.
Turning on / off the light mode
To turn on the light, set the reversing switch lever in the neutral position and pull the switch trigger.
The lamp keeps lighting up for approximately one hour.
To turn off the light mode, pull the switch trigger again or depress the reversing switch lever.
NOTE: You cannot change the application mode while the light mode is on. The lamps on the switch panel do not turn on when the light mode is on.
NOTE: You cannot turn on/off the lamp status or change the application mode when the light mode is on.
NOTE: The light mode does not work when the tool/ battery protection system activates or the battery capacity is not enough.
Changing the application mode
What’s the application mode?
The application mode is the variation of the driving rotation and impact which are already preset in the tool.
By choosing a suitable application mode depending on the work, you can accomplish quicker work and/or more beautiful finish.
This tool features following application modes: Impact force
- 4 (Max)
- 3 (Hard)
- 2 (Medium)
- 1 (Soft)
- T mode
The application mode can be changed by the button
or button
.
► Fig.7:
- Button

- Button


NOTE: When none of the lamp on the panel is lit, pull the switch trigger once.
NOTE: You will not be able to change the application mode if you do not operate the tool for approximately one minute. In this case, pull the switch trigger once and press the button
or button
.
Changing the impact force
You can change the impact force in five steps: 4 (max), 3 (hard), 2 (medium), 1 (soft) and T mode.
This allows a tightening suitable to the work.
“T” is a special mode for fastening self-drilling screws. This mode helps to prevent the screws from over-tightening. It also accomplishes quick operation and good finish at the same time. The tool drives a screw with high-speed rotation and stops soon after the tool starts to impact.
The level of impact force changes every time you press the button
or button
.
You can change the impact force within approximately one minute after releasing the switch trigger.
NOTE: You can extend the time to change the impact force approximately one minute if you press the button
or button
.
► Fig.8
| Application mode (Impact force grade displayed on panel) | Maximum blows | Purpose | Example of application |
![]() | 4,100 min-1 (/min) | Tightening with the maximum force and speed. | Driving screws to underwork materials, tightening long screws or bolts. |
![]() | 3,600 min-1 (/min) | Tightening with less force and speed than Max mode (easier to control than Max mode). | Driving screws to underwork materials, tightening bolts. |
![]() | 2,600 min-1 (/min) | Tightening when a good finishing is needed. | Driving screws to finishing boards or plaster boards |
![]() | 1,400 min-1 (/min) | Tightening with less force to avoid screw thread breakage. | Tightening sash screws or small screws such as M6. |
![]() | (The tool stops rotating soon after impact starts.) | Driving self-drilling screws to a thin metal plate with good finish | Tightening self-drilling screws |
: The lamp is on.
* When the tool rotates counterclockwise, the impact per minute is the same as in 4 (max) mode, 4,100 min-1 (/min)
NOTE: When using T mode, the timing to stop the driving varies depending on the type of the screw and material to be driven. Make a test driving before using this mode.
NOTE: When none of the lamp on the panel is lit, pull the switch trigger once before pressing the button
or button
.
NOTE: All lamps on the switch panel go out when the tool is turned off to save the battery power. The impact force grade can be checked by pulling the switch trigger to the extent that the tool does not operate.
ASSEMBLY
CAUTION: Always be sure that the tool is switched off and the battery cartridge is removed before carrying out any work on the tool.
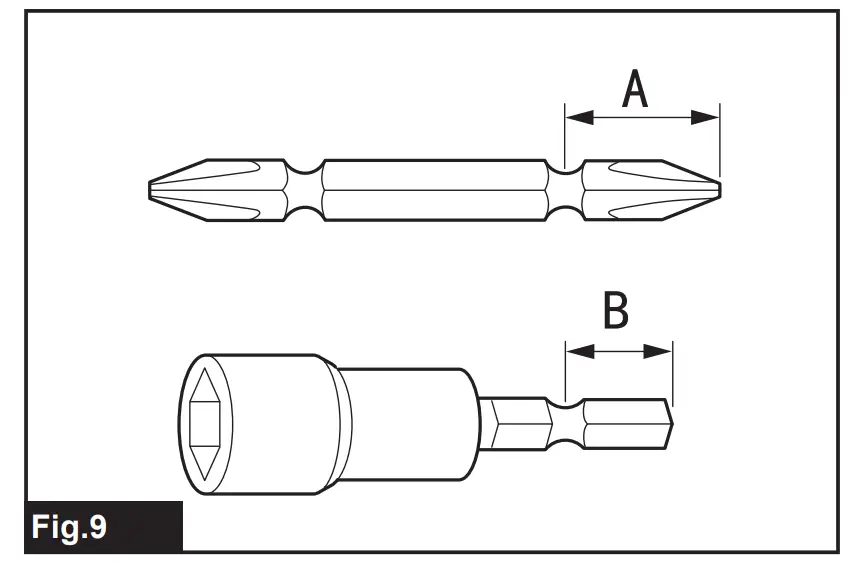
Installing or removing driver bit/ socket bit Use only driver bit/socket bit that has inserting portion shown in the figure. Do not use any other driver bit/ socket bit.
► Fig.9
For tool with shallow driver bit hole
| A=12mm B=9mm | Use only these types of driver bits. Follow the procedure 1. (Note) Bit-piece is not necessary. |
For tool with deep driver bit hole
| A=17mm B=14mm | To install these types of driver bits, follow the procedure 1. |
| A=12mm B=9mm | To install these types of driver bits, follow the procedure 2. (Note) Bit-piece is necessary for installing the bit. |
Procedure 1
For tool with one-touch type sleeve To install the driver bit, insert the driver bit into the sleeve as far as it will go.
► Fig.10:
- Driver bit 2. Sleeve

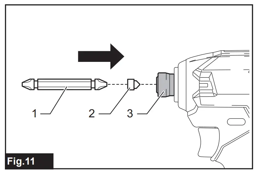
Procedure 2
In addition to Procedure 1, insert the bit-piece into the sleeve with its pointed end facing in.
► Fig.11:
- Driver bit
- Bit-piece 3
- Sleeve

To remove the driver bit, pull the sleeve in the direction of the arrow and pull the driver bit out.
► Fig.12:
- Driver bit
- Sleeve

NOTE: If the driver bit is not inserted deep enough into the sleeve, the sleeve will not return to its original position and the driver bit will not be secured. In this case, try re-inserting the bit according to the instructions above.
NOTE: When it is difficult to insert the driver bit, pull the sleeve and insert it into the sleeve as far as it will go.
NOTE: After inserting the driver bit, make sure that it is firmly secured. If it comes out, do not use it.
Installing hook
WARNING: Use the hanging/mounting parts for their intended purposes only, e.g., hanging the tool on a tool belt between jobs or work intervals.
WARNING: Be careful not to overload the hook as too much force or irregular overburden may cause damages to the tool resulting in personal injury.
CAUTION: When installing the hook, always secure it with the screw firmly. If not, the hook may come off from the tool and result in the personal injury.
CAUTION: Make sure to hang the tool securely before releasing your hold. Insufficient or unbalanced hooking may cause falling off and you may be injured.
The hook is convenient for temporarily hanging the tool.
This can be installed on either side of the tool. To install the hook, insert it into a groove in the tool housing on either side and then secure it with a screw. To remove, loosen the screw and then take it out.
► Fig.13:
- Groove
- Hook
- Screw

Using hole
WARNING: Never use the hanging hole for unintended purpose, for instance, tethering the tool at high location. Bearing stress in a heavily loaded hole may cause damages to the hole, resulting in injuries to you or people around or below you. Use the hanging hole at the bottom rear of the tool to hang the tool on a wall using a hanging cord or similar strings.
► Fig.14:
- Hanging hole

OPERATION
The proper fastening torque may differ depending upon the kind or size of the screw/bolt, the material of the workpiece to be fastened, etc. The relation between fastening torque and fastening time is shown in the figures.
► Fig.15
The relation between fastening torque and fastening time for standard bolt (when impact force is 4)
The relation between fastening torque and fastening time for high tensile bolt (when impact force is 4)
Hold the tool firmly and place the point of the driver bit in the screw head. Apply forward pressure to the tool to the extent that the bit will not slip off the screw and turn the tool on to start operation.
NOTICE: If you use a spare battery to continue the operation, rest the tool at least 15 min.
NOTE: Use the proper bit for the head of the screw/ bolt that you wish to use.
NOTE: When fastening M8 or smaller screw, choose a proper impact force and carefully adjust pressure on the switch trigger so that the screw is not damaged.
NOTE: Hold the tool pointed straight at the screw.
NOTE: If the impact force is too strong or you tighten the screw for a time longer than shown in the figures, the screw or the point of the driver bit may be overstressed, stripped, damaged, etc. Before starting your job, always perform a test operation to determine the proper fastening time for your screw.
The fastening torque is affected by a wide variety of factors including the following. After fastening, always check the torque with a torque wrench.
- When the battery cartridge is discharged almost completely, voltage will drop and the fastening torque will be reduced.
- Driver bit or socket bit Failure to use the correct size driver bit or socket bit will cause a reduction in the fastening torque.
- Bolt
● Even though the torque coefficient and the class of bolt are the same, the proper fastening torque will differ according to the diameter of bolt.
● Even though the diameters of bolts are the same, the proper fastening torque will differ according to the torque coefficient, the class of bolt and the bolt length. - The manner of holding the tool or the material of driving position to be fastened will affect the torque.
- Operating the tool at low speed will cause a reduction in the fastening torque.
MAINTENANCE
CAUTION: Always be sure that the tool is switched off and the battery cartridge is removed before attempting to perform inspection or maintenance.
NOTICE: Never use gasoline, benzine, thinner, alcohol or the like. Discoloration, deformation or cracks may result.
To maintain product SAFETY and RELIABILITY, repairs, any other maintenance or adjustment should be performed by Makita Authorized or Factory Service Centers, always using Makita replacement parts.
OPTIONAL ACCESSORIES
CAUTION: These accessories or attachments are recommended for use with your Makita tool specified in this manual. The use of any other accessories or attachments might present a risk of injury to persons. Only use accessory or attachment for its stated purpose.
If you need any assistance for more details regarding these accessories, ask your local Makita Service Center.
- Driver bits
- Socket bits
- Bit-piece
- Hook
- Tool hanger
- Plastic carrying case
- Makita genuine battery and charger
NOTE: Some items in the list may be included in the tool package as standard accessories. They may differ from country to country.
Makita Europe N.V
Jan-Baptist Vinkstraat 2,
3070 Kortenberg, Belgium
www.makita.com
885A11-997
EN, FR, DE, IT, NL,
ES, PT, DA, EL, TR
20220805














































