P06C1V1W
Free Standing Cooker
User Manual
P06C1V1W 60CM Single Cavity Electric Cooker
Thank you for choosing this product.
This User Manual contains important safety information and instructions on the operation and maintenance of your appliance.
Please take the time to read this User Manual before using your appliance and keep this book for future reference.
| Icon | Type | Meaning |
| WARNING | Serious injury or death risk | |
| RISK OF ELECTRIC SHOCK | Dangerous voltage risk | |
| FIRE | Warning; Risk of fire / flammable materials | |
![]() | CAUTION | Injury or property damage risk |
| IMPORTANT / NOTE | Operating the system correctly |
SAFETY INSTRUCTIONS
- Carefully read all instructions before using your appliance and keep them in a convenient place for reference when necessary.
- This manual has been prepared for more than one model therefore your appliance may not have some of the features described within. For this reason, it is important to pay particular attention to any figures whilst reading the operating manual.
1.1 General Safety Warnings
- This appliance can be used by children aged 8 years and above and by persons with reduced physical, sensory or mental capabilities or lack of experience and knowledge if they have been given supervision or instruction concerning the use of the appliance in a safe way and understand the hazards involved. Children should not play with the appliance. Cleaning and user maintenance should not be made by children without supervision.
WARNING: The appliance and its accessible parts become hot during use. Care should be taken to avoid touching heating elements. Keep children less than 8 years of age away unless they are continually supervised.![]()
WARNING: Unattended cooking on a hob with fat or oil can be dangerous and may result in fire. NEVER try to extinguish such a fire with water, but switch off the appliance and cover the flame with a lid or a fire blanket.
CAUTION: The cooking process has to be supervised. A short-term cooking process has to be supervised continuously![]()
WARNING: Danger of fire: Do not store items on cooking surfaces.![]()
WARNING: If the surface is cracked, switch off the appliance to avoid the possibility of electric shock.
- For models which incorporate a hob lid, clean any spillages off the lid before use and allow the cooker to cool before closing the lid.
- Do not operate the appliance with an external timer or a separate remote-control system.
WARNING: To prevent the appliance from tipping, the stabilizing brackets must be installed. (For detailed information refer to the anti-tilting kit set guide.)

- During use, the appliance will get hot. Care should be taken to avoid touching heating elements inside the oven.
- Handles may become hot after a short period of time during use.
- Do not use harsh abrasive cleaners or scourers to clean oven surfaces. They can scratch the surfaces which may result in shattering of the door glass or damage to surfaces.
- Do not use steam cleaners to clean the appliance.
![]()
WARNING: To avoid the possibility of electric shocks, make sure that the appliance is switched off before replacing the lamp.
CAUTION: Accessible parts may be hot when cooking or grilling. Keep young children away from the appliance when it is in use.
- Your appliance is produced in accordance with all applicable local and international standards and regulations.
- Maintenance and repair work should only be carried out by authorized service technicians. Installation and repair work that is carried out by unauthorized technicians may be dangerous. Do not alter or modify the specifications of the appliance in any way. Inappropriate hob guards can cause accidents.
- Before connecting your appliance, make sure that the local distribution conditions (nature of the gas and gas pressure or electricity voltage and frequency) and the specifications of the appliance are compatible. The specifications for this appliance are stated on the label.
CAUTION: This appliance is designed only for cooking food and is intended for indoor domestic household use only. It should not be used for any other purpose or in any other application, such as for non-domestic use, in a commercial environment, or for heating a room.
- Do not use the oven door handles to lift or move the appliance.
- All possible measures have been taken to ensure your safety. Since the glass may break, care should be taken while cleaning to avoid scratching. Avoid hitting or knocking the glass with accessories.
- Make sure that the supply cord is not trapped or damaged during installation. If the supply cord is damaged, it must be replaced by the manufacturer, its service agent, or similarly qualified persons in order to prevent a hazard.
- Do not let children climb on the oven door or sit on it while it is open.
- Please keep children and animals away from this appliance.
1.2 inStallation WarninGS
- Do not operate the appliance before it is fully installed.
- The appliance must be installed by an authorized technician. The manufacturer is not responsible for any damage that might be caused by incorrect placement and installation by unauthorized people.
- When the appliance is unpacked, make sure that it has not been damaged during transportation. In the case of a defect, do not use the appliance and contact a qualified service agent immediately. The materials used for packaging (nylon, staplers, styrofoam, etc.) may be harmful to children and they should be collected and removed immediately.
- Protect your appliance from the atmosphere. Do not expose it to sun, rain, snow, dust, or excessive humidity.
- Materials around the appliance (i.e. cabinets) must be able to withstand a minimum temperature of 100°C.
- The appliance must not be installed behind a decorative door, in order to avoid overheating.
1.3 DurinG uSe
- When you first use your oven you may notice a slight smell. This is perfectly normal and is caused by the insulation materials on the heater elements. We suggest that, before using your oven for the first time, you leave it empty and set it at maximum temperature for 45 minutes. Make sure that the environment in which the product is installed is well-ventilated.
- Take care when opening the oven door during or after cooking. The hot steam from the oven may cause burns.
- Do not put flammable or combustible materials in or near the appliance when it is operating.
- Always use oven gloves to remove and replace food in the oven.
- Under no circumstances should the oven be lined with aluminum foil as overheating may occur.
- Do not place dishes or baking trays directly onto the base of the oven whilst cooking. The base becomes very hot and damage may be caused to the product.
![]()
Do not leave the cooker unattended when cooking with solid or liquid oils. They may catch fire under extreme heating conditions. Never pour water onto flames that are caused by oil, instead switch the cooker off and cover the pan with its lid or a fire blanket.
- Always position pans over the center of the cooking zone, and turn the handles to a safe position so they cannot be knocked.
- If the product will not be used for a long period of time, turn the main control switch off. Turn the gas valve off when gas appliances are not in use.
- Make sure the appliance control knobs are always in the “0” (stop) position when the appliance is not in use.
- The trays incline when pulled out. Take care not to spill or drop hot food when removing it from the oven.
- Do not place anything on the oven door when it is open. This could unbalance the oven or damage the door.
- Do not place heavy or flammable items (e.g. nylon, plastic bags, paper, cloth, etc.) into the drawer. This includes cookware with plastic accessories (e.g. handles).
CAUTION: The inside surface of the storage compartment may get hot when the appliance is in use. Avoid touching the inside surface.
- Do not hang towels, dishcloths, or clothes from the appliance or its handles.
1.4 DurinG CleaninG anD MaintenanCe
- Make sure that your appliance is turned off at the mains before carrying out any cleaning or maintenance operations.
- Do not remove the control knobs to clean the control panel.
- To maintain the efficiency and safety of your appliance, we recommend you always use original spare parts and call our authorized service agents when needed.
CE Declaration of conformity
We declare that our products meet the applicable European Directives, Decisions, and Regulations and the requirements listed in the standards referenced.
This appliance has been designed to be used only for home cooking. Any other use (such as heating a room) is improper and dangerous.
The operating instructions apply to several models. You may notice differences between these instructions and your model.
Disposal of your old machine
This symbol on the product or on its packaging indicates that this product should not be treated as household waste. Instead, it should be handed over to the applicable collection point for the recycling of electrical and electronic equipment. By ensuring this product is disposed of correctly, you will help prevent potential negative consequences for the environment and human health, which could otherwise be caused by inappropriate waste handling of this product. For more detailed information about recycling this product, please contact your local city office, your household waste disposal service, or the retailer who you purchased this product from.
INSTALLATION AND PREPARATION FOR USE
WARNING: This appliance must be installed by an authorized service person or qualified technician, according to the instructions in this guide and in compliance with the current local regulations.
- Incorrect installation may cause harm and damage, for which the manufacturer accepts no responsibility and the warranty will not be valid.
- Prior to installation, ensure that the local distribution conditions (electricity voltage and frequency and/or nature of the gas and gas pressure) and the adjustments of the appliance are compatible. The adjustment conditions for this appliance are stated on the label.
- The laws, ordinances, directives, and standards in force in the country of use are to be followed (safety regulations, proper recycling in accordance with the regulations, etc.).
- If the product contains removable shelf guides (wire racks) and the user manual includes recipes like yogurt, the wire racks shall be removed and the oven operated in the defined cooking mode. Removal of the Wire Shelf information is included in the CLEANING AND MAINTENANCE section.
2.1 inStruCtionS for the inStaller
General instructions
- After removing the packaging material from the appliance and its accessories, ensure that the appliance is not damaged. If you suspect any damage, do not use it, and contact an authorized service person or qualified technician immediately.
- Make sure that there are no flammable or combustible materials in close vicinity, such as curtains, oil, cloth, etc. which may catch fire.
- The worktop and furniture surrounding the appliance must be made of materials resistant to temperatures above 100°C.
- The appliance should not be installed directly above a dishwasher, fridge, freezer, washing machine, or clothes dryer.
- The appliance can be placed close to other furniture on the condition that, in the area where the appliance is set up, the furniture’s height does not exceed the height of the cooktop.
Installation of the Cooker
- If the kitchen furniture is higher than the cooktop, the kitchen furniture must be at least 10 cm away from the sides of the appliance for air circulation.
- If a cooker hood or cupboard is to be installed above the appliance, the safety distance between the cooktop and any cupboard/cooker hood should be as shown below.
| An (mm) Cupboard | 420 |
| B (mm) Cooker Hood | 650/700 |
| C (mm) | Product Width |
| D (mm) | 50 |

2.2 eleCtriCal ConneCtion anD Safety
WARNING: The electrical connection of this appliance should be carried out by an authorized service person or qualified electrician, according to the instructions in this guide and in compliance with the current local regulations.
WARNING: THE APPLIANCE MUST BE EARTHED.
- Before connecting the appliance to the power supply, the voltage rating of the appliance (stamped on the appliance identification plate) must be checked for correspondence to the available mains supply voltage, and the mains electric wiring should be capable of handling the appliance’s power rating (also indicated on the identification plate).
- During installation, please ensure that isolated cables are used. An incorrect connection could damage your appliance. If the mains cable is damaged and needs to be replaced this should be done by qualified personnel.
- Do not use adaptors, multiple sockets, and/or extension leads.
- The supply cord should be kept away from hot parts of the appliance and must not be bent or compressed. Otherwise, the cord may be damaged, causing a short circuit.
- If the appliance is not connected to the mains with a plug, a all-pole disconnector (with at least 3 mm contact spacing) must be used in order to meet the safety regulations.
- The appliance is designed for a power supply of 220-240 V~.380-415 3N~ If your supply is different, contact the authorized service personnel or qualified electrician.
- The power cable (H05VV-F) must be long enough to be connected to the appliance.
- The fused switch must be easily accessible once the appliance has been installed.
- Ensure all connections are adequately tightened.
- Fix the supply cable in the cable clamp and then close the cover.
- The terminal box connection is placed on the terminal box.
- Green/Yellow (Earth) wire to the terminal marked “PE”.
- Brown (Live) wire to the terminal marked “L”.
- Blue (Neutral) wire to the terminal marked “N”.
- For this connection, a ‘Twin and Earth
6242Y’ type cable should be used.

2.3 anti-tiltinG kit

The document bag contains an anti-tilting kit. Loosely attach the anti-tilting bracket (1) to the wall using the screw (2) and wall plug (3), following the measurements shown in the figure and table below. Adjust the height of the anti-tilting bracket so that it lines up with the slot on the cooker and tighten the screw. Push the appliance towards the wall making sure that the anti-tilting bracket is inserted into the slot on the rear of the appliance.

| Product Dimensions (Width X Depth X Height) (Cm) | A (mm) | B (mm) |
| 60x60x90 (Double Oven) | 297.5 | 52 |
| 50x60x90 (Double Oven) | 247.5 | 52 |
| 90x60x85 | 430 | 107 |
| 60x60x90 | 309.5 | 112 |
| 60x60x85 | 309.5 | 64 |
| 50x60x90 | 247.5 | 112 |
| 50x60x85 | 247.5 | 64 |
| 50x50x90 | 247.5 | 112 |
| 50x50x85 | 247.5 | 64 |
2.4 aDjuStinG the feet
Your product stands on four adjustable feet. For safe operation, it is important that your appliance is correctly balanced. Make sure the appliance is level prior to cooking.
To increase the height of the appliance, turn the feet anti-clockwise. To decrease the height of the appliance, turn the feet clockwise.
It is possible to raise the height of the appliance up to 30 mm by adjusting the feet. The appliance is heavy and we recommend that a minimum of 2 people lift it. Never drag the appliance.

PRODUCT FEATURES
Important: Specifications for the product vary and the appearance of your appliance may differ from that shown in the figures below.
List of Components

- Cooktop
- Control Panel
- Oven Door Handle
- Oven Door
- Adjustable Feet
Control Panel

6. Timer
7. Oven Function Control Knob
8. Oven Thermostat Knob
9. Hob Control Knob
USE OF PRODUCT
4.1 hob ControlS
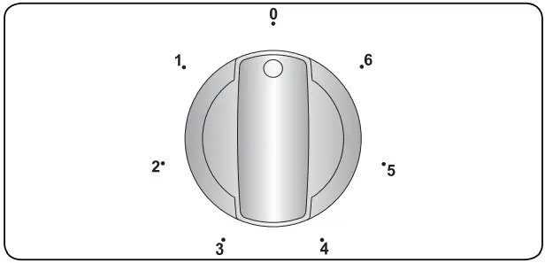
Hotplate
The hotplate is controlled by a knob with 6 positions.
The hotplate can be operated by switching the control knob to one of these positions.
Near each hob control knob, there is a small symbol that shows which hotplate is controlled by that knob. The on/off light on the control panel shows which hotplates are in use.

| Knob Position | Function |
| 0 | Off position |
| 1 | To melt butter etc. and to warm small quantities of liquid |
| 2 | To warm bigger quantities of liquid. To prepare creams and sauces |
| 3 | To defrost food for cooking |
| 4 | To cook delicate meat and fish |
| 5 | To roast meat and steak |
| 6 | To boil big quantities of liquid or to fry |
WARNING:
- When operating the hotplate for the first time, or after it has not been used for a prolonged period of time, it is necessary to eliminate any humidity which may have accumulated around the electrical elements of the plate. To do this, operate the hotplate on its lowest setting for about 20 minutes.
- Never operate a hotplate without pans on. Otherwise, form defects may occur on the cooktop.
- Only use flat-bottomed pans with thick bases.
- Make sure the bottom of the pan is dry before placing it on a hot plate.
- When a hotplate is in operation, make sure that the pan is centered correctly on it.
- Never use a pan with a smaller or larger diameter than that of the hotplate as this will waste energy.

- If possible, always place lids on the pans to avoid heat loss.
- The temperature of accessible parts may become high while the appliance is operating. It is imperative to keep children and animals well away from the hob during use and until it has fully cooled after use.
- If you notice a crack on the cooktop, it must be immediately switched off and replaced by authorized service personnel or technician.
4.2 oven ControlS
Oven function control knob
Turn the knob to the corresponding symbol of the desired cooking function. For the details of different functions see ´Oven Functions`.
Oven thermostat knob
After selecting a cooking function, turn this knob to set the desired temperature. The oven thermostat light will illuminate whenever the thermostat is in operation to heat up the oven or maintain the temperature.
Oven Functions
* The functions of your oven may be different due to the model of your product.
Defrost Function: The oven’s warning lights will switch on and the fan will start to operate. To use the defrost function, place your frozen food in the oven on a shelf in the third slot from the bottom. It is recommended that you place an oven tray under the defrosting food to catch the water accumulated due to melting ice. This function will not cook or bake your food, it will only help to defrost it.
Static Cooking Function: The oven’s thermostat and warning lights will switch on, and the lower and upper heating elements will start operating. The static cooking function emits heat, ensuring even cooking of food. This is ideal for making pastries, cakes, baked pasta, lasagne, and pizza. Preheating the oven for 10 minutes is recommended and it is best to use only one shelf at a time in this function.
Fan Function: The oven’s thermostat and warning lights will switch on, and the upper and lower heating elements and fan will start operating. This function is good for baking pastry. Cooking is carried out by the lower and upper heating elements within the oven and by the fan, which provides air circulation, giving a slightly grilled effect to the food. It is recommended that you preheat the oven for about 10 minutes.
Grilling Function: The oven’s thermostat and warning lights will switch on, and the grill heating element will start operating. This function is used for grilling and toasting foods on the upper shelves of the oven. Lightly brush the wire grid with oil to stop food from sticking and place food in the center of the grid. Always place a tray beneath the food to catch any drips of oil or fat. It is recommended that you preheat the oven for about 10 minutes.
Warning: When grilling, the oven door must be closed and the oven temperature should be adjusted to 190°C.
Grill and Fan Function: The oven’s thermostat and warning lights will switch on, and the grill heating element and fan will start operating. This function is ideal for grilling thicker food. Use the upper shelves of the oven, lightly brush the wire grid with oil to stop food from sticking, and place food in the center of the grid. Always place a tray beneath the food to catch any drips of oil or fat.
Warning: When grilling, the oven door must be closed and the oven temperature should be adjusted to 190°C.
4.3 CookinG table
| Function | Dishes |
| ||
| Static | Puff Pastry | 1 – 2 | 170-190 | 35-45 |
| Cake | 1 – 2 | 170-190 | 30-40 | |
| Cookie | 1 – 2 | 170-190 | 30-40 | |
| Stew | 2 | 175-200 | 40-50 | |
| Chicken | 1 – 2 | 200 | 45-60 | |
| Fan | Puff Pastry | 1 – 2 | 170-190 | 25-35 |
| Cake | 1 – 2 – 3 | 150-170 | 25-35 | |
| Cookie | 1 – 2 – 3 | 150-170 | 25-35 | |
| Stew | 2 | 175-200 | 40-50 | |
| Chicken | 1 – 2 | 200 | 45-60 | |
| Grilling | Grilled meatballs | 4 | 200 | 10-15 |
| Chicken | 190 | 50-60 | ||
| Chop | 3 – 4 | 200 | 15-25 | |
| Beefsteak | 4 | 200 | 15-25 |
*If available cook with a roast chicken skewer.
4.4 ACCESSORIES
The Grill Pan and Handle Set
The grill pan set is best used for grilling steaks and similar foods.
WARNING: The grill pan has a detachable handle. Make sure when using the grill pan handle that it is centralized and secure, as shown in the figure. Do not leave the handle in position while grilling is in operation.

The Wire Grid
The wire grid is best used for grilling or for processing food in oven-friendly containers.

WARNING
Place the grid to any corresponding rack in the oven cavity correctly and push it to the end.

CLEANING AND MAINTENANCE
5.1 Cleaning
WARNING: Switch off the appliance and allow it to cool before cleaning is to be carried out.
General Instructions
- Check whether the cleaning materials are appropriate and recommended by the manufacturer before use on your appliance.
- Use cream cleaners or liquid cleaners which do not contain particles. Do not use caustic (corrosive) creams, abrasive cleaning powders, rough wire wool, or hard tools as they may damage the cooker surfaces.
Do not use cleaners that contain particles, as they may scratch the glass, enameled, and/or painted parts of your appliance.
- Should any liquids overflow, clean them immediately to avoid parts becoming damaged.
- The inside of enameled ovens is best cleaned while the oven is warm.
- Wipe the oven with a soft cloth soaked in soapy water after each use. Then, wipe the oven over again with a wet cloth and dry it.
- You may need to use a liquid cleaning material occasionally to completely clean the oven.

Cleaning the Hotplate Heater
- Clean the hotplate heater on a regular basis.
- Wipe the hotplate with a soft cloth soaked in only water. Then, run the hotplate for a short time to dry it completely.
Cleaning the Enamelled Parts
- Clean the enameled parts of your appliance on a regular basis.
- Wipe the enameled parts with a soft cloth soaked in soapy water. Then, wipe them over again with a wet cloth and dry them.
Do not clean the enameled parts while they are still hot from cooking.
Do not leave vinegar, coffee, milk, salt, water, lemon, or tomato juice on the enamel for a long time.
Cleaning the Stainless Steel Parts (if available)
- Clean the stainless steel parts of your appliance on a regular basis.
- Wipe the stainless steel parts with a soft cloth soaked in only water. Then, dry them thoroughly with a dry cloth.
Do not clean the stainless steel parts while they are still hot from cooking.
Do not leave vinegar, coffee, milk, salt, water, lemon, or tomato juice on the stainless steel for a long time.
Cleaning Painted Surfaces (if available)
- Spots of tomato, tomato paste, ketchup, lemon, oil derivatives, milk, sugary foods, sugary drinks, and coffee should be cleaned with a cloth dipped in warm water immediately. If these stains are not cleaned and allowed to dry on the surfaces they are on, they should NOT be rubbed with hard objects (pointed objects, steel, and plastic scouring wires, surface-damaging dish sponge) or cleaning agents containing high levels of alcohol, stain removers, degreasers, surface abrasive chemicals. Otherwise, corrosion may occur on the powder-painted surfaces, and stains may occur. The manufacturer will not be held responsible for any damage caused by the use of inappropriate cleaning products or methods.
Removal of the Inner Glass
You must remove the oven door glass before cleaning, as shown below.
- Push the glass in the direction of B and release it from the location bracket (x). Pull the glass out in the direction of A.
To replace the inner glass: - Push the glass towards and under the location bracket (y), in the direction of B.

- Place the glass under the location bracket (x) in the direction of C.

If the oven door is a triple glass oven door, the third glass layer can be removed the same way as the second glass layer.
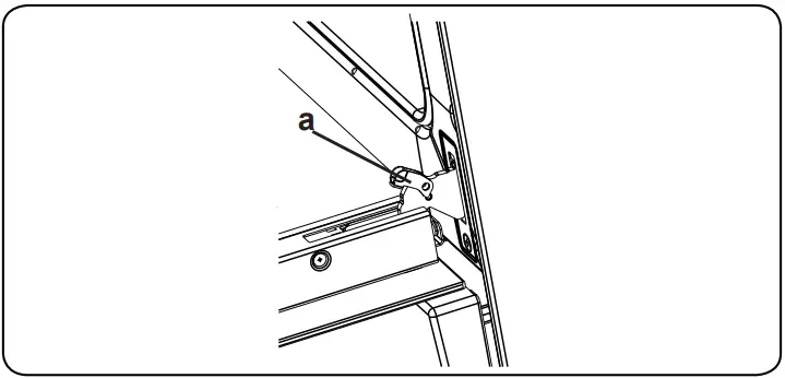
Removal of the Oven Door
Before cleaning the oven door glass, you must remove the oven door, as shown below.
- Open the oven door.

- Open the locking catch (a) (with the aid of a screwdriver) up to the end position.

- Close the door until it almost reaches the fully closed position and removes the door by pulling it towards you.

TROUBLESHOOTING&TRANSPORT
6.1 TROUBLESHOOTING
If you still have a problem with your appliance after checking these basic troubleshooting steps, please contact an authorized service person or qualified technician.
| Problem | Possible Cause | Solution |
| The hob or cooking zones cannot be switched on. | There is no power supply. | Check the household fuse for the appliance. Check whether there is a power cut by trying other electronic appliances. |
| The hob produces an odor during the first cooking sessions. | New appliance. | Heat a saucepan full of water on each cooking zone for 30 minutes. |
| The oven does not switch on. | The power is switched off. | Check whether there is power supplied. Also, check that other kitchen appliances are working. |
| No heat or oven does not warm up. | Oven temperature control is incorrectly set. The oven door has been left open. | Check the oven temperature control knob is set correctly. |
| The cooking is uneven within the oven. | Oven shelves are incorrectly positioned. | Check that the recommended temperatures and shelf positions are being used. Do not frequently open the door unless you are cooking things that need to be turned. If you open the door often, the interior temperature will be lower and this may affect the results of your cooking. |
| The oven light (if available) does not operate. | The lamp has failed. The electrical supply is disconnected or switched off. | Replace the lamp according to the instructions. Make sure the electrical supply is switched on at the wall socket outlet. |
| The oven fan if available) is noisy. | Oven shelves are vibrating. | Check that the oven is level. Check that the shelves and any bakeware are not vibrating or in contact with the oven back panel. |
6.2 tranSport
If you need to transport the product, use the original product packaging and carry it using its original case. Follow the transport signs on the packaging. Tape all independent parts of the product to prevent damaging the product during transport.
If you do not have the original packaging, prepare a carriage box so that the appliance, especially the external surfaces of the product, is protected against external threats.
TECHNICAL SPECIFICATIONS
7.1 ENERGY FICHE
| Brand | ![]() | |
| Model | PO6C1V1W | |
| Type of Oven | ELECTRIC | |
| Mass | kg | 41,4 |
| Energy Efficiency Index – conventional | 105,7 | |
| Energy Efficiency Index – fan forced | 94,8 | |
| Energy Class | A | |
| Energy consumption (electricity) – Conventional | kWh/cycle | 0,87 |
| Energy consumption (electricity) – fan forced | kWh/cycle | 0,78 |
| Number of cavities | 1 | |
| Heat Source | ELECTRIC | |
| Volume | I | 65 |
| This oven complies with EN 60350-1 | ||
| Energy Saving Tips Oven – Cook the meals together, if possible. – Keep the pre-heating time short. – Do not elongate cooking time. – Do not forget to turn off the oven at the end of cooking. – Do not open the oven door during the cooking period. | ||
| Brand | ![]() | |
| Model | PO6C1V1W | |
| Type of Hob | Electric | |
| Number of Cooking Zones | 4 | |
| Heating Technology-1 | Hotplate | |
| Size-1 | cm | 014,5 |
| Energy Consumption-1 | Wh/kg | 193,0 |
| Heating Technology-2 | Hotplate | |
| Size-2 | cm | 014,5 |
| Energy Consumption-2 | Wh/kg | 193,0 |
| Heating Technology-3 | Hotplate | |
| Size-3 | cm | 018,0 |
| Energy Consumption-3 | Wh/kg | 193,0 |
| Heating Technology-4 | Hotplate | |
| Size-4 | cm | 018,0 |
| Energy Consumption-4 | Wh/kg | 193,0 |
| Energy Consumption of Hob | Wh/kg | 193,0 |
| This hob complies with EN 60350-2 | ||
| Energy Saving Tips Hob – Use cookware with a flat base. – Use cookware of the proper size. – Use cookware with a lid. – Minimize the amount of liquid or fat. – When the liquid starts boiling, reduce the setting. | ||
52202020
Repairer Contact Detail:
Shomar Aftersales Service: Ph 01 4505327
Email: [email protected]
Supplier Website: www.powerpointappliances.ie.

To replace the inner glass:






















