HS+50 Marine Hydraulic Steering System

HS+50
Marine Hydraulic Steering System
Installation and Service Instructions
Please record your serial number here
Serial Number
HS+50m ISS.03
Released\11 Product Documentation & Labels\Manuals & Enclosures\Customer Documentation\HS50m.pdf

This precision engineered product was designed and manufactured in the United Kingdom.
Please keep this manual in a safe place
CONTACT DETAILS
Hydraulic Projects Limited
Dawlish Business Park
Dawlish
Devon
EX7 0NH
United Kingdom
Telephone +44 (0)1626 863634
Fax +44 (0)1626 866283
Email [email protected]
Web www.hypro.co.uk

The information in this manual was, to the best of our knowledge,
correct when it went to press and Hydraulic Projects Ltd cannot be
liable for any inaccuracies or omissions. There may also be
differences between the specifications in the manual and the product
as a result of ongoing development for which we accept no liability.

IMPORTANT SAFETY INFORMATION
Failure to install and maintain this equipment in accordance with the
instructions contained in this Manual could result in damage or injury.
This equipment must be installed and maintained by a person who is
qualified to do so. This equipment is only for use with marine
auto pilots within the limitations stated in the following pages.
Auto pilot steering systems are navigational aids and the user must still
maintain a permanent watch.
This equipment meets the latest EMC (Electromagnetic Compatibility)
standards required for use in the marine environment.
In order to ensure conformance and to prevent interference with
electronic systems the unit must be properly bonded to earth and the
supply cables screened.
Caution!
In operation this unit can rotate the vessels wheel rapidly.
Keep clear of the wheel when this unit is engaged to avoid entrapment.
Beware of hot motor and solenoid components and the risk of
entrapment from moving parts.
Do not flash test.
INTRODUCTION
Congratulations on the purchase of your Hydraulic Projects
HS+50 Marine Hydraulic Steering System. It has been designed to give
many years of trouble-free service providing the information and
instructions contained within this manual are adhered to.
DESCRIPTION
‘HS+50’ Hydraulic Steering Systems combine a hydraulic cylinder with
clutch, reversing pump and reservoir in a compact installation.
A solenoid clutch is engaged to extend or retract the rod. The cylinder
and its mounting are protected by integral relief valves. Overall adjustment
is incorporated into the stroke of the cylinder. Nominal cylinder
size and pump flow are indicated on the rating plate. Check the voltage
shown is correct for the output of your autopilot.
Please do not disconnect any of the hoses, the system has been filled
and tested prior to shipment.
Ensure you read and understand the special reservoir instructions on
page 10 before commencing installation.
LOCATION
For marine applications these systems are designed for ‘under deck’
installations only.
Excessive temperature, vibration and fumes in the atmosphere can
drastically reduce motor life.
It must be mounted securely and on a surface that is able to withstand
the high thrusts generated.
As in common with other electrical equipment contact with water and
excessive humidity must be avoided.
Any attitude of mounting may be used but horizontal is preferred. Refer
to the installation and technical data pages for further information.
The reservoir must be located in an area that is not subject to extremes
of temperature and humidity and away from refrigeration compressors
and air-conditioning plant.
SYSTEM CONTENTS

MAINTENANCE & SERVICE
With a minimum of moving parts and top quality precision engineering
the system will give many years of trouble free service if the following
points are adhered to.
▪ Keep the cylinder rod free from damage.
▪ Avoid exposing the unit to salt water.
Perform the following tasks on a regular basis:
▪ Check the security of the mounting base and tiller bolt.
▪ Lubricate the mounting pin & rod end – use only a good quality marine
grease that is compatible with nitrile seals.
▪ Examine all electrical connections.
▪ Examine the condition of the oil in the reservoir and empty, clean and
re-fill with fresh fluid if necessary. Refer page 18.
Cylinder Seals
Should service replacement seals be required, a kit is available from
your nearest dealer under the following part code: R4100-sk.
State the serial number of your unit when ordering.
EMERGENCY QUICK RELEASE
In the unlikely event of failure of the actuator a quick release R-Clip is fitted
to the tiller bolt which secures the actuator to the steering quadrant.
Pull the red tab to release the R-Clip and then manually lift the actuator
clear of the steering quadrant.
EMERGENCY STEERING – PRIMARY STEERING FAILURE
If the primary steering fails it may be
possible to steer the boat via the
auto-pilot controls.
TECHNICAL DATA
Pump
The pump fitted to the HS+50+ system is the PR+25 model.
Please refer to the PR+ manual for technical and service details.
Cylinder
Volume 538cc (Nominal)
Area 176.6mm²
Stroke 305mm
Adjustment ± 15mm
Performance
Maximum thrust (intermittent) 1080kg
Hard over time nominal 13 sec
Temperature rating minimum -20ºc
Temperature rating maximum +65ºc
Relief valve setting 62 bar (1080kg)
Orientation
Red lead Positive
Cylinder Retracts
Clutch
Coil voltage nominal 12 or 24v DC
Coil power continuous 12 watt
Protection IP67
Connection DIN 43650
4-9mm cable
Fluid
ISO VG10 to VG40 Hydraulic mineral fluid
meeting ISO 6743-4 HV
The following commercial fluids are suitable.
Fuchs Renolin B15 HV1
Seastar HA5430
TECHNICAL DATA
Ports
Cylinder G1/4(BSP) parallel BS2779’73
Hoses
Threads 5/8-18 SAE female swivel
Material Brass
Type Marine Steering Hose
1000 PSI Working Pressure
5/16” I/D
Length 1m
Materials
Body Aluminium BS 1490
Cylinder rod Stainless Steel Chrome Plated
Seals Nitrile & PTFE
Body Protection SP270
System Weight 14 kg Gross
RUDDER FEEDBACK UNIT (Optional)
A rudder reference or ‘feedback’ unit is available as an option for the
HS50 System. Please contact your dealer for details Ref. Part no. R4104.

RESERVOIR PREPARATION IMPORTANT!
The reservoir is fitted with a special cap with a breather hole that is
sealed for transit and must be opened before operation.
Do not attempt to move the cylinder rod before completing the
following steps;
- Mount the reservoir on a bulkhead as far above the pump and
cylinder as possible using both the mounting holes provided. - Remove the transit screw and seal from the cap to open the
breather. Retain for future use. - Fill the reservoir to the max level indicated on the label using the
top-up oil included in the carton. - Turn the tap to the ‘ON’ position.
- Check the mid-ships oil level and top up if necessary.

RESERVOIR INSTALLATION


CYLINDER INSTALLATION

Ensure that cylinder rod movement is limited by
the Steering end-stops and not by the actuator.
Check that no part of the actuator fouls the structure
of the vessel or quadrant throughout its full range if movement.
Warning! Do not exceed the +/-5º angle at the extremes of
stroke, damage to the cylinder bearings and rod will occur.
Check carefully before commissioning


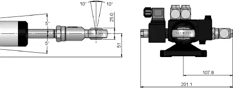
QUADRANT
Typical installation for a
257mm quadrant with total
rudder angle of 70deg.

DIMENSIONS FOR CYLINDER MOUNTING FOOT
(NOT TO SCALE)

TILLER BOLT
The tiller bolt supplied is suitable for
a quadrant thickness of 20 to 25mm.
The tiller bolt mounting hole should
be drilled Ø20.1 to 20.2mm.
An application of Loctite 638 or
a commercial equivalent where
shown is recommended.
Tighten the M20 nut to 68Nm
MOUNTING FOOT
The four M8 nuts, bolts and washers
supplied are suitable for mounting
the actuator onto a surface of
between 12mm and 24mm thick
Tighten the four M8 nuts to 17Nm
Tighten the central mounting bolt to
70Nm
COIL CONNECTIONS
REFILLING AND BLEEDING
Use this procedure if air has entered the hydraulic system
or if it has been dismantled.
Important! Use only the recommended hydraulic fluid – see page 8.
Before commencing ensure that any containers are clean and free of
contamination. Please dispose of any waste fluid and materials
responsibly.
Danger of entrapment! – Keep clear of moving steering components and
linkages at all times.
Procedure:
Assemble the drive with pump, hoses, reservoir and install. Except –
Do not connect the motor to the course computer
(the pump is not used to bleed the system).
Do not connect the ram to the quadrant.
- Engage the clutch by turning the Autopilot on (refer to the Autopilot
manual). - Fill the reservoir and turn the tap on.
- Loosen the reservoir hose at the ram (but do not disconnect it).
Fluid will emerge, tighten when all air bubbles have gone, top up the
reservoir - Remove A and B hoses from the pump and place the ends in a
container of fluid. - Slowly pull and push the ram fully in and out ensuring the ends
remain immersed until all air has been expelled. - With the ram in mid position reconnect A and B hoses to the pump.
Check the reservoir level and top up if required. - Turn the Autopilot off.
- Reconnect the motor to the course computer and the ram to the
quadrant.
The Drive is now ready to run. If it initially fails to respond to the
autopilot correctly use the wheel to assist by turning in the same
direction as the ram. This will move any air trapped in the pump.
Note. If the drive uses a constant running pump remove the hose and
fitting from the reservoir port, fill and replace the fitting and hose before
3) above.


HYDRAULIC FLUID
Caution
Do not use Brake fluid. Use mineral based good quality hydraulic
fluid compatible with nitrile hydraulic seals. Ref page 8.
OIL BIO FOULING
It is recommended that the oil in the reservoir is inspected every 12
months for contamination (every 3 months in tropical climates).
If there is any sign of discoloration, smell or growth, turn the tap off
and remove the reservoir from its mountings. Drain the contents,
clean and refill with fresh oil.
If the vessel is to be laid up for more than 3 months turn the reservoir
tap off and inspect the oil prior to re-commissioning.
Bio fouling can result in damage to the solenoid clutch. If this is suspected
the complete system must be drained, cleaned and refilled
(Ref. page 16).
Replacement clutches are available from your dealer, please state
your units serial number in all correspondence.
COMMISSIONING
Caution
Be aware of the danger of moving linkages and the risk of entrapment.
Use the primary steering to check the full range of movement before
commissioning the Auto-Pilot.
Caution
Check the unit for damage and leaks after installation.
ENVIRONMENTAL
Please ensure all waste materials and fluid is disposed of
properly after installation.
At end of life disposal this product should be recycled.
FAULT FINDING
Under no circumstances dismantle the unit unless it is certain that
the fault is internal. Doing so will allow air into the cylinder,
requiring the unit to be bled for which special tools are needed.
Ref. page 16.
Caution
Any damage to the piston rod will damage its seals and allow air into the
cylinder and oil leaks.
1) Motor does not run
: check electrical connections.
: check course computer output.
2) Motor runs, but erratic or no piston movement
: check for solenoid operation.
: check for air in the cylinder and external leaks.
: check drive coupling.
3) Excessive noise
: check the motor for damage.
: check for air in the cylinder and external leaks.
: check drive coupling.
4) Failure of clutch to engage or disengage
: check solenoid operation.


Our in-house design and technical teams offer the expertise and
support expected of an established world-class manufacturer.
Our customers, ranging from the agricultural, transport, rail, fishing,
construction and industrial sectors, expect named personal
support, excellent quality and a rapid service with full back-up…
….we aim to deliver in full.
Call us today to discuss a bespoke solution from our extensive
range or simply for competitively priced spares.
Full technical details of our entire range are available to download
from our website
www.hypro.co.uk
EMERGENCY STEERING – PRIMARY STEERING FAILURE
TILLER BOLT



















