HOME ACCENTS Holiday GIP0NB007D00 Christmas Garland 
IMPORTANT SAFETY INSTRUCTIONS
When using electrical products, basic precautions should always be followed, including the following:
- READ AND FOLLOW ALL SAFETY INSTRUCTIONS.
- Do not use seasonal products outdoors unless marked suitable for indoor and outdoor use. When products are used in outdoor applications, connect the product to a Ground Fault Circuit Interrupting (GFCI) outlet. If one is not provided, contact a qualified electrician for proper installation.
- This seasonal product is not intended for permanent installation or use.
- Do not mount or place the product near gas or electric heaters, fireplaces, candles, or other similar sources of heat.
- Do not secure the wiring of the product with staples or nails, or place it on sharp hooks or nails.
- Do not let lamps rest on the supply cord or on any wire.
- Unplug the product when leaving the house, when retiring for the night, or if left unattended.
- This is an electric product and not a toy! To avoid the risk of fire, burns, personal injury, and electric shock it should not be played with or placed where small children can reach it.
- Do not use this product for other than its intended use.
- Do not hang ornaments or other objects from the cord, wire, or light string.
- Do not close doors or windows on the product or extension cords as this may damage the wire insulation.
- Do not cover the product with cloth, paper, or any material that is not a part of the product when in use.
- This product is equipped with push-in-type lamps. Do not twist lamps.
- Read and follow all instructions that are on the product or provide with the product.
SAVE THESE INSTRUCTIONS
LAMP REPLACEMENT
Step 1. Grasp the power adapter or power cord plug, and then unplug from the power outlet. Do not pull the power cord.
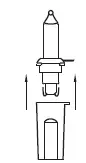
Step 2. Lift up the lamp lock tab, then pull the lamp and plastic lamp base straight out of the lamp-holder.
Step 3. Replace with a new spare lamp provided with this product.
(Reference figure only)
Assembly
Assembling the garland
Step 1. Choose an appropriate location near a wall outlet.
Step 2. Assemble the garland.
Step 3. Plug the adapter into the wall outlet. Your entire garland should now be lit.
Operation
Turning on the garland
NOTE: If some bulbs do not light or flicker, search for any loose plugs and/or broken, loose, or missing bulbs. Replace bulbs promptly with the replacement bulbs provided in order to maintain the performance and life expectancy of your garland. Connect the light strings of the garland together and plug the adapter into a wall outlet.
Maintenance
Spare parts
This garland package includes bulbs for any replacement or repair that you need to perform on your garland. If extra parts are needed, contact the Customer Service Team at 1-877-527-0313 between the hours of 8 am and 5 pm EST, Monday through Friday.
Use and Care Instructions
- Remove all ornaments and decorations, and unplug from power.
- Disconnect the extension cords and plugs.
- Carefully place all parts into the shipping box and tape it shut.
- Store in a cool, dry place away from sunlight. Exposing your garland to excessive heat or humidity may damage your garland.
User servicing instructions
HOW TO USE THE DUAL-COLOR LIGHT CONTROLLER:
Press the selector button on the “Light Controller” to select among: 
- WARM WHITE – MULTI: FADING
- WARM WHITE: FADING
- WARM WHITE – MULTI: ALTERNATING
- WARM WHITE: STEADY
- WARM WHITE – MULTI: SLOW FADING
- MULTI: STEADY
- MULTI: FADING
- COMBINATION
Tree Comes with Demo Mode Not Activated
To activate the DEMO mode:
- With the tree plugged in, press and hold the FUNCTION button of the in-line controller/receiver for 5 seconds.
- The Clear Lights will blink 3 times. The tree is now in DEMO mode.
- Within DEMO mode, the tree will display the COMBO pattern at all times unless the function button is pressed to change the flashing pattern. The tree will return to the COMBO pattern whenever the controller is idle for 30 seconds.
To deactivate the DEMO mode:
- With the tree plugged in and in DEMO mode, press and hold the FUNCTION button of the in-line controller/receiver for 5 seconds.
- The multi-light will flash 5 times indicating that DEMO mode is off (Clear lights will flash 5 times with single-color LED trees).
- The tree is now in normal mode. The flashing pattern can be set to whichever is desired and the tree will remember the last setting.

CAUTION:
Use only power adapter that was provided with this product. Using a different power adapter will damage the lights and cause fire, electrical shock hazard.
Troubleshooting
| Problem | Solution |
|
The garland does not light | Ensure that all garland sections are plugged into each other and that the garland is plugged into the wall. |
| Check for loose, broken, or missing bulbs and replace as needed with the replacement bulbs provided |










