REDBACK CF2234 Ceiling EWIS Speaker Owner’s Manual
- Designed to meet Australian Standard AS ISO7240.24
- Excellent speech intelligibility
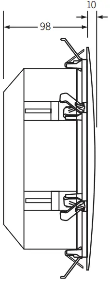
- Low profile design is 108mm deep – penetrates ceiling by only 98mm (with 12mm thickness ceiling tile).
- Tuned PA driver designed to meet the latest fire standards
- High quality speaker driver developed for BGM, paging and emergency warning applications
- Patented 6 way latching ensures a neat, sag free installation.
- Fitted with 4 way wire protect terminal for loop in, loop out wiring.
- Fitted with flame retardent safety cover.
- Fitted with supervisory capacitor for line monitoring.
- Assembled in Australia.
- 5 year warranty
Application
This range of speakers have been engineered to meet the requirements of evacuation and occupant warning paging systems. The high efficiency speaker and transformer combination ensures high SPL, wide frequency response, superior speech intelligibility and reproduction for mission critical applications. All components of the fixture are manufactured from high quality, long lasting, flame retardant material and tested to the rigours of the new standard. On site installation will be simple and straight forward. Oversized cable glands and terminal blocks will make on site termination easier than other competing products. Finally the speaker will just ‘snap fit’ into the ceiling. Far easier than competitors models being offered on the market.
Manufacturing & Performance
Redback® drivers are engineered and manufactured to stringent specifications ensuring maximum reliability under all operating conditions. Each driver has a power rating well above the max tapping of the transformer, ensuring reliable operation and excellent longevity. A strict quality control procedure is employed during every step of the manufacturing process. Finally, every finished speaker is 100% QC checked prior to shipping.
About Redback® Speaker Drivers
Each custom designed speaker and transformer combination has been specifically engineered to ensure a wide frequency range and dispersion angle, plus a high sound pressure level (SPL) ensuring excellent music and speech intelligibility; which is critical for emergency paging applications. Each transformer is fitted with multiple power settings which are user selectable via taps on the transformer.
The Labour Saving One-Shot® Mounting System
Redback® “One-Shot®” speaker units install in seconds providing substantial labour cost savings for the professional installer compared to traditional mounting methods.


The “Rat-Trap” utilises a spring latching system. Each latch is set like a rat trap before installation into the speaker hole (picture A). When the speaker is pushed into the ceiling, the latches spring open, securing the speaker in place (picture B).
The snap clip material is formulated to retain long service life strength and spring action, ensuring a firm vibration free fit to either gyprock tiles, mineral fibre tiles or fixed gyprock ceilings.
Installation Guidelines
These models are fitted with a 4 way wire protect screw terminal block suitable for loop in, loop out cabling. The cable is secured via the safety cover cable glands provided. All One-Shot® speakers are designed for fast installation due to the integral pressure clips which grip to the reverse side of the ceiling tile. They suit any 10-13mm ceiling tile, including gyprock, mineral fibre or fixed gyprock ceilings. Redback provide a range of optional tile supports to minimise sag and vibration.
Ceiling support pans: These pans fit inside the ‘t-bar’ supports for the tile ceiling and provide a solid surface on which the One-Shot® clips secure to. Once the hole is cut, these simply slide up into the hole, the speaker is then pushed in until the clips release.
Ceiling support ring: This plastic ‘split-ring’ offers the same protection for soft tiles. With the added benefit of being lightweight and compact. We recommend a speaker hole of 246mm. This is easily cut using the T 2312A holesaw.
PRODUCT DIMENSION



Specifications
Electrical
Power taps: 0.33, 0.66, 1.25, 2.5, 5W
Impedance: 30kΩ, 15kΩ, 8kΩ, 4kΩ, 2kΩ
SPL 1W @ 1m: 94dB
SPL 1W @ 4m: 82dB
SPL 5W @ 1m: 100dB
SPL 5W @ 4m: 88dB
Frequency response: 100Hz-15kHz, 315-6.3kHz ±5dB
Coverage Angles: 500Hz: >180°, 1000Hz: 165°, 2000Hz: 85°, 4000Hz 65°
Connection: 4 way terminal block + 22uF bipolar capacitor
Approval: AS ISO7240.24
Applicable cable: 2.5mm2 (14AWG) max conductor area
Environmental Type: A (for indoor applications)
Mechanical
Material: White flame retardant ABS grille (ABS AF312C) Clear Flame retardant ABS spring clips (Makrolon 6557) Red flame retardant ABS transformer dome cover (Starex VH-0800) Powdercoated aluminium grille insert (RAL9003)
Driver construction: Paper cone
Ceiling cutout: 246mmØ
Grille diameter: 266mmØ
Mounting depth: 98mm (including ceiling tile thickness)
Overall weight: 1.25kg
Environmental
IP Rating: IP23C
Operating temperature: -25°C to +55°C
Relative humidity: < 95%
Additional Installation Accessories
C 2129 Steel ceiling tile support pan
T 2312A 40-300mm holesaw
Architectural Specifications
CF2234
The speaker shall be of 200mm diameter and be fitted with a 100V transformer with power taps of 5W, 2.5W, 1.25W, 0.66W and 0.33W. It shall have a SPL of 94dB (1W@1m). It shall be approved to the AS ISO7240.24 fire and evacuation announcement standard. It shall be fitted with a 4 way wire protect terminal block for connection and 22uf bipolar capacitor for line monitoring. The speaker shall be attached to a white aluminium grille, flame retardant OneShot housing and mounting mechanism with red safety cover. The safety cover shall be fitted with dual oversized cable glands. The speaker/grille combination shall be a Redback model CF2234.


















