Pioneer DMH-WT8600NEX RDS AV Receiver
Product Information
Pioneer RDS AV Receiver
The Pioneer RDS AV Receiver comes in various models such as DMH-WT8600NEX, DMH-WT7600NEX, DMH-WT86NEX, DMH-WT76NEX, DMH-WC6600NEX, DMH-WC5700NEX, DMH-W4660NEX, and DMH-W4600NEX. It is a high-end car audio system that provides an excellent entertainment experience in your car. The receiver is equipped with features like GPS antenna, microphone, iDatalink or Metra adaptor input, and speaker leads that enhance the sound quality of your car’s audio system.
Product Usage Instructions
Important Safety Information
Before installing the Pioneer RDS AV Receiver, please follow these important safety precautions:
- Read the user manual/instructions carefully before installation.
- Do not connect the Pioneer receiver to the factory backup camera unless it is connected to and displays the same view as the factory backup camera. Connection to the factory backup camera will require an adaptor sold separately.
- Don’t use unused speaker leads uncovered, which if left uncovered may cause a short circuit.
- Consult a qualified professional installer for installation options specific to your vehicle.
Product Connections
Connection Precautions
Before connecting the Pioneer RDS AV Receiver, please follow these precautions:
- Ensure that the ground wire, power amp, and other devices are connected correctly to prevent damage to the receiver.
- All metal parts of the car’s electronic devices must be placed away from the receiver to avoid interference.
- When connecting other devices to this product, refer to the manual for the product to be connected.
Power Cord Connection
Follow these instructions for power cord connection:
- Connect the yellow wire to the terminal supplied with power regardless of ignition switch position.
- Connect the red wire to the electric terminal controlled by the ignition switch (12 V DC) ON/OFF.
- Connect the orange/white wire to the lighting switch terminal.
- Connect the black (ground) wire to the vehicle (metal) body.
- Connect the violet/white wire of the two lead wires connected to the back lamp, connect the one in which the voltage changes when the gear shift is in the REVERSE (R) position.
Speaker Leads Connection
Follow these instructions for speaker lead connection:
- The speaker leads are not used when connecting a subwoofer without the optional amplifier.
- For using a subwoofer without an optional amplifier, connect the rear speaker (STD), middle-range speaker (NW), front speaker (STD), high-range speaker (NW), subwoofer (STD), low-range speaker (NW).
Important safety information
WARNING
Rear visibility systems (backup cameras) are required in certain new vehicles sold in the U.S. and Canada. U.S. regulations began according to a two year phase-in on May 1, 2016, and both the U.S. and Canada require that all such vehicles manufactured on or after May 1, 2018 have rear visibility systems. Owners of vehicles equipped with compliant rear visibility systems should not install or use this product in a way that alters or disables that system’s compliance with applicable regulations. If you are unsure whether your vehicle has a rear visibility system subject to the U.S. or Canadian regulations, please contact the vehicle manufacturer or dealer.
If your vehicle has a compliant backup camera that displays the backup view through the factory receiver, do not use the Pioneer receiver unless it is connected to and displays the same view as the factory backup camera. Connection to the factory backup camera will require an adaptor, sold separately. Not all vehicles may be able to connect. Please check with a qualified professional installer for installation options specific to your vehicle.
Connection
Precautions
Your new product and this manual
- Do not operate this product, any applications, or the rear view camera option (if purchased) if doing so will divert your attention in any way from the safe operation of your vehicle. Always observe safe driving rules and follow all existing traffic regulations. If you experience difficulty in operating this product, pull over, park your vehicle in a safe location and apply the parking brake before making the necessary adjustments.
- Do not install this product where it may
- obstruct the driver’s vision,
- impair the performance of any of the vehicle’s operating systems of safety features, including airbags, hazard lamp buttons, or
- impair the driver’s ability to safely operate the vehicle.
- In some cases, it may not be possible to install this product because of the vehicle type or the shape of the vehicle interior.
Important safeguards
WARNING
Pioneer does not recommend that you install this product yourself. This product is designed for professional installation only. We recommend that only authorized Pioneer service personnel, who have special training and experience in mobile electronics, set up and install this product. NEVER SERVICE THIS PRODUCT YOURSELF. Installing or servicing this product and its connecting cables may expose you to the risk of electric shock or other hazards, and can cause damage to this product that is not covered by warranty.
Precautions before connecting the system
CAUTION
- Secure all wiring with cable clamps or electrical tape. Do not allow any bare wiring to remain exposed.
- Do not directly connect the yellow lead of this product to the vehicle battery. If the lead is directly connected to the battery, engine vibration may eventually cause the insulation to fail at the point where the wire passes from the passenger compartment into the engine compartment. If the yellow lead’s insulation tears as a result of contact with metal parts, short-circuiting can occur,resulting in considerable danger.
- It is extremely dangerous to allow cables to become wound around the steering column or shift lever. Be sure to install this product, its cables, and wiring away in such so that they will not obstruct or hinder driving.
- Make sure that the cables and wires will not interfere with or become caught in any of the vehicle’s moving parts,especially the steering wheel, shift lever, parking brake, sliding seat tracks, doors, or any of the vehicle’s controls.
- Do not route wires where they will be exposed to high temperatures. If the insulation heats up, wires may become damaged, resulting in a short circuit or malfunction and permanent damage to the product.
- Do not shorten any leads. If you do, the protection circuit (fuse holder, fuse resistor or filter, etc.) may fail to work properly.
- Never feed power to other electronic products by cutting the insulation of the power supply lead of this product andtapping into the lead. The current capacity of the lead will be exceeded, causing overheating.
Before installing this product
- Use this unit with a 12-volt battery and negative grounding only. Failure to do so may result in a fire or malfunction.
- To avoid shorts in the electrical system, be sure to disconnect the (–) battery cable before installation.
To prevent damage
WARNING
- When speaker output is used by 4 channels , use speakers over 50 W (Maximum input power) and between 4 Ω to 8 Ω (impedance value). Do not use 1 Ω to 3 Ω speakers for this unit.
- When rear speaker output is used by 2 Ω of subwoofer, use speakers over 70 W (Maximum input power).
- Please refer to connection for a connection method.
- The black lead is ground. When installing this unit or power amp (sold separately), make sure to connect the ground wire first. Ensure that the ground wire is properly connected to metal parts of the car’s body. The ground wire of the power amp and the one of this unit or any other device must be connected to the car separately with different screws. If the screw for the ground wire loosens or falls out, it could result in fire generation of smoke or malfunction.

- 1 Not supplied for this unit
- When replacing the fuse, be sure to only use a fuse of the rating prescribed on this product.
- When disconnecting a connector, pull the connector itself. Do not pull the lead, as you may pull it out of the connector.
- This product cannot be installed in a vehicle without ACC (accessory) position on the ignition switch.

- To avoid short-circuiting, cover the disconnected lead with insulating tape. It is especially important to insulate all unused speaker leads, which if left uncovered may cause a short circuit.
- For connecting a power amp or other devices to this product, refer to the manual for the product to be connected.
- The graphical symbol
placed on the product means direct current.
Notice for the blue/ white lead
- When the ignition switch is turned on (ACC ON), a control signal is output through the blue/white lead. Connect to an external power amp’s system remote control terminal, the auto-antenna relay control terminal, or the antenna booster power control terminal (max. 300 mA 12 V DC). The control signal is output through the blue/white lead, even if the audio source is switched off.
Important
When this product is in [Power OFF] mode, the control signal is also turned off. If [Power OFF] mode is canceled, the control signal is output again and the antenna is extended with the auto antenna function (if the antenna is being used). Be careful so that the extended antenna does not come into contact with any obstacles.
Rear panel (main terminals)
DMH-WT8600NEX/DMHWT7600NEX/ DMH-WT86NEX/DMHWT76NEX/ DMH-WC6600NEX/DMHWC5700NEX

DMH-W4660NEX/DMH-W4600NEX

- GPS antenna 3.55 m (11 ft. 8 in.)
- Microphone 3 m (9 ft. 10-1/8 in.)
- iDatalink or Metra adaptor input
- Refer to the instruction manual for the iDataLink or Metra adaptor (sold separately).
- Monitor cable connector
- Connect to LCD screen.
- Antenna jack
- This product
- Pre out supply
- Power supply
- Fuse (10A)
- Wired remote input
- Hard-wired remote control adaptor can be connected (sold separately).
- SiriusXM® Connect Vehicle Tuner Refer to the instruction manual for SiriusXM Connect Vehicle Tuner (sold separately).
- Monitor cable and connector are in the front panel. (DMH-WT8600NEX, DMH-WT7600NEX, DMH-WT86NEX, DMH-WT76NEX)
NOTES
- Before using and/or connecting the iDatalink Maestro adaptor (sold separately), you will need to first flash the Maestro module with the appropriate vehicle and head unit firmware. You can find the device number that is required for the activation on the following (refer to the Operation Manual.):
- The label on the packaging of this product
- The label on this product
- The [Firmware Information] screen
- When the iDatalink Maestro adaptor is connected, use the microphone of this unit to perform voice operations for Apple CarPlay, Android Auto, or Amazon Alexa.
- SiriusXM and all related marks and logos are trademarks of Sirius XM Radio, Inc. All rights reserved.
Power cord
WARNING: IMPROPER CONNECTION MAY RESULT IN SERIOUS DAMAGE OR INJURY INCLUDING ELECTRICAL SHOCK, AND INTERFERENCE WITH THE OPERATION OF THE VEHICLE’S ANTILOCK BRAKING SYSTEM, AUTOMATIC TRANSMISSION AND SPEEDOMETER INDICATION.

- To power supply
- Power cord
- Yellow
- To terminal supplied with power regardless of ignition switch position.
- Red
- To electric terminal controlled by ignition switch (12 V DC) ON/OFF
- Orange/white
- To lighting switch terminal.
- Black (ground)
- To vehicle (metal) body.
- Violet/white
- Of the two lead wires connected to the back lamp, connect the one in which the voltage changes when the gear shift is in the REVERSE (R) position. This connection enables the unit to sense whether the car is moving forward or backward.
- Pink
- Car speed signal input
- Blue/white
- Connect to system control terminal of the power amp (max. 300 mA 12 V DC).
- Light green
- Used to detect the ON/OFF status of the parking brake. This lead must be connected to the power supply side ofthe parking brake switch. If this connection is made incorrectly or omitted, certain functions of this product will be unusable.
- Power supply side
- Parking brake switch
- Ground side
NOTE: The position of the speed detection circuit and the position of the parking brake switch vary depending on the vehicle model. For details, consult your authorized Pioneer dealer or an installation professional.
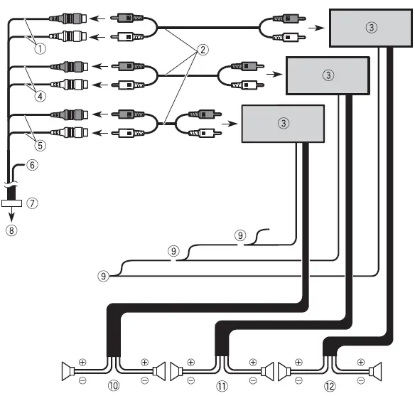
Speaker leads

- Perform these connections when using a subwoofer without the optional amplifier.

- To power supply
- Power cord
- Left
- Right
- Front speaker (STD) or high-range speaker (NW)
- Rear speaker (STD) or middle range speaker (NW)
- White
- White/black
- Gray
- Gray/black
- Green
- Green/black
- Violet
- Violet/black
- Subwoofer (4 Ω)
- When using a subwoofer of 2 Ω, be sure to connect the subwoofer to the violet and violet/black leads of this unit. Do not connect anything to the green and green/black leads.
- Not used.
- Subwoofer (4 Ω) × 2
NOTES
- When a subwoofer is connected to this product instead of a rear speaker, change the rear output setting in the initial setting. The subwoofer output of this product is monaural. For details, refer to the Operation Manual.
- With a two-speaker system, do not connect anything to the speaker leads that are not connected to speakers.
Power amp (sold separately)
Important: The speaker leads are not used when this connection is in use.

- Subwoofer output (SUBWOOFER OUTPUT) 23 cm (9 in.) (STD)
- Low range output (NW)
- RCA cable (sold separately)
- Power amp
- Front output (FRONT OUTPUT) 15 cm (5-7/8 in.) (STD)
- High range output (NW)
- Rear output (REAR OUTPUT) 15 cm (5-7/8 in.) (STD)
- Middle range output (NW)
- Yellow/black (MUTE)
- If you use an equipment with Mute function, wire this lead to the Audio Mute lead on that equipment. If not, keep the Audio Mute lead free of any connections.
- Pre out cord
- To pre out supply
- System remote control
- Connect to Blue/white cable (max. 300 mA 12 V DC).
- Rear speaker (STD)
- Middle range speaker (NW)
- Front speaker (STD)
- High range speaker (NW)
- Subwoofer (STD)
- Low range speaker (NW)
NOTE: Select the appropriate speaker mode between standard mode (STD) and network mode (NW). For details, refer to the Operation Manual.
iPhone and smartphone
NOTES
- For details on how to connect an external device using a separately sold cable, refer to the manual for the cable.
- For details concerning the connection, operations and compatibility of the iPhone, refer to the Operation Manual.
- For details concerning the connection and operations of the smartphone, refer to the Operation Manual.
- The supplied USB Type-C® cable and the USB Type-C to USB Type-A adaptor are for connecting a USB storage device to this unit only. Do not use the cable and the adaptor for other products or purposes.
iPhone

- This product
- USB Type-C port
- USB Type-C cable 1.5 m (4 ft. 11 in.)
- USB Type-C to USB Type-A adaptor
- USB interface cable for iPhone (CD-IU52) (sold separately)
- iPhone
TIP
- When a USB Type-C to Lightning connector cable (Apple Inc. product) (sold separately) is used to connect this unit to an iPhone that supports USB-PD, quick charging is performed for the iPhone.
NOTE
- When you use a USB Type-C to Lightning connector cable (Apple Inc. product) (sold separately), follow the instructions provided with the cable.
Smartphone (Android™ device)

- This product
- USB Type-C port
- USB Type-C cable 1.5 m (4 ft. 11 in.)
- USB Type-C to USB Type-C interface cable (CD-CCU500) (sold separately)
- Smartphone
TIPS
- Use the supplied USB Type-C to USB Type-A adaptor with a USB Type-A to micro USB B cable (CD-MU200) (sold separately) if your smartphone has a micro USB B port.
- When a USB Type-C to USB Type-C cable (sold separately) is used to connect this unit to a smartphone, quick charging is performed.
NOTES
- If you use a cable other than those suggested in the illustration, the main unit may not function properly.
- Android is a trademark of Google LLC.
Camera
When you use the rear view camera, the rear view image is automatically switched from the video by moving the shift lever to REVERSE (R). Camera View mode also allows you to check what is behind you while driving.
WARNING
- USE INPUT ONLY FOR REVERSE OR MIRROR IMAGE REAR VIEW CAMERA. OTHER USE MAY RESULT IN INJURY OR DAMAGE.
CAUTION
- The screen image may appear reversed.
- With the rear view camera you can keep an eye on trailers, or back into a tight parking spot. Do not use for entertainment purposes.
- Objects in rear view may appear closer or more distant than in reality.
- The image area of full-screen images displayed while backing or checking the rear of the vehicle may differ slightly.

- This product
- Pre out supply
- Power supply
- To pre out supply
- To power supply
- Pre out cord
- Power cord
- Violet/white (REVERSE-GEAR SIGNAL INPUT)
- Brown (REAR VIEW CAMERA IN) 23 cm (9 in.)
- Yellow* (SECOND CAMERA INPUT) 23 cm (9 in.)
- Rear view camera (ND-BC8) (sold separately)
- To video output
- RCA power supply cable (supplied with ND-BC8)
- RCA cable (sold separately)
- View camera (sold separately)
- Not available for DMH-W4600NEX
NOTES
- Connect only the rear view camera to brown cable. Do not connect any other equipment.
- Some appropriate settings are required to use rear view cameras. For details, refer to the Operation Manual.
External video component
Using an AUX input

- This product
- Pre out supply
- To pre out supply
- Pre out cord
- AUX input (AUX IN) 15 cm (5-7/8 in.)
- Mini-jack AV cable (sold separately)
- Yellow
- Red, white
- RCA cables (sold separately)
- To video output
- To audio output
- External video component (sold separately)
NOTE: The appropriate setting is required to use the external video component. For details, refer to the Operation Manual.
CAUTION: Be sure to use a mini-jack AV cable (sold separately) for wiring. If you use other cables, the wiring position might differ resulting in disturbed images and sounds.

- L: Left audio (White)
- R: Right audio (Red)
- V: Video (Yellow)
- G: Ground
Using an HDMI™ input

- This product
- Micro HDMI port
- Micro HDMI to HDMI cable (sold separately)
- HDMI device (sold separately)
NOTE
- The terms HDMI, HDMI High-Definition Multimedia Interface, and the HDMI Logo are trademarks or registered trademarks of HDMI Licensing Administrator, Inc.
Rear display

- This product
- Pre out supply
- To pre out supply
- Pre out cord
- Yellow (REAR MONITOR OUTPUT) 30 cm (11-7/8 in.)
- RCA cable (sold separately)
- To Video input
- Rear display with RCA input (sold separately)
WARNING
NEVER install the rear display in a location that enables the driver to watch the video source while driving. This product’s rear video output is for connection of a display to enable passengers in the rear seats to watch the video source.
Installation
Precautions before installation
CAUTION
- Never install this product in places where, or in a manner that:
- Could injure the driver or passengers if the vehicle stops suddenly.
- May interfere with the driver’s operation of the vehicle, such as on the floor infront of the driver’s seat, or close to the steering wheel or shift lever.
- To ensure proper installation, be sure to use the supplied parts in the manner specified. If any parts are not supplied with this product, use compatible parts in the manner specified after you have the part compatibility checked by your dealer. If parts other than supplied or compatible ones are used, they may damage internal parts of this product or they may work loose and the product may become detached.
- It is extremely dangerous to allow cables to become wound around the steering column or shift lever. Be sure to install this product, its cables, and wiring away in such so that they will not obstruct or hinder driving.
- Make sure that leads cannot get caught in a door or the sliding mechanism of a seat, resulting in a short circuit.
- Please confirm the proper function of your vehicle’s other equipment after installation of this product.
- Do not install this product where it may
- obstruct the driver’s vision,
- impair the performance of any of the vehicle’s operating systems or safety features, including airbags, hazard lamp buttons or
- impair the driver’s ability to safely operate the vehicle.
- Never install this product in front of or next to the place in the dashboard, door, or pillar from which one of your vehicle’s airbags would deploy. Please refer to your vehicle’s owner’s manual for reference to the deployment area of the frontal airbags.
Before installing
- Consult with your nearest dealer if installation requires drilling holes or other modifications of the vehicle.
- Before making a final installation of this product, temporarily connect the wiring to confirm that the connections are correct and the system works properly.
Installation notes
- Do not install this product in places subject to high temperatures or humidity, such as:
- Places close to a heater, vent or air conditioner.
- Places exposed to direct sunlight, such as on top of the dashboard.
- Places that may be exposed to rain, such as close to the door or on the vehicle’s floor.
- Install this product horizontally on a surface within 0 to 40 degrees tolerance (within 5 degrees to the left or right). Improper installation of the unit with the surface tilted more than these tolerances increases the potential for errors in the vehicle’s location display, and might otherwise cause reduced display performance.

- When installing, to ensure proper heat dispersal when using this unit, make sure you leave ample space behind the rear panel and wrap any loose cables so they are not blocking the vents.

- Do not forcibly insert this unit into the dashboard/console when installing. Applying excessive force to the connectors (HDMI and USB Type-C) may cause a malfunction.
- The cords must not cover up the area shown in the figure below. This is necessary to allow the amplifiers to radiate freely. (DMH-WC6600NEX/DMHWC5700NEX).

- Do not cover this area
Installation using the screw holes on the side of this product
DMH-WT8600NEX/DMHWT7600NEX/ DMH-WT86NEX/DMHWT76NEX
Installation tips
- The following procedure describes how to install this product with an LCD screen attached to the unit. Depending on the vehicle or installation location, you may need to adjust the mounting position of the LCD screen in order to prevent impairment of vehicle driving operations. For details on the mounting LCD screen dimensions, refer to The adjusting position and mounting dimension of the display before installing.
WARNING: Do not use a mounting sleeve to install this unit to prevent it from popping out or rattling.
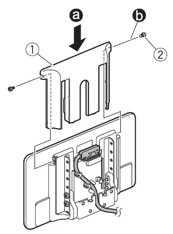
- Adjust the front-back position of the front panel by removing the flush surface screws on the front edge of the unit (a ) then fix the face panel by using the screw ( b) (optional). Depending on the vehicle, the frontback position of the front panel may need to be adjusted to mount the LCD screen. Slide the face panel to the front before installing the unit to the vehicle.

- Screw
- Fasten this product to the factory radio-mounting bracket. Position this product so that its screw holes are aligned with the screw holes of the bracket, and tighten the screws at three locations on each side.
- TIP: The amount of this unit’s protrusion from the dashboard/console can be adjusted by shifting the position of the screw hole ofthis unit to the factory radio-mounting bracket.

- Factory radio-mounting bracket
- If the pawl interferes with the installation, you may bend it down out of the way.
- Dashboard or console
- Binding head screw (8 mm) or flush surface screw Be sure to use the screws supplied with this product.
- TIP: The amount of this unit’s protrusion from the dashboard/console can be adjusted by shifting the position of the screw hole ofthis unit to the factory radio-mounting bracket.
- Fasten the LCD screen mounting bracket to the main unit at the suitable position.

- LCD screen mounting bracket
- Binding head screw (4 mm × 6 mm)

- TIP: The mounting left-center-right position of the LCD screen mounting bracket can be changed depending on the vehicle or installation location of the main unit.

- Detach the monitor cable cover from the LCD screen (a ), then connect the monitor cable to the LCD screen (b ). After that, attach the LCD screen with adjusting the up-down position (c ) to this unit by using the screws each side (d ).

- Monitor cover
- Binding head screw (4 mm × 12 mm)
- Secure the monitor cable to the hook on the back of the LCD screen then attach the monitor cover (a ) by using the screws (b ).

- Monitor cover
- Machine screw (2 mm × 4 mm)
NOTES
- Be careful not to lose the small screws (2 mm × 4 mm) for attaching the monitor cover.
- It is recommended that you use a magnetic screwdriver when attaching the monitor cover.
- Two spare screws (2 mm × 4 mm) for attaching the monitor cover are included.
DMH-WC6600NEX/DMH-WC5700NEX
Installation tips
The following procedure describes how to use the supplied parts to install this product with the LCD screen attached to the unit. It is also possible to install this product so that the LCD screen is separate from the unit. For details, visit the Pioneer website for your region. For some types of vehicles, it is necessary to use an installation kit (sold separately) when installing. For details, visit the Pioneer website for your region.
- First attach the supplied side brackets to the LCD screen (a ), then attach them to this unit (b ). After that, connect the monitor cable to the LCD screen (c ).

- Side bracket (for attaching LCD screen to unit)
- Binding head screw (5 mm)
- Be sure to use the screws supplied with this product.
- Monitor cable
- Attach the monitor cable to the unit with heat resistant tape (sold separately).
- Fasten this product to the factory radio-mounting bracket. Position this product so that its screw holes are aligned with the screw holes of the bracket, and tighten the screws at three locations on each side. Use either the binding head screws or flush surface screws, depending on the shape of the bracket’s screw holes.
TIP: The amount of this unit’s protrusion from the dashboard/console can be adjusted by shifting the position of the screw hole of this unit to the factory radio-mounting bracket.

- Factory radio-mounting bracket
- If the pawl interferes with installation, you may bend it down out of the way.
- Dashboard or console
- Binding head screw (8 mm) or flush surface screw Be sure to use the screws supplied with this product.
DMH-W4600NEX/DMH-W4600NEX
- Fasten this product to the factory radio-mounting bracket. Position this product so that its screw holes are aligned with the screw holes of the bracket, and tighten the screws at three locations on each side. Use either the truss head screws (5 mm × 9 mm) or flush surface screws (5 mm × 9 mm), depending on the shape of the bracket’s screw holes.
- TIP: The amount of this unit’s protrusion from the dashboard/console can be adjusted by shifting the position of the screw hole of this unit to the factory radio-mounting bracket.

- Factory radio-mounting bracket
- If the pawl interferes with installation, you may bend it down out of the way.
- Dashboard or console
- Truss head screw or flush surface screw Be sure to use the screws supplied with this product.
- TIP: The amount of this unit’s protrusion from the dashboard/console can be adjusted by shifting the position of the screw hole of this unit to the factory radio-mounting bracket.
Installing the GPS antenna
CAUTION: Do not cut the GPS antenna lead to shorten it or use an extension to make it longer. Altering the antenna cable could result in a short circuit or malfunction and permanent damage to this product.
Installation notes
- The antenna should be installed on a level surface where radio waves will be blocked as little as possible. Radio waves cannot be received by the antenna if reception from the satellite is blocked.

- Dashboard
- Rear shelf
- When installing the GPS antenna inside the vehicle, be sure to use the metal sheet provided with your system. If this is not used, the reception sensitivity will be poor.
- Do not cut the accessory metal sheet. This would reduce the sensitivity of the GPS antenna.
- Take care not to pull the antenna lead when removing the GPS antenna. The lead may become detached.
- Do not paint the GPS antenna, as this may affect its performance.
When installing the antenna inside the vehicle (on the dashboard or rear shelf)
WARNING: Do not install the GPS antenna over any sensors or vents on the dashboard of the vehicle, as doing so may interfere with the proper functioning of such sensors or vents and may compromise the ability of the metal sheet under the GPS antenna to properly and securely affix to the dashboard.

- GPS antenna
- Metal sheet
- Peel off the protective sheet on the rear.
- Double-sided tape
- Clamps
- Use clamps to secure the lead where necessary inside the vehicle.
NOTES
- Affix the metal sheet on the surface as level as possible where the GPS antenna faces the window.
- Affix the GPS antenna on the metal sheet using the double-sided tape.
- The metal sheet contains a strong adhesive which may leave a mark on the surface if it is removed.
- When attaching the metal sheet, do not cut it into small pieces.
- Some models use window glass that does not allow signals from GPS satellites to pass through. On such models, install the GPS antenna on the outside of the vehicle.
Installing the microphone
- Install the microphone in a place where its direction and distance from the driver make it easiest to pick up the driver’s voice.
- Be sure to turn off (ACC OFF) the product before connecting the microphone.
- Depending on the vehicle model, the microphone cable length may be too short when you mount the microphone on the sun visor. In such cases, install the microphone on the steering column.
Mounting on the sun visor
- Fit the microphone lead into the groove.

- Microphone lead
- Groove
- Attach the microphone clip to the sun visor.

- Microphone clip
- Clamps
Use separately sold clamps to secure the lead where necessary inside the vehicle. Install the microphone on the sun visor when it is in the up position. It cannot recognize the driver’s voice if the sun visor is in the down position.
Installation on the steering column
- Detach the microphone base from the microphone clip by sliding the microphone base while pressing the tab.

- Tab
- Microphone base
- Mount the microphone on the steering column.

- Double-sided tape
- Clamps
Use separately sold clamps to secure the lead where necessary inside the vehicle.
NOTE: Install the microphone on the steering column, keeping it away from the steering wheel.
Adjusting the microphone angle

- The microphone angle can be adjusted.
The adjusting position and mounting dimension of the display
DMH-WT8600NEX/DMHWT7600NEX/ DMH-WT86NEX/DMHWT76NEX
The mounting position of this unit’s display can be adjusted (front-back/up-down/ right-left/angle). When mounting the display, adjust the mounting position and dimensions so that your view is clear and it does not impair your driving.
WARNING
Make sure that none of the following conditions exist when mounting the display. Otherwise, an accident may occur.
- It impairs the operation of the steering wheel and levers (shift lever, windshield wiper switch, turn signal switch, etc.).
- It impairs the operation of the airbags.
- It significantly impairs the operation of the hazard switch.
- It impairs the ability to identify or operate other control switches.
- You are unable to see gauges, meters or warning indicators.
- It interferes with in-vehicle devices (switches, panel, glove compartment, cup holder, etc.).
Depending on the vehicle, the display may hinder access to the glove compartment or cup holder, or it may block the air conditioner vents.
Display mounting dimensions and adjustable positions
Front-back position

Left-right position
DMH-WT8600NEX/DMH-WT86NEX

DMH-WT7600NEX/DMH-WT76NEX

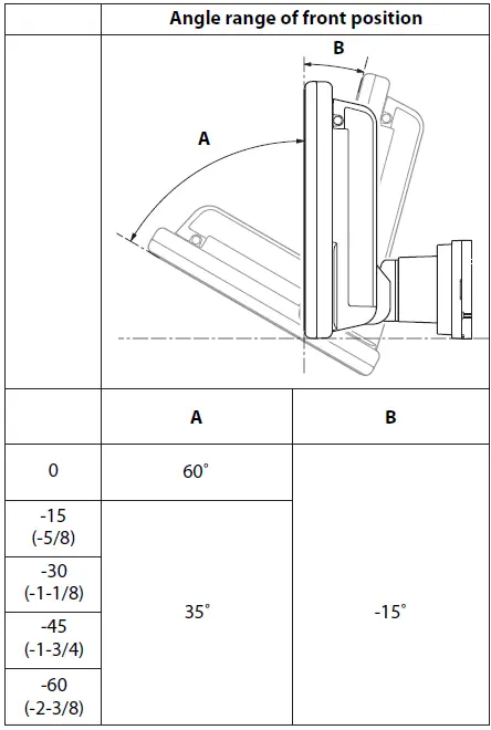
Adjustable display angles and up-down positions

WARNING: Keep hands and fingers clear of this product when adjusting the LCD screen angle. Be especially cautious of children’s hands and fingers.
NOTE: Certain positions cannot be adjusted and held depending on the up-down position and the front-back position. For details, refer to Mounting dimension with the angle range of the display.
Mounting dimension with the angle range of the display
Front angle range

- mm (in.)
DMH-WT8600NEX/DMH-WT86NEX

- mm (in.)
DMH-WT7600NEX/DMH-WT76NEX

- mm (in.)
Back angle range

- mm (in.)
DMH-WT8600NEX/DMH-WT86NEX

- mm (in.)
DMH-WT7600NEX/DMH-WT76NEX

NOTES
- Where there are no numbers in the table, this indicates that the display cannot be adjusted and held with that angle and dimensions.
- The displayed angle range is the movable range of this unit, and it may vary depending on the vehicle in which the unit is installed.
CONTACTS
PIONEER CORPORATION
- 28-8, Honkomagome 2-chome, Bunkyo-ku, Tokyo 113-0021, Japan
PIONEER ELECTRONICS (USA) INC.
- P.O. Box 1540, Long Beach, California 90801-1540, U.S.A.
- TEL: (800) 421-1404
PIONEER EUROPE NVV
- Haven 1087, Keetberglaan 1, B-9120 Melsele, Belgium/Belgique
- TEL: (0) 3/570.05.11
PIONEER ELECTRONICS AUSTRALIA PTY. LTD.
- 5 Arco Lane, Heatherton, Victoria, 3202 Australia
- TEL: (03) 9586-6300
PIONEER ELECTRONICS DE MÉXICO S.A. DE C.V.
- Blvd. Manuel Avila Camacho 138, 10 piso Col.Lomas de Chapultepec, México, D.F. 11000
- Tel: 52-55-9178-4270
- Fax: 52-55-5202-3714
© 2020 PIONEER CORPORATION







































