planika KF22 Faro Freestanding Gas Heater Owner’s Manual
PACKAGE CONTENTS




| Part | Description | Quantity |
| 1 | Metal hood | 1 |
| 2 | Tempered glass screen | 4 |
| 3 | Burner | 1 |
| 4 | Door | 1 |
| 5 | Hose with pressure reducer (11 WC) | 1 |
| 6 | Wheels with screw | 4 |
| 7 | Nut | 4 |
| 8 | Large washer | 4 |
| 9 | Hexagonal spring washer | 4 |
| 10 | Bag of decorative stones | 1 |
| 11 | AAA Battery | 1 |
SAFETY INSTRUCTIONS
Please read and understand this entire manual before attempting to assemble, operate or install the product.
This manual contains important information about the assembly, operation and maintenance of this patio heater.
General safety information is presented in these first few pages and is also located throughout the manual. Keep this manual for future reference and to educate new users of this product. This manual should be read in conjunction with the labeling on the product. Safety precautions are essential when any mechanical or propane fueled equipment is involved. These precautions are necessary when using, storing, and servicing this item. Using this equipment with the respect and caution demanded will reduce the possibilities of personal injury or property damage.
The following symbols shown below are used extensively throughout this manual. Always heed these precautions, as they are essential when using any mechanical or fueled equipment.
WARNING
- Children and adults should be alerted to the hazards of high surface temperatures and should stay away to avoid burns or clothing ignition.
- Young children should be carefully supervised when they are in the area of the appliance.
- Clothing or other flammable materials should not be hung from the appliance or placed on or near the appliance.
- Any guard or other protective device removed for servicing the appliance shall be replaced prior to operating the appliance.
- Installation and repair should be done by a qualified service person. The appliance should be inspected before use and at least annually by a qualified service person. More frequent cleaning may be required as necessary. It is imperative that the control compartment, burners, and circulating air passageways of the appliance are kept clean.
- Do not use this appliance if any part has been under water. Immediately call a qualified service technician to inspect the appliance and to replace any part of the control system and any gas control that has been under water.
- California – P65Warnings : This product when used with propane/butane gas can expose you to chemicals including Di(2-ethylhexyl) phthalate (DEHP), which are known to the State of California to cause cancer and birth defects or other reproductive harm. For more information go to www.P65Warnings.ca.gov
- For use outdoors or in amply ventilated areas only. The use of this appliance in enclosed areas is DANGEROUS and is PROHIBITED.
- An amply ventilated area must have a minimum of 25 % of the surface area open. The surface area is the sum of the walls surface.
Fig 1 – Minimum ventilation area
- Do not move the appliance when in operation.
- Shut off the valve at the gas cylinder or the regulator before moving the appliance.
- In case of violent wind precautions must be taken against tilting of the appliance.
- This appliance must be used, and the gas cylinder stored, in accordance with the regulations in force.
- The FARO fireplace should installed and controlled annually according to the below installation manual as well as enforced national and local laws regarding gas safety (installation and use).
- One needs to assess whether the data one the product plaque complies with the local type of gas and pressure.
- Do not change the structure of the device or its sealed elements nor modify the default settings of the FARO fireplace.
- Do not set any additional imitation blocks nor any glowing coal fragments on the burner or in the combustion chamber.
- A CO2 or a powder fire extinguisher needs to be placed near the device.
- During the first ignition the FARO fireplace needs to be burnt on maximum level for a few hours in order for the elements to acquire correct temperature and for the remains of paint, lacquer and lubricant to evaporate.
- Do not move the device while it’s working.
- FARO has been designed for decorative purposes. The surface of the FARO fireplace including the glass screens may get hot (up to 100 degrees Celsius / 212 degrees Fahrenheit) with the exception of the side walls of the appliance and the control panel.
- Glass panels must be installed when FARO is in use.
- This appliance must be kept away from flammable materials during use. Do not place any combustible materials within a distance of 0,3 m (12”) of FARO and 1 m (40”) over the appliance (Fig 2).
Fig 2 – Minimum distances
- When the FARO fireplace is on it’s not to be exposed to rain.
- When not being used the FARO is to be protected from atmospheric conditions and the main valve of the gas cylinder needs to be turned off.
- If the FARO is not in use for a longer period of time (e.g. winter time), we advise you to store it inside.
- All parts of the FARO fireplace are made of stain resistant material.
- Never leave a turned on FARO without supervision.
- The FARO fireplace needs to be installed in a place inaccessible for children, unauthorized persons or animals for the direct contact with the flame or hot parts of the device to be impossible.
- In case of heavy wind the FARO fireplace needs to be immediately turned off and one needs to await until the heavy wind passes.
- In case of noticing any sort of gas leaks the fireplace as well as the main valve of the gas cylinder need to be turned off.
- After use turn off the gas cylinder valve.
- Use only the type of gas and pressure specified by the manufacturer.
- Change the gas cylinder in a amply ventilated area, away from any ignition source (candle, cigarettes, other flame producing appliances).
- Do not obstruct the ventilation holes of the cylinder housing.
- In the event of gas leakage, the appliance shall not be used or if alight, the gas supply shall be shut off and the appliance shall be investigated and rectified before it is used again.
- The gas cylinders should always be placed in a vertical position – during use and transport.
- Always store the gas cylinder in an easily accessible place to allow its immediate turn-off.
- During the installation process do not allow an open flame or any ignited object to reach the gas cylinder.
- Leaks should be found with the use of a cleaning liquid and water. If bubbles form on the surface that means that a there’s an existing leak.
- Always use a pressure regulator between the gas bottle and the device.
- Use only approved and certified gas connection linkage.
- Check the flexible hose at least once per month and each time the cylinder is changed. If it shows signs of cracking, splitting or other deterioration it shall be exchanged for new hose of the same length and of the equivalent quality.
- Do not connect the gas cylinder directly to the appliance without regulator.
- Use only the type of gas and the type of cylinder specified in these instructions.
- The elastic linkage connecting gas to the fireplace is to be led away from sharp edges and hot surfaces. Refrain from bends and twists of the elastic connection on its full length.
- Remember that the LPG bottle should be stored in a well-ventilated place. LPG gas is heavier than air and its accumulation near the bottom surface may generate an explosive mixture.
- The gas cylinder needs to be shut if the fireplace is not being used.
- Filling the gas cylinders is to be commissioned to certified gas filling stations.
- Replacement of empty cylinders for full ones is to be conducted only in authorised locations.
ASSEMBLY INSTRUCTIONS
Unboxing and installation
- The contents of the boxes need to be carefully unwrapped from the foam foil.
- Remove the bags with decorative stones from the burner reservoir and place them away from it.
- Carefully pull out the glass shield wrapped in cardboard placed on the inside of the device
- Check the completeness of the elements with the contents list.
- Make sure that the device nor its elements weren’t damaged during the transportation (if they were, notify the supplier).
- Place FARO on a flat, paved surface outside of the building, preferably on the place of final installation. Leave sufficient space on the side of the appliance where control panel is located (minimum 1 m / 40”).
- The decorative stones are to be scattered evenly around the reservoir to completely cover the burner of the fireplace.
Fig 3 – Decorative stones arranged on burner
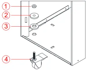
Wheels installation
Fig 4 – Wheels installation
![]() |
|
|
|
| Place the screw through the hole in the bottom of the device and secure it with hexagonal washer and large washer with nut from inside |
Installation of the glass screens and metal hood
- Carefully remove cardboard and foam foil from the glass screens.
- Remove all contaminations from the glass shields which could burn out on the glass during operation of the FARO (in particular fingerprints).
- Install glass shields in the corresponding slots on the top of appliance.
- Install the metal hood on the top of the all four glass screens
- Remove the glass shield only in case of damage of the glass.
Fig 5– Installation of the glass in slots and metal hood on glass
Gas cylinder montage
The gas linkage attached to the device allows to place the gas bottle maximally 1 meter (40”) away from the connected control panel during it replacement. During operation the gas cylinder is hidden inside the device behind easily removable doors.
Fig 6– Gas cylinder installation
WARNING
- Before gas cylinder replacement, please block the wheels of the device.
- The montage and service needs to be conducted by a qualified professional, a company or the gas supplier.
Before proceeding with the connection of the gas cylinder to the fireplace all activity regarding the correct placement and installation of the FARO needs to be already performed. Place the gas linkage away from hot or sharp edges and make sure it is not twisted.
The FARO is delivered together with an elastic gas linkage which, on one end is connected to the valve of the device and one the other end to the 11 WC regulator (in the twist-on version) ready to be connected to the gas cylinder. One needs to control the expiry date both of the regulator as well as the gas linkage and if necessary (for instance: broken, cut, scratched linkage) replace the components for new ones according to national standards and norms.
The FARO fireplace can use metal or steel bottles or composite bottles filled with propane butane gas or propane gas.
This device features a twist-on regulator with current pressure of 11 WC.
WARNING
- NEVER use an unstable gas connection (without a regulator).
Twist-on connection: The most important thing is the black seal. Always check if the seal is present and whether it hasn’t been damaged during the gas cylinder replacement. Some connections have a knob to fasten them in place while others require the use of a wrench. Tighten securely (left thread). Using the tool pay attention not to fasten the connection too tightly as this may damage the seal.
Connection | Disconnection |
| 1. Check if the bottle valve is TURNED OFF turning it clockwise 2. Remove the protection tip and store it for later use. | 1. Turn off the FARO – put it into the OFF position. The main burner need to be turned off. |
3. Before making the connection check if the black seal is not damaged.![]() | 2. Turn the (clockwise). bottle valve into the OFF position![]() |
4. Fit the connecting nut to the cylinder with the use of a correct wrench or the connecting knob. (left thread) Do not allow the gas bottle connectors to be fastened too tightly.![]() | 3. NEVER DO NOT un-mount the regulator (or connecting nut) when the bottle valve is open. 4. TAKE OFF the regulator (or the connecting nut) with the use of a wrench or a connecting knob. |
5. When the gas flow is required turn the valve of the bottle counter-clockwise.![]() |
WARNING
Check the gas connection for leakage. If anything suggests a leak is present (for instance a characteristic gas smell) close the gas bottle valve and under no circumstances turn the device off before removing the leak.
- After removing the leak one may open the gas bottle valve again.
OPERATION INSTRUCTIONS
The FARO fireplace has a control valve with a built-in ignition for the main burner (without pilot flame). The flame height of the main burner may be appropriately regulated with by turning the knob. Next to the knob is placed electric ignition button (powered by AAA battery). The control panel is placed in front just above the door of the gas cylinder compartment (fig 7).
Fig 7– Control panel
Start-up of the device
- Make sure that the knob is placed in „OFF” position (all the way clockwise) (Fig 8).
Fig 8 – Off position
- Open the valve on gas cylinder.
- Press the knob and while still pressing turn it counter-clockwise from position (1) to position (2)
Fig 9 – Turning on the device

- While keeping the knob still pressed start the flame by pressing the ignition button (3).
Fig 10 – Pressing the on button
- A spark will appear which ignites the main burner on the minimum flame height. If the flame did not ignite repeat this process 2-3 times. This will be required especially when you have replaced and installed a new LPG gas cylinder.
- When the flame is ignited keep holding the knob for around 5 seconds until the thermo-couple, which will keep the main valve in an open position, warms up.
- You may now release the knob. If however the flame is extinguished repeat the process once again until a stable flame is achieved.
WARNING
After 2-3 unsuccessful attempts terminate and check the connections. Try again in 10 minutes. If the installed gas bottle is new or the fireplace has not been used for a longer period the first thing that needs to be done is to release air from the gas linkage. In this case conducting a few attempts will be needed until the flame is ignited.
Regulation of the flame size
- When the flame is burning the desired height of the flame may be adjusted and regulated by turning the knob clockwise or counter-clockwise.
- To achieve a higher flame turn the knob counter-clockwise to “Hi” position. To achieve a lower flame turn the knob clockwise to “Lo” position (Fig 11).
Fig 11 – Adjusting the flame high
Device shutdown
- To turn off the device, simultaneously press and turn the knob all the way clockwise (Fig 12). The gas supply will be cut and the flame on burner will be turned off.
Fig 12 – Turning off the device
- Additionally, close also the valve on the gas cylinder.
Replacing the battery
If the battery is inserted incorrectly, the electronic ignitor may be irreparably damaged. Only replace the battery when the appliance has been completely switched off.
The battery is placed in the container located on the control panel next to the flame regulation knob.
- Unscrew the ignition button
- Remove the battery and place the new one into the container.
WARNING
Remember about proper polarization of the battery. - Screw the cover of the battery container.
Fig 13 – Replacing the battery
TESTING
WARNING
- Never turn on the device if the characteristic smell of gas is perceptible.
In the event of gas leakage, the appliance shall not be used or if alight, the gas supply shall be shut off and the appliance shall be investigated and rectified before it is used again. If you smell gas during the operation of the fireplace turn off the device immediately and cut off the gas supply from the gas cylinder by shutting its valve.
Anti – tilt sensor
FARO is equipped with the anti-tilt valve which shuts the device down in case if the fireplace is tilted or collapsed. The valve automatically cuts off the gas supply to the controller and this extinguishes the flame.
WARNING
- Make sure the anti-tilt valve is always installed in upward position.
Fig 14– Anti-tilt sensor
Checking for gas leaks
- Check if all connections are airtight.
- To do that apply all connections with soapy water (or water with another foamy substance) or with a professional spray for leak detection.
- If air-bubbles are present that means the connection has a leak.
- Remove the leaks in the identified spaces.
- Check for leaks once again.
- After the inspection dry the inspected connections.
- The device may only be used again after all leaks are removed.
- If the problem happens again please contact the dealer.
Checking the flame appearance
- Burn the FARO on max flame height and check the appearance of the flame.
- The flame should be evenly placed on the whole surface of the main burner.
- If visible gaps are present or there are substantial differences in flame height turn off the fireplace and after the device is cooled adjust the placement of decorative stones in such a way for them to be evenly placed on the whole surface of the main burner.
- Turn on the fireplace and check the appearance of the flame once again.
MAINTENANCE AND UPKEEP
We recommend cleaning the ignitor, thermocouple and the main burner before the device is started again after its been removed from storage during the winter period.
Testing and cleaning
- The main burner – if necessary, remove broken parts of stones and the existing dust.
- Thermocouple (if necessary, remove the existing sediment). In the event of visible damage contact your dealer.
- Igniter – gap between igniter and the burner should not be bigger than 5 mm (1/4”)
- Glass shield – check for dirt smudges or possible scratches or cracks. If cracks are present replace the glass screen for a new one. To conduct this contact your dealer.
- Gas linkage and pressure regulator (in case their expiry date is invalid replace these ancillaries for new ones).
- If you encountered problems with the regulator, gas linkage, burner or regulation valves do not try to fix these parts. Contact a sales person, an authorised service or an importer in order to acquire spare parts. To ensure the device is working efficiently use only original spare parts.
Glass screens cleaning
Most of the existing types of smudges may be wiped with a dry cloth. In case of more substantial smudge you may use liquids normally applied to ceramic tiles or windows. Always dry the glass screen to avoid damp patches which could irreversibly embed into the glass.
WARNING
- Avoid leaving fingerprints on the glass. They will be embedded into the glass and you will not be able to clean them.
WARRANTY
Planika Sp. z o.o. grants the Client guarantee of quality for the smooth operation of the goods specified on the sales document. The warranty is determined for a given period from the date of purchase (based on the warranty card together with the receipt of purchase). The warranty period starts at the moment of purchase of the original product by the first end user. Product may consist of several separate parts and different parts may be covered by a different warranty periods. The manufacturer gives 2 year warranty from date of purchase an insert for its smooth operation.
Fireplace sealing is covered by warranty for a period of 1 year from date of purchase of the device. Guarantee does not cover decorative ceramic logs/stones and glass. The use of the fireplace insert and operating conditions must be in accordance with the user manual and with the regulations in force. Any damages caused by improper handling, storage, of poor maintenance, incompatible with the conditions laid down in the manual and due to other reasons not due to the fault of the manufacturer, will void the warranty. In the event of a complaint, always contact your dealer. Supplier will contact the company Planika, if it deems it necessary. Factory Warranty is valid for 2 years from the date of purchase. Details of the warranty are available on the https://www.planikafires.com/warranty-cards/
TROUBLESHOOTING
PROBLEM | POSSIBLE CAUSE | CORRECTIVE ACTION |
| SMELL OF GAS | CLOSE THE VALVE ON THE GAS CYLINDER IMMEDIATELY. DO NOT USE THE DEVICE UNTIL LEAKS HAVE BEEN REMOVED. | |
| Leak detected at cylinder, regulator or other connection. |
|
|
| Burner does not ignite |
|
|
| Igniter Not Working |
|
|
| Low efficiency, „cracking” sounds |
|
|
| Thumping sounds made by the regulator. | The cylinder valve has opened rapidly. | Unfasten the bottle valve slowly. |
| A vivid/ bright orange and smoky flame of the burner. | Holes blocked in the apparatus producing the gas and air mixture. | Unmount the burner and clean/ unblock the apparatus’ holes. |
MANUFACTURER’S CONTACT DETAILS
| Produced by: | Planika LLC – Authorized Dealer: |
| Planika Sp. z o.o. Bydgoskich Przemysłowców 10 85-862 Bydgoszcz, Poland Telephone: + 48 52 364 11 60 | 1 Ackerman avenue Clifton, USA NJ 07011 Tel: (201) 933 7787 Fax: +1 201 933 7741 www.planikausa.com [email protected] |







































