
imilab EC4 Spotlight Battery Camera Set
The product user guide contains product features, how to use, and the operating procedure. Read the user manual carefully to get the best experience and avoid unnecessary damage. Keep this manual for future reference. If you have any questions or comments about the device, please contact the customer line. www.alza.co.uk/kontakt +44 (0)203 514 4411 Alza.cz a.s., Jankovcova 1522/53, Holešovice, 170 00 Praha 7, www.alza.cz
For Camera Installation 
For Hub Installation 
- Camera quantity and accessories vary by bundle package.
- Hub power adapter varies by region.
Product Overview
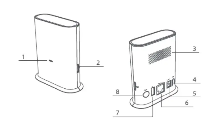
Hub
- Status LED
- Power Port
- MicroSD Card Slot
- Ethernet Port
- Speaker
- USB Charging Port
- Reset Button
- Alarm
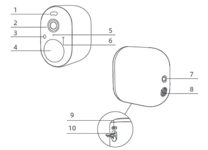
Camera
- Spotlight
- Status LED
- Lens
- Mounting Hole
- Light Sensor
- Speaker
- Motion Sensor
- SYNC Button
- Microphone
- USB Charing Port
Connecting the Hub
- Use the ethernet cable provided to connect the hub to your home router.
- Power on the hub.

- 3.The status LED indicator turns flashing orange then hub is ready for setup.

Setting up the System
Download the app and set up the system
- Download the Imilab Home APP from the app store (ios devices) or google play (Android devices).

- Sign up for an imilab home account, then follow the onscreen instructions to complete the setup.

Mounting the Camera
Select height and location
- Hang the camera 7-10 ft (2-3m) above the ground. This height maximizes the detection range of the motion sensor of the camera.

Mount the camera
The camera can be mounted both indoors and outdoors.
- Drill two holes on the wall by using the base of the IMILAB EC4 as a template. It is recommended that you mark the locations of the hole with a pencil before drilling. The diameter of each hole is approximately 6 mm, and the depth is approximately 30mm.

- Insert the anchors into the holes.

- Firmly screw the base of the mounting bracket onto the wall.

- Match the bottom groove of the camera mounting base with the raised area on the base. Press down until the two surfaces are flush, then turn it in either direction to lock it in place.

- Tighten the camera to the mounting bracket and adjust the viewing angle by checking the live stream feed in the app.

Warning: To avoid any damages or injuries, the device must be securely fastened to the Ceiling/wall as specified in the installation instructions. When mounting the security camera on a wall: Please note that the wall must be able to support at least triple the product’s total weight.
Charging the Camera
Method 1
Method 2
Explanations for LEDS


Specifications
- Name: IMILAB EC4
- Model: CMSXJ31A
- Resolution: 2560×1440
- Aperture: F1.6
- Power Input: 5 V 2 A
- Item Dimensions: 82 x 86.8 x 50 mm
- Operating Temperature: -20 °C ~ 50 °C
- FCC ID:2APA9-CMSXJ31A
- Name: IMILAB Smart Hub
- Model: CMWG31B
- Power Input: 12 V 1.5 A
- Item Dimensions: 89.2 x 38 x 101.3 mm
- Operating Temperature: -10 °C ~ 45 °C
- Expandable Memory: MicroSD card (up to 64 GB)
- Wireless Connectivity: Wi-Fi IEEE 802.11 b/g/n 2.4 GHz
- Wired Connection: A 10/100M Self-adaptive ethernet interface FCC ID:2APA9-CMWG31B

































