ricoo S2711 Monitor Wall Mount

Product Information
Weight Capacity: Minimum: 2.5kg / 5.5lbs,Maximum: 15kg / 33lbs
VESA Compatibility: Supports VESA hole distance in the range of 75x75mm to 100x100mm
Manufacturer: E.N.Z. Engineering GmbHContact Information:
- Email: [email protected]
- Website: www.ricoo.eu
- Address: Salzmatten 6, 79341 Kenzingen (Germany)
Product Usage Instructions
- Before installation, check the distance between the VESA mounting holes on your display.
- Ensure that the load weight does not exceed the specified maximum weight capacity to avoid property damage or serious injury.
- Follow the provided assembly instructions (refer to the manual for detailed illustrations).
- Use the recommended professional bubble level for accurate installation.
- Attach the provided components (C, D, A, B, E, M-A, M-B, M-C, N-A, N-B, W-A, W-B) according to the instructions and tighten them securely.
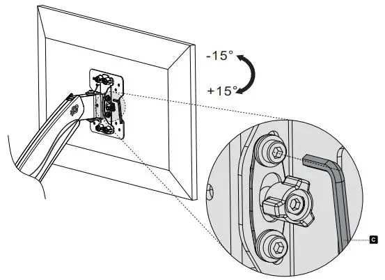
- If necessary, perform tension-balance adjustment after the screen assembly using the Allen key. Keep the arm level during adjustment and slightly loosen or tighten the adjustment screw based on the display weight.
- When removing the display, make sure the front arm is on top to avoid injury from the gas pressure spring.
- Once the installation is complete, ensure that the display is securely mounted by checking for any wobbling or instability.
- If you have any questions or need further assistance, contact the manufacturer’s support team via email or visit their website.
Note: The manual provides additional instructions and illustrations for specific installation steps. Please refer to the manual for a complete guide.
Assembly Instructions

Warning: Do not exceed listed load weight. Property damage oder serious injury may occur!

UNPACKING
Scope of delivery

We recommend using a professional level.
The numbering on the plastic bag may differ/missing completely!

Please check BEFORE installation distance between VESA mounting holes on your display! This screen mount supports VESA hole distance in the minimum and maximum distance ranges given above.
NOTE: READ THE ENTIRE INSTRUCTION MANUAL BEFORE YOU START INSTALLATION AND ASSEMBLY
Please note: Images in these assembly instructions are only technical presentation of the product. Actual product design may vary minimally.
Do not begin the installation until you have read and understood all the instructions and warnings contained in this installation sheet. If you have any questions regarding any of the instructions or warnings, please contact your local distributor. This product was designed to be installed and used ONLY as specified in this manual. Improper installation of this product may cause damage or serious injury. This product may only be assembled/installed by the technical staff. Make sure that the supporting surface will safely support the combined weight of the equipment and all attached hardware and components. Always use an assistant or mechanical lifting equipment to safely lift and position the equipment. Make sure that before and after the installation of the product neither you nor somebody else can be injured and other objects can be damaged. In case of doubt request for help from an expert. This product is intended for indoor use only. Using this product outdoors could lead to product failure and personal injury. Tighten screws firmly, but do not over tighten. Over-tightening can cause damage the items, this greatly reduces their holding power.
By reason of large television construction types on the market, we can’t adjust our screen installation materials for each screen type. Therefore it is possible that the screws which are numerously delivered don’t fit with your TV/Monitor. We ask for your understanding that we can’t cover up all possibilities of many screen types.
Each wall is built up of different materials which can result a special requirement. Therefore we are concentrated on the delivery of installation materials only for mass concrete walls. Use
our included installation accessories only for mass concrete walls.
When mounting on the wooden beams wall, make sure that the fastening screws are anchored in the center of the beams. It is highly recommended to use a beamfinder. If your walls have a special demand of materials, we advise you to ask in an expert shop for a suitable acquirement of the installation materials.

Warning: Supplied plastic anchors are only suitable for solid concrete walls!




Use the matching screws and spacers for your display.





DURING THE LATER REMOVING OF THE DISPLAY MAKE SURE THE FRONT ARM IS ON TOP BEFORE TAKING OFF THE DISPLAY!
Attention: The arm can shoot up upwards because of the gas pressure spring! If you don’t pay attention you can be injured.


(optional)
This Wall Bracket has a rotation function of the front panel. Therefore the screen is turnable +/-2° horizontally / vertically. This has the advantage that you can align horizontally the screen at any time. To permit this function, the adjusting screws on the front panel are set in the factory so that you can adjust the screen straightly with your hands without loosen the screws which is possible without extra tools. With this feature you can align the screen with your hands in a horizontal or in another desired position when swinging out or folding of the bracket.


E-Mail: [email protected]
www.ricoo.eu
E.N.Z. Engineering GmbH
Salzmatten 6
79341 Kenzingen
(Germany)





