Wicked Audio RAVIAN Wired Earbuds User Manual
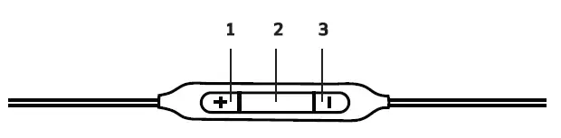
IN-LINE MIC
THE IN-LINE MIC HAS MAGICAL PROPERTIES
The in-line mic is great for hands-free communcation but it also has some other great secret features that can be activated by pressing the button.
The recipes for magic are as follows:

1. Short or long press (hold for three seconds) for volume up Short press for pause/play/answer/hang up
2. Long press (hold for three seconds) to enable voice assistant {dependant on phone and operating system) Double press for next track
3. Short or long press (hold for three seconds) for volume down

REMOVING THE EARBUDS
Gently twist the earbud from side to side as you slowly pull it out. Do not pull on the cord to remove the earbud. This can damage the earbud.

3 CUSHION SIZES FOR MAXIMUM COMFORT
For the best sound performance, outside noise cancellation, and the most comfortable fit try out each ear cushion. Choose a cushion that easily fits into your ear, feels comfortable, and is easy to remove.
REPLACING THE CUSHIONS
1) Simply pull on the cushion you wish to remove until it comes off
2) Select the cushion you wish to put on, then twist and ease it on.
SPECS
- DRIVER / BOBINA: 10 mm Neodymium
- SENSITIVITY / SENIBILIDAD: 103 dB
- FREQUENCY / FRECUENCIA: 20-20,000 Hz
- IMPEDANCE / IMPEDANCIA: 16 Ohms
- CORD LENGTH / LONGITUD DEL CABLE: 4 ft / 1.2 m
FEATURES
- 3 CUSHION SIZES
- NOISE ISOlATION
- HANDSFREE
- HIGH FIDELITY
- ANGLED HOUSING
- DIGITAL BASS BOOST
- MIC. TIIACK,
- VOWNE CONTOI
PRECAUTIONS
LISTENING 10 AUDIO AT EllCESSIVE VOLUMES CAN CAUSE PERMANENT
HEARING DAMAGE. USE AS LOW A VOWNE AS POSSIBLE.
Over exposure to excessiv@ sound levels can damage your HI’! rHUlting in
permanent noise-induced hearing loss {NIHI..). Ph!ISt! use the followtng guidelines
established by the Occupational Safety Health Administration (OSHA) on maximum
t ime exposure to sound pressure levels before he.iring damage occurs.
SAFE USE & HAZARD WARNINGS
90 dB SPL at 8 hours, 95 dB SPL at 4 hours, 100 dB SPL at 2 hours, 105 dB SPL at 1 hours, 110
dB SPL at 30 mln, 115 dB SPL at 15 min, 120 dB SPL: Avoid IS damag@ may occur
UNITED LIFETIME WARRANTY
Keep your receipt to obt.aln warranty service.
Go to www.wickedaudio.com for more details.
Developed In Utah, USA
Made in China

WICKED AUDID, INC.
875 W 325 N
Undon,UT84042
WICKEDAUDIO.COM

DOWNLOAD
Wicked Audio RAVIAN Wired Earbuds User Manual – [Download PDF]



















