USER GUIDE
HeshEvo
Power – On/Off
Power – On / Off

Pairing Mode
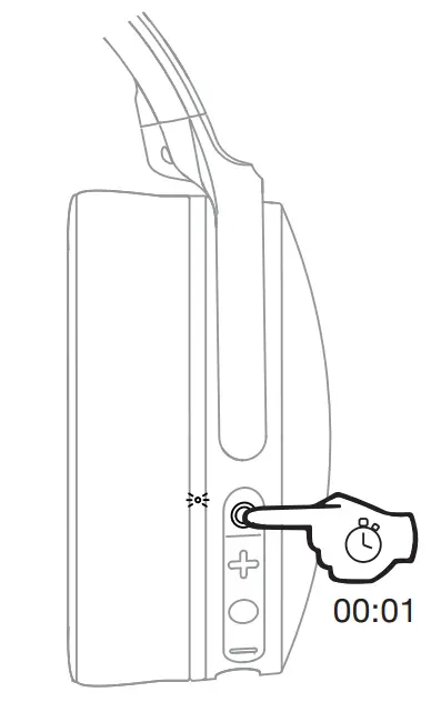
*On Mode
Pair New Device

Pair New Device
“Hesh Evo”
Pairing Mode

Play/ Pause
Play / Pause

VolumeUp
Volume Up

Volume Down
Volume Down

Track Forward
Track Forward

Track Back
Track Back

Answer I End Phone Calls
Answer / End

Activate Voice Assistant
Activate Voice Assistant

Charge
Charge

Rapid Charge:
10 minutes = 3 hours
Rapid Charge: 10 minutes = 3 hours

Tile™ Enabled:
Download the App
Download the Tile™ App

Pair Tile™
Pair Tile™

Clear Paired Device
Hold Together
Clear Paired Device

Questions Visit: www.skullcandy.com
ISED Statement
This device contains license-exempt transmitter(s) / receiver(s) that comply with Innovation, Science, and Economic Development Canada’s license-exempt RSS(s). Operation is subject to the following two conditions:
- This device may not cause interference.
- This device must accept any interference, including interference that may cause undesired operation of the device.
ISED SAR Statemen
This equipment complies with ISED radiation exposure limits set forth for an uncontrolled environment. End-user must follow the specific operating instructions for satisfying RF exposure compliance. This transmitter must not be co-located or operating in conjunction with any other antenna or transmitter.
The portable device is designed to meet the requirements for exposure to radio waves established by the ISED. These requirements set a SAR limit of 1.6 W/kg averaged over one gram of tissue. The highest SAR value is reported under this standard during product certification for use when properly worn on the head.
The FCC Compliance Statement
This device complies with part 15 of the FCC Rules. Operation is subject to the
following two conditions:
- This device may not cause harmful interference, and
- this device must accept any interference received, including interference that may cause undesired operation.
Changes or modifications not expressly approved by the party responsible for compliance could void the user’s authority to operate the equipment. This equipment has been tested and found to comply with the limits for a Class B digital device, pursuant to part 15 of the FCC Rules. These limits are designed to provide reasonable protection against harmful interference in a residential installation. This equipment generates, uses, and can radiate radio frequency energy and, if not installed and used in accordance with the instructions, may cause harmful interference to radio communications. However, there is no guarantee that interference will not occur in a particular installation. If this equipment does cause harmful interference to radio or television reception, which can be determined by turning the equipment off and on, the user is encouraged to try to correct the interference by one or more of the following measures:
- Reorient or relocate the receiving antenna.
- Increase the separation between the equipment and receiver.
- Connect the equipment into an outlet on a circuit different from that to which the receiver is connected.
- Consult the dealer or an experienced radio/TV technician for help.
Skullcandy
and other marks are registered trademarks of Skullcandy, Inc. All rights reserved.
| Speaker Driver: | 40mm, |
| Impedance: | 32 Ohms, |
| THD | <3%@100Hz – 10KHz, |
| Voltage Regulation: | 3.7v, |
| Bluetooth | 5.0, |
| Frequency Band: | 2.402GHz – 2.480GHz, |
| Maximum Power | 9.5 dBm |
| Weight: | 213g |
Contains a Li-ion battery.
The battery must be recycled or disposed of properly.
Made In the Philippines.
Hesh Evo
MODEL: S6HVW
IC: 10486A-S6HVW
FCC ID: Y22-S6HVW
HW Version: V0.4
FW Version: v0.4.10
R-C-Sku-S6HVW
018-200235![]()
Americas
Skullcandy, Inc.
6301 N Landmark Dr.
Park City, UT 84098 U.S.A.
Skullcandy.com
Europe
Skullcandy Europe BV
Postbus 425
5500AK Veldhoven Nederland
Skullcandy.eu
Canada
Skullcandy Canada ULC
329 Railway St. Unit 205
Vancouver, BC. V6A 1A4 Canada
Skullcandy.ca
México
Skullcandy Mexico S de RL de CV
Aristoteles 218
Polanco IV Seccion, Miguel Hidalgo
11550, México City, México
Skullcandy.mx
SIMPLIFIED EU DECLARATION OF CONFORMITY
Hereby, Skullcandy Internation GmbH declares that the radio equipment type [Model: S6HVW] is in compliance with Directive 2014/53/EU.
The full text of the EU declaration of conformity is available at the following internet address: skullcandy.eu/product-documents
References
Skullcandy | Headphones, Earbuds, Speakers & More
Skullcandy Headphones, True Wireless Earbuds, Speakers & More - Skullcandy.com
Skullcandy Headphones, True Wireless Earbuds, Speakers & More - Skullcandy.eu
Skullcandy - Product Declaration of Conformities
Skullcandy México | Audifonos True Wireless
Skullcandy Headphones, True Wireless Earbuds, Speakers & More - Skullcandy.com








![Skullcandy 2xl [x7rgfz-841/847] User Manual Skullcandy 2xl [x7rgfz-841/847] User Manual](https://static-data1.manualsee.com/1/img/66/14529/2020/12/Skullcandy-2XL-X7RGFZ-841-847-FEATURED-1568x766.png)










