JENSEN CO 131NG Eldora Round Fire Bowl Owner’s Manual

![]()
DANGER
CARBON MONOXIDE HAZARD
This appliance can produce carbon monoxide which has no odor.
Using it in an enclosed space can kill you.
Never use this appliance in an enclosed space such as a camper, tent, car or home.
DANGER
FIRE OR EXPLOSION HAZARD
If you smell gas:
- Extinguish any open flame.
- If odor continues, leave the area immediately.
- After leaving the area, call your gas supplier or fire department. Failure to follow these instructions could result in fire or explosion, which could cause property damage, personal injury, or death.
![]()
WARNING: FOR OUTDOOR USE ONLY
Installation and service must be performed by a qualified installer, service agency, or the gas supplier.
INSTALLER: Leave this manual with the appliance.
CONSUMER: Retain this manual for future reference.
WARNING: If the information in this manual is not followed exactly, a fire or explosion may result causing property damage, serious injury, or loss of life.
WARNING: Do not store or use gasoline or other flammable vapors and liquids in the vicinity of this or any other appliance.
An LP gas tank not connected for use shall not be stored in the vicinity of this or any other appliance.

Specifications
Product Name
Eldora 38” Firebowl
Model No.
131NG
Rated Heat Output
60,000 BTUs/hr
Type of Gas
Natural Gas (NG)
Gas Supply
Professionally Installed NG System
ATTENTION
Please register your fireplace for recall notifications, proof of ownership and quality assurance at https://www.realflame.com/registration.
Important Safety Information
General Warnings
- Children and adults should be alerted to the hazards of high surface temperatures and should stay away to avoid burns or clothing ignition.
- Children should be carefully supervised when in the area of the fireplace.
- Clothing or other flammable materials should not be hung from the fireplace or placed on or near the fireplace.
- Any guard or other protective device removed for servicing the fireplace must be replaced prior to operating the fireplace.
- Installation and service must be performed by a qualified service agency or gas supplier. Real Flame recommends using professionals who are certified in the U.S. by the National Fireplace Institute® (NFI) as NFI Gas Specialists.
- More frequent cleaning may be required as necessary. It is imperative that the control compartment, burners, and circulating air passageways of the appliance are kept clean.
- Do not store or use gasoline or other flammable vapors or liquids within 25 ft (7.62 m) of this fireplace or any other appliance.
- Do not store combustible materials in the fireplace enclosure.
- Be sure to protect the hose and its components from any hot surfaces. It is dangerous to allow the hose to come into contact with any hot surface.
- Use only the natural gas hose and quick connect assembly provided. The replacement NG hose and quick connect assembly shall be that specified by the manufacturer.
- Do not attempt to disconnect natural gas hose or quick connect socket from the main gas supply or any gas fitting while the outdoor fireplace is in use.
- Always shut off gas at the shut off valve and disconnect the quick connect socket from the main gas supply when the fireplace is not in use.
- Keep all parts of the fireplace clean including the burner and hose assembly. For more information on cleaning your fireplace please refer to the “Care and Cleaning” section of this manual.
- Do not use this fireplace if any part has been under water. Immediately call a qualified service technician to inspect the fireplace and replace any part of the system that has been under water.
- Do not use this fireplace for cooking.
- Do not pour water into the fireplace.
- Do not attempt to move or store this fireplace until all parts are cool.
- Always shut off the gas supply at the source and disconnect the hose when the fireplace is not in use.
- Any alteration of this fireplace that is not specifically directed in the owner’s manual will void the manufacturer’s warranty. This includes the use of unapproved filler materials.
Installation Warnings
- Minimum clearance from the fireplace to combustible materials is 48 inches (121.9 cm) on all sides. Do not place this fireplace under any overhead structure or vegetation.
- The normal inlet pressure for this fireplace is 7.0″ W.C. (1.74 kPa). Maximum inlet pressure is 10.5″ W.C. (2.61 kPa). Minimum inlet pressure is 3.5″ W.C. (0.87 kPa).
- A fireplace with a connection to a fixed piping system must conform with local codes, or in the absence of local codes with The National Fuel Gas Code, ANSI Z223.1/NFPA 54, or International Fuel Gas Code.
- Do not remove the feet from this fireplace.
- Do not place the fireplace on anything that blocks or seals the gap between the fireplace and the ground.
- Do not permanently secure the fireplace in any way or to any surfaces.
- Do not bury the hose. You must be able to visually inspect the hose for damage before each use.
- Do not coil or hide the hose under the fireplace. The hose could be damaged if it touches hot surfaces.
Set Up Warnings
- Prior to each operation, check the hose assembly for evidence of excessive abrasion, wear or damage. Use a handheld mirror, if necessary, to see the hose sections located below the unit.
- If the hose assembly is damaged, cracked, or cut, it must be replaced before using the fireplace. The hose assembly must be replaced with a hose assembly specified by Real Flame. Please contact Real Flame Customer Service at 1-800-654-1704 for assistance.
- Place the hose out of the pathways where people may trip over it. Do not place the hose in areas where it may be accidentally damaged.
- Before each use, examine the burner and its components for dirt and debris. If cleaning is required, use a pipe cleaning brush and compressed air. Also examine the area around the burner. Any dirt or foreign material, such as spider webs, nests, leaves, etc., should be removed. If it is evident that the burner is damaged, the fireplace must not be used, and the burner assembly must be replaced. Please contact Real Flame Customer Service at 1-800-654-1704 for support.
In-Use Warnings
- NEVER LEAVE this fireplace unattended when in use.
- Do not burn solid fuels, such as charcoal briquettes, lump charcoal, manufactured logs, trash, leaves paper, cardboard, any type of natural or treated wood, or any other materials in this fireplace.
- The use of alcohol, prescription or non-prescription drugs may impair your ability to safely operate this fireplace.
- Always use in accordance with all applicable local, state, and national codes. Contact your local fire department for details on outdoor burning.
- Do not use in windy conditions. High winds may cause the flame to extinguish.
- Some surfaces of this fireplace may become hot during use. Be careful and do not touch surfaces until the unit has cooled.
- Do not attempt to disconnect the gas supply from the fireplace when the unit is in use.
- Do not sit on the fireplace.
Natural Gas (NG) Dangers and Warnings
DANGER
This outdoor fireplace is for use with natural gas only. The conversion to or attempted use of liquid propane in this outdoor fireplace is dangerous and could result in property damage, serious injury, or death.
WARNING
Natural gas is flammable and hazardous if handled improperly. Become aware of its characteristics before using any natural gas product. Failure to understand and follow these warnings or any directions and warnings provided by your gas supplier may result in property damage, serious injury, or death.
CAUTION
During any high pressure testing of the gas supply piping system at test pressures in excess of 1/2 psi. (3.5 kPa) the fireplace and its individual shut-off valve must be disconnected from the gas supply piping system.
WARNING
Burner valves are pre-tested at the factory to operate on natural gas. Do not attempt to convert or change.
Natural Gas Characteristics
- Natural gas is flammable, explosive under pressure, lighter than air, and collects in high areas. Collected gas may ignite causing a fire or explosion which could cause property damage, serious injury, or death.
- In its natural state, natural gas has no odor. For your safety, a scent has been added.
- Direct contact with natural gas can burn your skin.
- Natural gas is extremely flammable and hazardous if handled improperly
Natural Gas Information
- This natural gas fireplace is designed to operate on natural gas only at a pressure of 7″ W.C. (1.74 kPa).
- Check with your local gas provider for local gas pressure, because in some areas natural gas pressure varies.
Natural Gas Connection
- It is recommended that an on/off manual shut-off valve be installed outdoors at the gas supply source after the gas line exits the outside wall or before the gas line enters the ground, and before the quick connect.
- When making a connection, sealing compound or pipe thread tape of the type resistant to the action of natural gas must be applied on 3 to 4 threads of all male pipe threads.
- Connect the end of the natural gas hose with the quick release connector to the manual shut-off valve at the gas supply.
Parts List

Assembly Instructions
1. Place the filler material into the burner pan by hand. To avoid clogging the burner with dust do not dump the bag into the burner pan. Position the filler across the burner pan to a level that is 1 inch (2.54 cm) above the burner tube. Make sure you do not block the igniter housing with the filler material to ensure proper ignition and operation.
If using glass filler, Real Flame suggests first placing a layer of lava rock in the burner pan to improve airflow.

Filler Material Warning
- Do not overfill the burner area with rock or glass filler; use only the specified amount. The depth of the filler should not be more than 1 inch (2.54 cm) above the burner tube. Only Real Flame filler products have been certified and tested for safe use with this Real Flame fireplace. Using other filler material may result in increased popping and cracking or increased carbon monoxide emissions.
- Do not light or use this fireplace if the filler is wet. Ensure filler is completely dry before lighting. Intense heat can cause wet filler to explode and hit someone causing property damage, serious injury, or death.
- Keep away from the fireplace for at least 20 minutes during initial start-up as filler could retain moisture from manufacturing and shipping.
2. Connect the fireplace to the natural gas source:
A professionally installed shut-off valve between the supply piping and the socket is recommended by The National Fuel Gas Code, and must be used for the fireplace. A professional gas technician or plumber must make sure that your gas system is capable of providing the correct amount of gas at the correct pressure for your fireplace to operate safely and correctly.
The quick connect socket connection must be made outdoors. The diagram below shows the main components of a standard natural gas connection.
If the socket connection is below the fireplace, no part of the hose may contact the side panels or base panel of the burner area when the fireplace is in its normal operating position.

3. Install the quick connect socket:
Coat the gas supply threading with gas approved pipe compound or tape. Screw the quick connect socket included with the fireplace onto the gas supply pipe.
The quick connect should not be permanently attached to the gas hose on the fireplace. The direction of the gas flow is indicated on the socket.

Using one hand, pull back the sleeve on the quick connect socket and with the other hand, insert the unattached end of the fireplace gas hose into the socket. Release the sleeve and continue pushing the hose into the socket until the sleeve snaps into the locked position.

After making the connection, perform a leak check as described on the next page.
Pre-Use Instructions
WARNING
Before using this fireplace, make sure you have read, understand, and are following all information provided in this manual. Failure to follow these instructions could cause property damage, serious injury, or death.
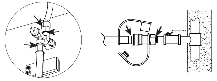
Checking for Leaks
- Make a leak check solution by mixing 1 part dishwashing soap with 3 parts water in a spray bottle.
- Make sure the control knob on the fireplace is in the “OFF” position, then connect your fireplace to the gas supply line and turn the gas on.
- Spray the leak solution on the valve connections, paying particular attention to the areas indicated by arrows in the diagrams below.
- If bubbles appear, shut-off the gas supply, disconnect the hose and inspect all connections making sure threads are clear of debris. Reconnect the hose, turn the gas supply on and retest. If you continue to see bubbles, turn the gas supply off, disconnect the hose, and call Real Flame Customer Service at 1-800-654-1704 for assistance.
- If no bubbles appear after 1 minute, wipe away excess leak solution and proceed to “Lighting Instructions.”

Pay close attention to the areas indicated by the arrows.
Lighting Instructions
Lighting the Fireplace
- Read and understand all operating instructions before lighting.
- Before beginning, make sure the key valve is in the “OFF” position.
- Connect the quick connect hose to your gas supply.
- Position a burning long match or long burning butane lighter near the side of the burner.
- Insert the key and slowly turn the key valve counterclockwise toward the “ON” position.
- Once the burner has been lit, remove the match/lighter. Observe the flame and make sure that all of the burner ports are lit.
- Adjust the flame to the desired height using the key valve.
WARNING: If ignition does not occur in 15 seconds, turn the key valve to the “OFF” position and turn the gas off at its source. Make sure there is no source of ignition around the fireplace and wait at least 5 minutes until the gas has cleared to repeat the lighting procedure. Failure to do so could result in a large flashback of collected gas, causing property damage, serious injury, or death.

Shut-Off Instructions
- Turn the key valve clockwise to the “OFF” position.
- Once the flame is out, remove the key, and turn the gas off at the source using the shut-off valve.
- Store the key in a safe location. If the key is lost please contact Real Flame Customer Service at 1-800-654-1704 for a replacement.
Care and Cleaning
Inspecting Your Fireplace
WARNING
DO NOT inspect, clean, move or store your fireplace until the flames are COMPLETELY out and all parts are cool to the touch.
Your fireplace should be inspected regularly to ensure that it is safe to use and to extend the life of its parts.
Inspect your fireplace:
- Make sure all parts are securely fastened in place. If a part moves when touched, check its connection points to see if they are loose.
- Check all connections for leaks using the method described in the “Checking for Leaks” section of this manual.
- Visually check all components for any signs of damage, rust, or excessive wear.
- If damage or leaks of any kind are found. DO NOT operate the fireplace until the proper repairs have been made.
WARNING
DO NOT tamper with this fireplace. This is dangerous and will void the warranty. Repairs and modifications must be approved by Real Flame and completed by a professional gas technician.
This fireplace has been tested and certified by a third party certification agency based on its specific and unique parts. Installing any other parts will void both the certification and the warranty. For approved replacement parts contact Real Flame Customer Service at 1-800-654-1704.
General Care and Cleaning
After repeated use, a slight discoloration or weathering of the fireplace finish may occur. Your fireplace should be cleaned regularly to ensure safe use and extend its life.
General Cleaning
Make a cleaning solution using a mild soap mixed with water. Use a soft cloth to wipe down exterior surfaces and rinse with clean water. Never use oven cleaners or abrasive solvents as these will damage the fireplace.
Burner
The burner should be kept clean to ensure proper operation. Clogged burner ports may be cleared with a paper clip or pin. Debris in the burner tube can be cleaned using compressed air or a pipe cleaning brush.
Soot
After use it is possible for soot to develop on some surfaces. This soot deposit will usually come off with water and mild soap.
Storage
- Turn the gas supply off at the source. Remove the quick connect hose from the gas supply line and coil for storage under the fireplace.
- Secure all loose filler material or parts.
- Cover the fireplace when not in use and do not allow water to pool on the cover surface. Covering the fireplace will help to protect the internal components from dirt and debris and prevent the finish from fading.
- Store the fireplace in a cool, dry location away from children and pets.
Spider and Insect Warning
Spiders or other insects may build webs or nests in your fireplace burner tube which can obstruct or block the flow of gas.
Some of the gas may back up in the burner tube and cause a flashback (a fire in the burner tube or underneath the fireplace), which could result in property damage, serious injury, or death. Check and clean the burner tube periodically using a pipe cleaning brush (shown below) and compressed air available at any hardware store.
Example of a typical burner tube.
Your exact burner tube may vary.

Tips and Troubleshooting
If the Fireplace Will Not Ignite or Stay Lit
Make sure that the gas shut-off valve is fully open and that the connection between the hose and the quick connect socket is correct. Verify that the key valve is not stripped out and that the valve is opening and closing. Make sure that the hose does not have any kinks or sharp bends.
Other Common Problems
Clogged or Obstructed Burner
It is common for bugs, especially spiders, to make webs or nests inside of burner tubes. If it seems like you are getting low or no gas flow, visually check all openings in the burner for signs of clogs. If you see anything clogging the burner using a pipe cleaner or compressed air to remove the debris.
High Winds
High winds may cause the flame to blow out. Do not operate your fireplace in high wind conditions.
Out of Gas
Verify that the shut-off valve is open.
If you continue to have problems with your fireplace please contact Real Flame Customer Service at 1-800-654-1704.
Technical Parts List

Real Flame®
7800 Northwestern Ave.
Racine, WI 53406
USA
Real Flame Customer Service
USA: 1-800-654-1704
Canada: 1-800-363-6443
[email protected]


















