Honeywell Home TH401 Non-programmable Thermostat

About Your New Thermostat
This thermostat can be used to control an electric heating system such as a baseboard heater, a radiant floor, a radiant ceiling, a convector or a fan forced heater.
The thermostat CANNOT be used with:
- a resistive load under 0.83 A
- a resistive load over 10.4 A
- a system driven by a contactor or a relay (inductive load)
- a central heating system
SUPPLIED PARTS
- One (1) thermostat
- Two (2) 6-32 mounting screws
- Two (2) solderless connectors
Temperature Display and Setting

The thermostat normally displays the actual (ambient) temperature.
- To view the setpoint temperature, briefly press the Up or Down button. The setpoint will be displayed for 5 seconds and the screen illuminated for 12 seconds.
- To change the setpoint temperature, press the Up or Down button until the desired value is displayed.
Removing the Faceplate
TURN OFF POWER OF THE HEATING SYSTEM AT THE MAIN POWER PANEL TO AVOID ELECTRIC SHOCK.
Loosen the screw holding the faceplate to the base. The screw cannot be completely removed and remains captive on the base. Remove the faceplate from the base by pulling the bottom half.
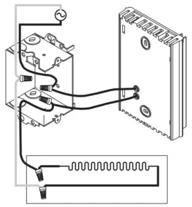
Wiring
Connect any one of thermostat wires to the heater (load) wire and the other one to the power supply wire using solderless connectors for copper wires. (The thermostat wires are nonpolarized; either wire can be connected to the load or to the power supply.)
2-wire installation
4-wire installation
NOTE: All cables and connections must conform to the local electrical code. Special CO/ALR solderless connectors must be used when connecting with aluminum conductors.
Installing the Faceplate
Install the base onto an electrical box.
Reinstall the faceplate on the base and secure it in place with the screw.
NOTE: Keep the air vents of thermostat clean and unobstructed at all times.
Setup Procedure
The setup menu is shown on the following page.
- Press the Up and Down buttons simultaneously for three seconds to enter the setup menu.
- Press the Up or Down button to change the option.
- Press the Up and Down buttons simultaneously for one second to advance to the next parameter.
- When the last parameter is displayed, press the Up and Down buttons for three seconds to save any changes and exit the menu.
NOTE: If you do not press any button for one minute, the thermostat will automatically save any changes you have made and will then return to its normal display.
Table 1. Setup Menu
| Parameter | Options | Display and default setting |
| Temperature display format | °C °F | ![]() |
| Cycle length | Fan: 5 minutes / Fan-forced heater Std: 15 seconds / Baseboard heater | ![]() |
| Minimum setpoint | 5°C – 20°C (41°F – 68°F) | ![]() |
| Maximum setpoint | 15°C – 30°C (59°F – 86°F) | ![]() |
Table 2. In Case of Difficulty
| Problem | Solutions |
| Thermostat is hot. | This is normal. |
| Displayed temperature is wrong. | Remediate if any the following conditions exists:
|
| Display disappears and reappears after a few minutes. | The thermal protection device on the heater has temporarily opened. This can happen if the heater is obstructed by furniture or curtain and has overheated, or if the heater’s thermal protection device is too sensitive. |
Specifications
| Supply | 120/240 VAC, 60 Hz |
| Minimum load | 0.83 A (resistive only) 200 W @ 240 VAC 100 W @ 120 VAC |
| Maximum load | 10.4 A (resistive only) 2500 W @ 240 VAC 1250 W @ 120 VAC |
| Display range | 0°C to 50°C (32°F to 122°F) |
| Set point range | 5°C to 30°C (41°F to 86°F) |
| Storage | -20°C to 50°C (-4°F to 120°F) |
| Heating cycle length | 15 seconds / 5 minutes (user-selectable) |
| Permanent memory | You do not need to adjust the temperature following a power outage. |
Year Limited Warranty
Resideo warrants this product, excluding battery, to be free from defects in workmanship or materials, under normal use and service, for a period of three (3) years from the date of first purchase by the original purchaser. If at any time during the warranty period the product is determined to be defective due to workmanship or materials, Resideo shall repair or replace it
(at Resideo’s option).
If the product is defective,
(i) return it, with a bill of sale or other dated proof of purchase, to the place from which you purchased it; or
(ii) call Resideo Customer Care at 1-800-468-1502. Customer Care will make the determination whether the product should be returned to the following address: Resideo Return Goods, Dock 4 MN10-3860, 1885 Douglas Dr. N., Golden Valley, MN 55422, or whether a replacement product can be sent to you.
This warranty does not cover removal or reinstallation costs. This warranty shall not apply if it is shown by Resideo that the defect was caused by damage which occurred while the product was in the possession of a consumer.
Resideo ’s sole responsibility shall be to repair or replace the product within
the terms stated above. RESIDEO SHALL NOT BE LIABLE FOR ANY LOSS OR DAMAGE OF ANY KIND, INCLUDING ANY INCIDENTAL OR CONSEQUENTIAL DAMAGES RESULTING, DIRECTLY OR INDIRECTLY, FROM ANY BREACH OF ANY WARRANTY, EXPRESS OR IMPLIED, OR ANY OTHER FAILURE OF THIS PRODUCT. Some states do not allow the exclusion or limitation of incidental or consequential damages, so this limitation may not apply to you.
THIS WARRANTY IS THE ONLY EXPRESS WARRANTY RESIDEMAKES ON THIS PRODUCT. THE DURATION OF ANY IMPLIED WARRANTIES, INCLUDING THE WARRANTIES OF MERCHANTABILITY AND FITNESS FOR A PARTICULAR PURPOSE, IS HEREBY LIMITED TO THE THREE YEAR DURATION OF THIS WARRANTY. Some states do not allow limitations on how long an implied warranty lasts, so the above limitation may not apply to you.
This warranty gives you specific legal rights, and you may have other rights which vary from state to state. If you have any questions concerning this warranty, please write Resideo Customer Care, 1985 Douglas Dr, Golden Valley, MN 55422 or call 1-800-468-1502.

Need Help?
We are here to help. Call 1-800-468-1502.
























