Levoit Smart Ultrasonic Top-Fill Cool Mist Humidifier User Manual

Questions or Concerns?
Please contact us at [email protected].
Package Contents
- 1 x Smart Ultrasonic Humidifier
- 3 x Aroma Pads (1 Pre-Installed)
- 1 x Cleaning Brush
- 1 x User Manual
- 1 x Quick Start Guide
Specifications

READ AND SAVE THESE INSTRUCTIONS
SAFETY INFORMATION
To reduce the risk of fire, electric shock, or other injury, follow all instructions and safety guidelines.
General Safety
- Only use the humidifier as described in this manual.
- Place the humidifier and cord so that it will not be knocked over. Do not place near large pieces of furniture or in high-traffic areas.
- When not in use, turn the humidifier off and disconnect from power by removing the plug from the outlet.
- Do not use the humidifier in wet environments.
- Keep the humidifier out of reach from children.
- Do not open the base or remove the water level sensor for selfservicing.
- Always unplug your humidifier from the power outlet before cleaning your humidifier or detaching the water tank from the humidifier base.
- Always make sure to place the humidifier on a flat, level surface before operation.
- Only fill the water tank with clean water. Never fill the water tank with any other liquids.
- Do not place the humidifier near sources of heat, such as stovetops, ovens, or radiators.
- Do not place the humidifier directly on floors, carpets, or rugs.
- Do not use other items as replacement parts for this product.
- Do not cover the nozzle while the humidifier is on. Doing so may damage the humidifier.
- Remove the water tank from the base before moving the humidifier.
- Do not immerse the humidifier base, power cord, or plug in water.
- Do not handle the power cord or plug with wet hands. Keep the plug and power cord away from liquids.
- If the humidifier is damaged or is not functioning properly, stop using it and contact Customer Support immediately (see page 28).
- Not for commercial use. Household use only.
Caution: Risk of Leaks and Electric Shock
- Do not add essential oils, supplemental water treatment liquids, or water filters into the water tank or base chamber. This will damage the humidifier and cause leaks. Only add essential oils to the aroma pad.
GETTING TO KNOW YOUR SMART HUMIDIFIER
- A. Nozzle
- B. Water Tank Cover
- C. Dust Cover
- D. Mist Tube
- E. Water Tank
- F. Night Light
- G. Base
- H. Display
- I. Cleaning Brush
- J. Max Water Line (Tank)
- K. Water Tank Handles
- L. Power Cord
- M. Float
- N. Float Brackets
- O. Aroma Box
- P. Aroma Pad
- Q. Max Water Line (Base)
- R. Secondary Float
- S. Transducer
- T. Air Outlet
- U. Air Inlet
- V. Humidity Sensor
- W. Feet
- X. Water Outlet Valve
- Y. Night Light Cover
- Z. Noise Silencer
- AA. Tank Placement Sensor


- A. Sleep Mode Button
- B. Wifi® Indicator
- C. Humidity Level
- D. Timer Indicator
Note: The timer must be set in the VeSync app - E. Mist Level Button
- F. Night Light Button
- G. No Water Indicator
- H. Mist Level Indicator
- I. Power Button
CONTROLS
Note: You can also control these functions using the VeSync app, as well as additional functions (see page 16).
Power Button
- Press to turn the humidifier on/off.
- Press and hold for 5 seconds to pair with the VeSync app. See the VeSync in-app instructions for more information.
- Press and hold for 15 seconds to reset the humidifier. This will restore the humidifier’s default settings and disconnect it from the VeSync app.
Mist Level Button
- Press repeatedly (or press and hold) to cycle through mist level settings: Auto Mode, Low, Medium, and High. (For more details on Auto Mode, see page 16.)
- Press during Sleep Mode to turn Sleep Mode off. The humidifier will keep misting on Auto Mode.
Sleep Mode Button
- Press to turn Sleep Mode on/off (see page 16).
Night Light Button
- Press repeatedly to cycle through night light settings: 50%, 100%, and Off.
- Press and hold for 3 seconds to turn the display and the night light off.
- Press and hold for 3 seconds during Sleep Mode to turn Sleep Mode off.
GETTING STARTED
- Remove all packaging.
- Take the water tank off of the base and remove all tape, including any tape on the float. [Figure 1.1]

- Choose a hard, flat location for the humidifier at least 30 cm / 12 in away from any walls. The surface must be water-resistant. [Figure 1.2]

- Mist should be directed away from walls, furniture, bedding, and appliances. [Figure 1.3]

Filling & Refilling
- Remove the water tank cover by holding the nozzle and pulling upward. [Figure 1.4]

- Use the handles to remove the tank from the base. Fill the tank with room temperature water. [Figure 1.5] Do not fill with hot water.

Note:
- We recommend using purified or distilled water to fill the tank.
- Do not fill past the tank’s max water line.
CAUTION
- Do not add water directly into the base chamber. [Figure 1.6]

- Do not add water through the mist tube.
- Do not add essential oils into the humidifier. [Figure 1.7] Only add essential oils to the aroma pad. [Figure 1.8]

- Do not use water treatment liquids or third-party water filters in this humidifier.
3. Replace the water tank cover and place the tank back on the base. [Figure 1.9]

Note: Make sure the nozzle on the water tank cover is placed over the mist tube, or the humidifier may not work correctly. [Figure 1.10]

VESYNC APP SETUP
Note: Due to ongoing updates and improvements, the VeSync app may be slightly different than shown in the manual. In case of any differences, follow the in-app instructions.
- To download the VeSync app, scan the QR code or search “VeSync” in the Apple App Store® or Google Play Store. [Figure 2.1]
Note: For Android™ users, choose “Allow” to use VeSync. - Open the VeSync app. If you already have an account, tap Log In. To create a new account, tap Sign Up.
Note: You must create your own VeSync account to use third-party services and products. These will not work with a guest account. With a VeSync account, you can also allow your family and friends to control your smart humidifier. - Follow the in-app instructions to set up your smart humidifier.
Note: You can use the VeSync app to connect your smart humidifier to Amazon Alexa or Google Assistant™. Follow the in-app instructions to connect VeSync to your voice assistant.

USING YOUR SMART HUMIDIFIER
Note: Using the VeSync app allows you to control your smart humidifier remotely and access additional functions and features (see page 16).
- Plug in the humidifier. Press
to turn your humidifier on.
Note: If there is no water in the tank, will flash 10 times, and the humidifier will turn off. Fill the water tank (see Getting Started, page 11). - Tap repeatedly to cycle through mist settings: Auto Mode, Low, Medium, and High. [Figure 3.1]

Note:
• The humidifier will not mist in Auto Mode if the humidity level is above 50%. If you want the humidifier to keep misting, change the mist setting, or change the Auto Mode settings in the VeSync app.
• For more information about Auto Mode, see page 16. - Rotate the nozzle to adjust the direction of the mist. [Figure 3.2]

- Optionally, use the controls to activate Sleep Mode, turn the night light on/off, and more (see Controls, page 10).
- When your room has reached your preferred humidity level, turn the humidifier to a lower setting, or turn it off. A healthy humidity level is between 40% and 50%. [Figure 3.3]

Note: You can also use Auto Mode to keep the humidity level between 40% and 50%. - Press
to turn your humidifier off.
Note: If there is no water in the tank or the tank is removed, the humidifier will stop misting, will flash 10 times, and the humidifier will turn off. Refill the tank and properly place it on the base to use your humidifier.
Sleep Mode
Sleep Mode changes the humidifier’s mist setting to Auto Mode, turns off the display lights, and turns off the night light.
- When Sleep Mode is on, you can press to turn the night light on/off. The humidifier will stay in Sleep Mode.
Auto Mode
Auto Mode uses the humidifier’s sensor to automatically adjust the mist level (or turn it off) to maintain a comfortable and healthy level of humidity.
- Auto Mode automatically adjusts the mist level to maintain 4050% relative humidity. You can change the target humidity level in the VeSync app.
- By default, Auto Mode uses Automatic Stop. The humidifier will stop misting when the highest target humidity level is reached. If the humidity drops below the target humidity level, the humidifier will begin misting again.
- If Auto Mode is selected when the humidity is higher than the target humidity range, the humidifier will not start misting until the humidity lowers.
- In the VeSync app, you can turn Automatic Stop on/off. If Automatic Stop is off, the humidifier will keep running on Low mist level when the highest target humidity level is reached.
VeSync App Functions
The VeSync app allows you to access additional smart functions, including those listed below.
Remote Control
- Turn the humidifier on/off from your phone.
- Cycle through mist levels and turn on/off Auto Mode and Sleep Mode from your phone.
- Turn the display lights and night light on/off from your phone.
- Customise Auto Mode settings like target humidity and auto-off.
Monitor Humidity Levels
- Check current humidity levels in the humidifier’s environment.
Set Timers & Schedules
- Program individual timers or create a schedule for your smart humidifier.
Third-Party Voice Control
- Compatible with Amazon Alexa and Google Assistant for voice commands.
Note: The VeSync app is continually updated and app features will expand.
Important Tips
Your humidifier must have the correct level of water in the base chamber to work properly. If there is too much water in the base chamber, the humidifier cannot create mist.
- Never pour water directly into the base chamber. [Figure 3.4] Only add water to the water tank. The humidifier will automatically release the correct amount of water into the base chamber.

- Avoid moving or shaking the humidifier. [Figure 3.5] This may cause the water tank to release too much water into the base chamber.

- Before moving the humidifier, turn it off, unplug it, and remove the water tank.
- If your humidifier doesn’t produce mist correctly, check the max water line to see if there is too much water in the base chamber. Pour out extra water if water is over the max line. [Figure 3.6]
Note: The max water line is only for this purpose. Do not pour water into the base chamber.
Using the Aroma Box
Your humidifier can be used for aromatherapy.
- Push the aroma box at the back of the base and pull it out. [Figure 3.7]

- Put 810 drops of essential oil on the aroma pad. [Figure 3.8]

- Place the aroma box into the humidifier.
- Turn on the humidifier. The humidifier will automatically diffuse aroma when used.
Note:
- Do not add essential oils, water treatment liquids, or third-party water filters into the water tank or base chamber. Only add essential oils to the aroma pad.
- The aroma pads can be cleaned and reused after diffusing essential oils (see Cleaning the Aroma Pad, page 23).
- The aroma is intended to be light. This humidifier is not an aroma diffuser.
CARE & MAINTENANCE
Note:
- All maintenance should be done on a water-resistant surface, such as a kitchen counter.
- Change the water daily to avoid bacteria growth.
- Use a tissue or cloth to clean the nozzle regularly.
- If not using the humidifier for 1 week or longer, do not leave water inside. Clean and dry the humidifier instead.
Cleaning
You should clean your humidifier every week, and when you’re ready to store it.
Note:
- Never immerse the base in water or liquid. Do not place any part of the humidifier in a dishwasher.
- Do not use detergents to clean the humidifier.
- Unplug the humidifier.
- Remove and rinse the water tank cover. [Figure 4.1]

- Remove and rinse the dust cover if necessary. [Figure 4.2]

- Remove the water tank from the base and pour out any water from the tank and base chamber. [Figure 4.3]
Note: When pouring out water, hold down the float to ensure that it does not fall out of the base chamber.
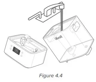
- Rinse the tank and base chamber with room temperature water. [Figure 4.4]

- To descale the humidifier:
a. Fill the tank with 710 mL / 3 US cups of distilled white vinegar. [Figure 4.5]
b. Replace the tank cover and swish the vinegar around the tank. [Figure 4.6]
c. Place the tank on the base and soak for 1520 minutes. Vinegar will drain into the base chamber and loosen scale (mineral build-up) in the tank and in the base chamber (including the transducer and float). [Figure 4.7]
d. Remove the tank, remove the tank cover, and pour out any vinegar. [Figure 4.8]
e. Flip the tank over and remove the noise silencer. To remove the noise silencer, press the release tab and gently pull away from the humidifier. [Figure 4.9]
f. Remove the float from the base chamber by pulling up the larger side of the float [Figure 4.10] and pulling the shaft out from the float brackets. One side of the float brackets is open (U-shaped) to allow the shaft to be removed. [Figure 4.11]
g. Place the float and noise silencer in a small container. Fill with enough vinegar to cover them. Soak for 1520 minutes. [Figure 4.12]
h. Use a soft cloth and the included cleaning brush to remove scale from all parts. [Figure 4.13]

i. Rinse all parts until any vinegar smell is completely gone. [Figure 4.14]
- Dry all parts with a cloth. Make sure all parts are completely dry before reassembling or storing.
Cleaning the Aroma Pad
- Press the aroma box to release it from the base, and pull it out. [Figure 4.15]

- Remove the aroma pad and rinse under warm, running water. [Figure 4.16]

- Dry with a clean cloth and place it back into the aroma box. [Figure 4.17]

Note: Do not pour liquid cleaners or detergents into the aroma pad or box.
Reassembling
- Flip the water tank over and place the noise silencer back into the tank. [Figure 4.18]

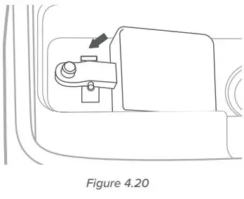
- Place the float back into the base chamber:
a. Make sure the correct side of the float is facing up. [Figure 4.19]
b. Insert the smaller prong into the closed side of the float brackets. [Figure 4.20]
c. Place the larger prong into the open (U-shaped) side of the float brackets. - Place the tank back on the base. Refill the tank, if necessary.
- Place the tank properly on the base and place the tank cover on the water tank.
Storing
Follow the cleaning instructions (see page 19) and allow all parts to dry completely before storing. Store in a cool, dry location.
TROUBLESHOOTING



VESYNC APP TROUBLESHOOTING
Why isn’t my humidifier connecting to the VeSync app?
- Make sure your phone has Bluetooth® turned on and is not currently connected to another Bluetooth device.
- During the setup process, you must be on a secure 2.4 GHz WiFi® network. Confirm that the network is working correctly.
- Make sure the WiFi password you entered is correct.
- Make sure your humidifier and phone are within 10 m / 30 ft of each other.
- Reset the humidifier by pressing and holding
for 15 seconds. Then try connecting again.
The VeSync app is displaying an incorrect humidity percentage while the humidifier is turned on.
- The room may be larger than the humidifier’s effective range. Move to a room smaller than 47 m² / 505 ft².
- Moisture may have built up inside the humidity sensor. Turn off the humidifier and allow the sensor to air dry. Make sure the nozzle is facing away from the sensor so that mist does not settle on the sensor (see diagram in Getting To Know Your Smart Humidifier, page 8).
My humidifier is offline.
- Make sure the humidifier is plugged in. The humidifier may appear to be offline if it is unplugged, or if the outlet does not have power.
- Refresh the VeSync menu by swiping down on the screen.
- Make sure your router is connected to the internet and your phone’s network connection is working.
- Reset the humidifier using one of these options:
a. Delete the humidifier from the VeSync app. Swipe left (iOS®) or press and hold (Android), then tap Delete. Then reconfigure your humidifier with the VeSync app.
b. Press and hold
for 15 seconds. Then reconfigure your humidifier with the VeSync app.
Note: Power outages, internet outages, or changing WiFi routers may cause your humidifier to go offline.
WARRANTY INFORMATION
Arvest Corporation warrants all products to be of the highest quality in material, craftsmanship, and service for 2 years, effective from the date of purchase to the end of the warranty period. Warranty lengths may vary between product categories. If you have any questions or concerns about your new product, please contact our helpful Customer Support Team.
CUSTOMER SUPPORT
If you have any questions or concerns about your new product, please contact our helpful Customer Support Team.
Arvest Corporation
1202 N. Miller St., Suite A Anaheim, CA 92806 USA
Email: [email protected]
*Please have your order invoice and order ID ready before contacting Customer Support.
ATTRIBUTIONS
Apple App Store is a trademark of Apple Inc.
Google, Android, and Google Play are trademarks of Google LLC.
Wi-Fi® is a registered trademark of Wi-Fi Alliance®.
Amazon, Alexa and all related logos are trademarks of Amazon.com, Inc. or its affiliates.
iOS is a registered trademark of Cisco Systems, Inc. and/or its affiliates in the United States and certain other countries.
The Bluetooth® word mark and logos are registered trademarks owned by Bluetooth SIG, Inc. and any use of such marks by Arvest Corporation is under license.












Note: The max water line is only for this purpose. Do not pour water into the base chamber.





































