WRT518SZFM Whirpool Refregerator User Manual
IMPORTANT SAFETY INSTRUCTIONS
WARNING: To reduce the risk of fire, electric shock, or injury when using your refrigerator, follow these basic precautions:
- Plug into a grounded 3 prong outlet.
- Do not remove the ground prong.
- Do not use an adapter.
- Do not use an extension cord.
- Disconnect power before servicing.
- Replace all parts and panels before operating.
- Remove doors from your old refrigerator.
- Connect to a potable water supply only.
- Use nonflammable cleaner.
- Keep flammable materials and vapors, such as gasoline, away from the refrigerator.
- Use two or more people to move and install refrigerators.
State of California Proposition 65 Warnings:
WARNING: This product contains one or more chemicals known to the State of California to cause cancer.
WARNING: This product contains one or more chemicals known to the State of California to cause birth defects or other reproductive harm.
Proper Disposal of Your Old Refrigerator
WARNING
Suffocation Hazard
Remove doors from your old refrigerator.
Failure to do so can result in death or brain damage.IMPORTANT: Child entrapment and suffocation are not problems of the past. Junked or abandoned refrigerators are still dangerous – even if they will sit for “just a few days.” If you are getting rid of your old refrigerator, please follow these instructions to help prevent accidents.
Before You Throw Away Your Old Refrigerator or Freezer:
- Take off the doors.
- Leave the shelves in place so that children may not easily climb inside.

Important information to know about disposal of refrigerants:
Dispose of the refrigerator in accordance with Federal and Local regulations. Refrigerants must be evacuated by a licensed, EPA certified refrigerant technician in accordance with established procedures.
INSTALLATION INSTRUCTIONS
WARNING
Remove the Packaging
Remove the Packaging
- Remove tape and glue residue from surfaces before turning on the refrigerator. Rub a small amount of liquid dish soap over the adhesive with your fingers. Wipe with warm water and dry.
NOTE: Do not use sharp instruments, rubbing alcohol, flammable fluids, or abrasive cleaners to remove tape or glue. These products can damage the surface of your refrigerator. For more information, see “Refrigerator Safety.” - Dispose of/recycle all packaging materials.
IMPORTANT: Do not remove the white foam air return insert that is located behind the control panel on the ceiling of the refrigerator (on some models). The insert is part of the refrigerator and not part of the packing material. If the insert is removed, ice may migrate down from the freezer and cause icicles to form.
When Moving Your Refrigerator:
Your refrigerator is heavy. When moving the refrigerator for cleaning or service, be sure to cover the floor with cardboard or hardboard to avoid floor damage. Always pull the refrigerator straight out when moving it. Do not wiggle or “walk” the refrigerator when trying to move it, as floor damage could occur.
Clean Before Using
After you remove all of the package materials, clean the inside of your refrigerator before using it. See the cleaning instructions in “Refrigerator Care.”
Important information to know about glass shelves and covers:
Do not clean glass shelves or covers with warm water when they are cold. Shelves and covers may break if exposed to sudden temperature changes or impact, such as bumping. Tempered glass is designed to shatter into many small, pebble-size pieces. This is normal. Glass shelves and covers are heavy. Use both hands when removing them to avoid dropping.
IMPORTANT: This refrigerator is designed for indoor, household use only.
To ensure proper ventilation for your refrigerator, it is recommended to allow a ¹⁄₂” (1.25 cm) space on each side. Allow 3″ (7.5 cm) of space between overhead cabinets and refrigerator top. Allow at least 1″ (2.5 cm) between back of the cabinet and the wall. If your refrigerator has an ice maker, make sure you leave some extra space at the back for the water line connections.
- If you are installing your refrigerator next to a fixed wall, leave enough space on the hinge side to allow for the door to swing open.
- Level the refrigerator. See “Adjust the Doors.”
NOTE: This refrigerator is intended for use in a location where the temperature ranges from a minimum of 55°F (13°C) to a maximum of 110°F (43°C). The preferred room temperature range for optimum performance, which reduces electricity usage and provides superior cooling, is between 60°F (15°C) and 90°F
(32°C). It is recommended that you do not install the refrigerator near a heat source, such as an oven or radiator.
Before you move your refrigerator into its final location, it is important to make sure you have the proper electrical connection.
Recommended Grounding Method
A 115-volt, 60 Hz, AC-only, 15- or 20-amp fused, grounded electrical supply is required. It is recommended that a separate circuit serving only your refrigerator be provided. Use an outlet that cannot be turned off by a switch. Do not use an extension cord.
NOTE: Before performing any type of installation or cleaning, or removing a light bulb, turn the cooling off or turn the control
(Thermostat, Refrigerator, or Freezer control, depending on the model) to OFF, and then disconnect the refrigerator from the electrical source. When you are finished, reconnect the refrigerator to the electrical source and turn cooling on or reset the control (Thermostat, Refrigerator, or Freezer control, depending on the model) to the desired setting. See “Using the Controls” in the User Instructions, User Guide, or Use & Care Guide.
Water Supply Requirements
Read all directions before you begin.
Gather the required tools and parts before starting installation. Read and follow the instructions provided with any tools listed here.
Tools Needed: Flat-blade screwdriver, ⁷⁄₁₆” and ¹⁄₂” open-end wrenches or 2 adjustable wrenches, ¹⁄₄” nut driver and drill bit, cordless drill.
IMPORTANT:
- If you turn on the refrigerator before the water line is connected, turn off the ice maker.
- All installations must meet local plumbing code requirements.
- Use copper tubing and check for leaks. Install copper tubing only in areas where the household temperatures will remain above freezing.
NOTE: Your refrigerator dealer has a kit available with a ¹⁄₄”
(6.35 mm) saddle-type shut-off valve, a union, and copper tubing. Before purchasing, make sure a saddle-type valve complies with your local plumbing codes. Do not use a piercing-type or ³⁄₁₆”
(4.76 mm) saddle valve which reduces water flow and clogs more easily.
Water Pressure
IMPORTANT: A cold potable water supply with water pressure between 30 and 120 psi (207 and 827 kPa) is required to operate the ice maker.
NOTE: If the water pressure is less than what is required, ice cubes could be hollow or irregular shaped.
If you have questions about your water pressure, call a licensed, qualified plumber.
Reverse Osmosis Water Supply
If a reverse osmosis water filtration system is connected to your cold water supply, the water pressure to the reverse osmosis system needs to be a minimum of 40 to 60 psi (276 to 414 kPa).
If the ice maker is still not operating properly:
- Check to see whether the sediment filter in the reverse osmosis system is blocked. Replace the filter if necessary.
- Allow the storage tank on the reverse osmosis system to refill after heavy usage.
Connect the Water Supply
(on some models)
Read all directions before you begin.
IMPORTANT: If you turn on the refrigerator before the water line is connected, turn off the ice maker to avoid excessive noise or damage to the water valve.
Connect to Water Line
- Unplug refrigerator or disconnect power.
- Turn off main water supply. Turn on nearest faucet long enough to clear line of water.
- Locate a ¹⁄₂” to 1¹⁄₄” (1.27 cm to 3.18 cm) vertical cold water pipe near the refrigerator.
IMPORTANT:- Make sure it is a cold water pipe.
- A horizontal pipe will work, but drill on the top side of the pipe, not the bottom. This will help keep water away from the drill and normal sediment from collecting in the valve.
- Determine the length of copper tubing you will need. Measure from the connection on the lower-left rear of the refrigerator to the water pipe. Add 7 ft (2.1 m) to allow for cleaning. Use ¹⁄₄” (6.35 mm) O.D. (outside diameter) copper tubing. Be sure both ends of the copper tubing are cut square.
- Using a cordless drill, drill a ¹⁄₄” (6.35 mm) hole in the cold water pipe you have selected.

- A. Cold water pipe
- B. Pipe clamp
- C. Copper tubing
- D. Compression nut
- E. Compression sleeve
- F. Shutoff valve
- G. Packing nut
- Fasten the shut-off valve to the cold water pipe with the pipe clamp. Be sure the outlet end is solidly in the ¹⁄₄” (6.35 mm) drilled hole in the water pipe and that the washer is under the pipe clamp. Tighten the packing nut. Tighten the pipe clamp screws slowly and evenly so washer makes a watertight seal. Do not over tighten.
- Slip the compression sleeve and compression nut on the copper tubing, as shown. Insert the end of the tubing into the outlet end squarely as far as it will go. Screw the compression nut onto outlet end with an adjustable wrench. Do not over tighten.
- Place the free end of the tubing in a container or sink and turn on the main water supply. Flush the tubing until water is clear. Turn off the shut-off valve on the water pipe. Coil the copper tubing.
Connect to Refrigerator
NOTE: On kit models, assemble water valve to refrigerator according to kit instructions.
Style 1
- Unplug the refrigerator or disconnect power.
- Attach the copper tube to the valve inlet using a compression nut and sleeve as shown. Tighten the compression nut. Do not overtighten.
- Use the tube clamp on the back of the refrigerator to secure the tubing to the refrigerator as shown. This will help avoid damage to the tubing when the refrigerator is pushed back against the wall.
- Turn shut-off valve on.
- Check for leaks. Tighten any connections (including connections at the valve) or nuts that leak.

- A. Tube clamp
- D. Compression nut
- E. Valve inlet
- D. Compression nut
- E. Valve inlet
- The ice maker is equipped with a built-in water strainer. If your water conditions require a second water strainer, install it in the ¹⁄₄” (6.35 mm) water line at either tube connection. Obtain a water strainer from your nearest appliance dealer.
Style 2
- Unplug the refrigerator or disconnect power.
- Disconnect the tube clamp on the back of the product and insert the copper tubing through the clamp as shown.
- Attach the copper tube to the valve inlet using a compression nut and sleeve as shown.
- Tighten the compression nut. Do not over-tighten. Reattach the tube clamp and tube to the back of the cabinet.

- A. Tube clamp
- B. Copper tubing
- C. Compression nut
- Turn shut-off valve on. Check for leaks. Tighten any connections (including connections at the valve) or nuts that leak.
The ice maker is equipped with a built-in water strainer. If your water conditions require a second water strainer, install it in the ¹⁄₄” (6.35 mm) water line at either tube connection. Obtain a water strainer from your nearest appliance dealer.
Complete the Installation
- Plug into a grounded 3 prong outlet.
NOTE: Allow 24 hours to produce the first batch of ice. Discard the first three batches of ice produced. Allow 3 days to completely fill ice container.
Refrigerator Doors
Tools Needed:
- ⁵⁄₁₆” hex-head socket wrench
- #2 Phillips screwdriver
- Flat-blade screwdriver
- Flat 2″ putty knife
- Flat 2″ putty knife
IMPORTANT:
- Before you begin, turn the refrigerator control to OFF. Unplug the refrigerator or disconnect power.
- Remove food and adjustable door or utility bins from doors.
- If you are only removing and replacing the doors, see the“Remove Doors and Hinges” and “Replace Doors and Hinges” sections.
- If you are also going to reverse the door swing, follow the instructions for the appropriate door style.
- All graphics referenced in the following instructions are included later in this section after “Final Steps.”
Remove Doors and Hinges
- Unplug refrigerator or disconnect power.
- Close the refrigerator door and keep both doors closed untilyou are ready to lift them free from the cabinet.
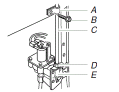
NOTE: Provide additional support for the doors while thehinges are being moved. Do not depend on the door magnetsto hold the doors in place while you are working. - Remove the parts for the top hinge as shown in Top Hingegraphic. Lift the freezer door free from the cabinet.
- Remove the parts for the center hinge as shown in the CenterHinge graphic. Lift the refrigerator door free from the cabinet.
- Remove the parts for the bottom hinge as shown in the bottom Hinge graphic.
Reverse Doors (optional)
IMPORTANT: If you want to reverse your doors so that they open in the opposite direction, follow these steps. If you are not reversing the doors, see “Replace Doors and Hinges.”
Style – Contoured
Graphics follow these instructions. 
Cabinet
- Remove ⁵⁄₁₆” hex-head hinge screws from handle side and move them to opposite side. See Graphic 1-1.
- Remove cabinet hinge hole plugs from the cabinet top and move them to opposite side hinge holes. See Graphic 1-2.
Doors - emove door hinge hole plug from top of freezer door. Move to opposite side. See Graphic 2.
- Remove door stop from both the freezer and refrigerator doors and move to the other side. See Graphic 3.
Replace Doors and Hinges
NOTE: The graphic may be reversed if door swing is reversed.
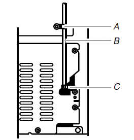
- Replace the parts for the bottom hinge as shown. Tighten screws. Replace the refrigerator door.
NOTE: Provide additional support for the doors while the hinges are being moved. Do not depend on the door magnets to hold the doors in place while you are working. - Assemble the parts for the center hinge as shown and tighten all screws. See Center Hinge graphic. Replace the freezer door.
- Assemble the parts for the top hinge as shown. See Top Hinge graphic. Do not tighten screws completely.
- Line up the doors so that the bottom of the freezer door aligns evenly with the top of the refrigerator door. Tighten all screws.
Final Steps
- in place. Reinstall top hinge cover. See Top Hinge graphic.in place. Reinstall top hinge cover. See Top Hinge graphic.
- Plug into a grounded 3 prong outlet.
- Reset the controls. See “Using the Controls.”
- Return all removable door parts to doors and food to refrigerator.
Style – Contour
Adjust the Doors
Your refrigerator has two adjustable rollers – one on the right and one on the left. If your refrigerator seems unsteady or you want the doors to close easier, adjust the refrigerator’s tilt using the instructions below.
- Turn the leveling leg to lower or raise that side of the refrigerator. It may take several turns to adjust the tilt of the refrigerator.
- To raise, turn the leveling leg to the left.
- To lower, turn the leveling leg to the right.
NOTE: Having someone push against the top of the refrigerator takes some weight off the leveling legs and rollers which makes it easier to adjust.
- Open both doors again to make sure they close as easily as you like. If not, tilt the refrigerator slightly more to the rear by turning both leveling legs to the left; it may take several more turns.
NOTE: To keep the refrigerator level, you should turn both leveling legs the same amount. - Using a level, be sure that the refrigerator is still level side to side. Readjust if necessary.
REFRIGERATOR USE
Using the Controls
Your refrigerator has a high-tech, easy-to-use electronic control feature located on the inside of the refrigerator compartment.
The first time you plug in the refrigerator:
The first time you plug in your refrigerator, all of the electronic control indicators will flash simultaneously.
Temperature Control
Your refrigerator is equipped with a Smart temperature control. You can use it to set the refrigerator compartment temperature as needed.
To set the refrigerator compartment temperature:
The product is set to the recommended temperature at the factory. To adjust that temperature, simply press the Setting button. This will decrease the refrigerator temperature. The setting change is unidirectional, from Cold to Coldest (left to right). Once the control is in the Coldest position, it will move to the least-cold setting (Cold) if pressed again.
This is the coldest temperature (Coldest) in the product. All the indicators will be ON.
The least-cold temperature setting will be shown with the first indicator (left to right) ON.
The median minimum temperature will be displayed when you press the Setting button once from the least-cold temperature. The second indicator will be ON.
The “Recommended” temperature will be shown with the third indicator ON.
The fourth indicator will come on when you press the Setting button once from the recommended temperature.
NOTE: To switch off the refrigeration system, press the Setting button for 4 seconds and then release it. No indicator will remain on. This will lead the refrigerator and freezer to stop cooling, but the electricity is not disconnected.
To switch the refrigeration system back on, press the Setting button for 4 seconds and then release it.
IMPORTANT:
- Adjust the Temperature Control
The mid-settings should be correct for normal household usage. The controls are set correctly when milk or juice is as cold as you like and ice cream is firm. - If the temperature is too warm or too cold in the refrigerator or freezer, first check the air vents to be sure they are not blocked.
If you need to adjust temperatures, use the settings listed in the chart below as a guide. On models with two controls, adjust the refrigerator temperature first. Wait at least 24 hours between adjustments and then recheck the temperatures.
Adjust the Temperature Control
The mid-settings should be correct for normal household usage. The controls are set correctly when milk or juice is as cold as you like and ice cream is firm.
If the temperature is too warm or too cold in the refrigerator or freezer, first check the air vents to be sure they are not blocked.
If you need to adjust temperatures, use the settings listed in the chart below as a guide. On models with two controls, adjust the refrigerator temperature first. Wait at least 24 hours between adjustments and then recheck the temperatures.
| CONDITION/REASON: | ADJUSTMENT: |
| REFRIGERATOR section too warm – Door opened often, large amount of food added or room temperature very warm | Adjust REFRIGERATOR control one setting higher. |
| FREEZER section too warm/ice not made fast enough – Door opened often, large amount of food added, or very cold room temperature (can’t cycle often enough) – Heavy ice usage | Adjust AIRFLOW or REFRIGERATOR control one setting higher. |
| REFRIGERATOR section too cold – Controls not set correctly for your conditions | Adjust REFRIGERATOR control one setting lower. |
| FREEZER section too cold – Controls not set correctly for your conditions | Adjust AIRFLOW or REFRIGERATOR control one setting lower. |
Airflow Control
The Airflow control regulates the amount of air flowing between the freezer and the refrigerator compartments.
When you plug in the refrigerator for the first time, turn the Airflow control to the Recommended setting.
Adjust the Airflow Control
If you want to temporarily increase the cold air flow to a specific compartment, adjust the control.
- Max – Increase airflow to the freezer.
- Min – Increase airflow to the refrigerator.
IMPORTANT: Once the performance is achieved, return the Airflow control to the Recommended setting to keep the refrigerator operating at optimum efficiency.
| CONDITION/REASON: | ADJUSTMENT: |
| Heavy ice use | Max |
| Hot room temperature | Max – To maintain ice making production rate |
| Large quantity of groceries | Min – To quickly chill food and beverages |
Ice Maker
(on some models)
Turning the Ice Maker On/Off
NOTE: Do not force the wire shut-off arm up or down.
- To turn on the ice maker, simply lower the wire shut-off arm. NOTE: Your ice maker has an automatic shutoff. As ice is made, the ice cubes will fill the ice storage bin and the ice cubes will raise the wire shut-off arm to the Off (arm up) position.
- To manually turn off the ice maker, lift the wire shut-off arm to the Off (arm up) position and listen for the click to make sure the ice maker will not continue to operate.

NOTE: Turn off the ice maker before removing the ice storage bin to serve ice or to clean the bin. This will keep the ice cubes from dropping out of the ice maker and into the freezer compartment. After replacing the ice storage bin, turn on the ice maker.
Ice Production Rate
- NORMAL Ice Production: The ice maker should produce approximately 8 to 12 batches of ice in a 24-hour period. If ice is not being made fast enough, turn the Freezer control toward a higher (colder) number in half-number steps. (For example, if the control is at 3, move it to between 3 and 4.) Wait 24 hours and, if necessary, gradually turn the Freezer control to the highest setting, waiting 24 hours between each increase.
- MAXIMUM Ice Production (on some models): The ice maker should produce approximately 16 to 20 batches of ice in
a 24-hour period. If your refrigerator has the maximum ice production feature, push the switch to MAX.
Remember
- Allow 24 hours to produce the first batch of ice. Allow 3 days to completely fill the ice storage bin. Discard the first three batches of ice produced.
- The quality of your ice will be only as good as the quality of the water supplied to your ice maker. Avoid connecting the ice maker to a softened water supply. Water softener chemicals (such as salt) can damage parts of the ice maker and lead to poor quality ice. If a softened water supply cannot be avoided, make sure the water softener is operating properly and is well maintained.
- Do not store anything on top of the ice maker or in the ice storage bin.
REFRIGERATOR FEATURES
Your model may have some or all of these features.
Refrigerator Shelves
(Glass shelves on some models)
The shelves in your refrigerator are adjustable to match your individual storage needs.
Storing similar food items together in your refrigerator and adjusting the shelves to fit different heights of items will make finding the exact item you want easier. It will also reduce the amount of time the refrigerator door is open and save energy.
Shelves and Glass Shelves (on some models)
To remove and replace a shelf:
- Remove items from the shelf.
- Slide the shelf straight out to the stop.
- Depending on your model, lift back or front of the shelf past the stop. Slide shelf out the rest of the way.
- Replace the shelf by sliding the back of the shelf into the track in the wall of the cabinet.
- Guide the front of the shelf into the shelf track. Be sure to slide the shelf in all the way.

Deli Drawer
(on some models)
To remove and replace the deli drawer:
- Slide deli drawer out to the stop.
- Lift front of deli drawer with one hand while supporting bottom of the drawer with other hand. Slide drawer out the rest of the way.
- Replace the drawer by sliding it back in fully past the drawer stop.
To remove and replace the deli drawer cover:
- Remove the deli drawer.
- Push the cover back to release the rear clips from the shelf. Tilt the cover up at the front and pull it forward.
- Replace the deli drawer cover by fitting the notches and clips on the cover over the rear and center crossbars on the shelf.
- Lower cover into place and pull the cover forward to secure the rear clips onto the shelf.
- Replace the deli drawer.
NOTE: In some models the deli drawer moves sideways on the shelf to allow for flexible positioning.
Meat Storage Guide
Store most meat in original wrapping as long as it is airtight and moisture-proof. Rewrap if necessary. See the following chart for storage times. When storing meat longer than the times given, freeze the meat.
Fresh fish or shellfish… Use same day as purchased.
Chicken, ground beef, variety meats (liver)..1-2 days
Cold cuts, steaks/roasts…..3-5 days
Cured meats……7-10 days
Leftovers – Cover leftovers with plastic wrap, aluminum foil, or plastic containers with tight lids.
Crisper
To remove and replace the crisper drawer:
- 1. Slide the crisper drawer straight out to the stop. Lift the front and slide the drawer out the rest of the way.
2. Replace the drawer by sliding the drawer in fully past the stop.
Crisper Cover
Style 1 – Plastic Cover
To remove and replace the crisper cover:
- Remove the crisper(s).

- Lift the cover up and slide it out.
- 3. Replace the cover by fitting the cover tabs into lowest cabinet slots and pushing them in. Lower the front retainers into place.

Style 2 – Glass Cover
To remove and replace the crisper cover:
- Pull the glass straight out.
- Replace the glass by pushing it straight in.
FREEZER FEATURES
Important information to know about glass shelves and covers:
Do not clean glass shelves or covers with warm water when they are cold. Shelves and covers may break if exposed to sudden temperature changes or impact, such as bumping. Tempered glass is designed to shatter into many small, pebble-size pieces. This is normal. Glass shelves and covers are heavy. Use both hands when removing them to avoid dropping.
Freezer Shelf
(on some models)
To remove and replace the freezer shelf:
- Remove items from the shelf.
- Lift back of shelf over stop and slide shelf straight out.
- Replace the shelf by sliding the back of the shelf into the tracks on walls of cabinet.
- Be sure to slide the shelf in all the way.

Frozen Food Storage Guide
Storage times will vary according to the quality and type of food, the type of packaging or wrap used (should be airtight and moisture proof), and the storage temperature. Seal the package or container securely to avoid taste and odor transfer throughout the product. Ice crystals inside a sealed package are normal. This simply means that moisture in the food and air inside the package have condensed, creating ice crystals.
Put no more unfrozen food into the freezer than will freeze within 24 hours (no more than 2 to 3 lbs of food per cubic foot [907
to 1,350 g per L] of freezer space). Leave enough space in the freezer for air to circulate around packages. The freezer door must close tightly.
DOOR FEATURES
Your model may have some or all of these features.
Door Rails
The door rails may be removed for easier cleaning.
Snap-On Door Rails (on some models)
To remove and replace the rails:
- Depending on your model, remove the rails by pushing in slightly on the front of the bracket while pulling out on theinside tab. Repeat these steps for the other end.
- Replace the rails by aligning the ends of the brackets with the buttons on the sides of the door liner. Firmly snap bracket and assembly onto the tabs above the shelf as shown.

Drop-In Door Rails (on some models)
To remove and replace the rails:
- Remove the rails by pulling straight up on each end of the rail.
- Replace the rails by sliding the shelf rail into the slots on the door and pushing the rail straight down until it stops.

REFRIGERATOR CARE
Cleaning
IMPORTANT: Because air circulates between both sections, any odors formed in one section will transfer to the other. You must thoroughly clean both sections to eliminate odors. To avoid odor transfer and drying out of food, wrap or cover foods tightly.
To Clean Your Refrigerator:
NOTE: Do not use abrasive or harsh cleaners such as window sprays, scouring cleansers, flammable fluids, cleaning waxes, concentrated detergents, bleaches, or cleansers containing petroleum products on plastic parts, interior and door liners, or gaskets. Do not use paper towels, scouring pads, or other harsh cleaning tool.
- Unplug refrigerator or disconnect power.
- Hand wash, rinse, and dry removable parts and interior surfaces thoroughly. Use a clean sponge or soft cloth and a mild detergent in warm water.
- Wash stainless steel and painted metal exteriors with a clean sponge or soft cloth and a mild detergent in warm water. Dry thoroughly with a soft cloth.
NOTE: To keep your stainless steel refrigerator looking like new and to remove minor scuffs or marks, it is suggested that you use the manufacturer’s approved Stainless Steel Cleaner and Polish. To order the cleaner, see the “Accessories” section.
IMPORTANT: This cleaner is for stainless steel parts only!Do not allow the Stainless Steel Cleaner and Polish to come into contact with any plastic parts such as the trim pieces, dispenser covers, or door gaskets. If unintentional contact does occur, clean plastic part with a sponge and mild detergent in warm water. Dry thoroughly with a soft cloth. - Clean the condenser coils regularly. Coils may need to be cleaned as often as every other month. This may help save energy.
- Pull refrigerator out away from the wall. See “Unpack the Refrigerator.”
- Vacuum coils when they are dusty or dirty.
- Roll refrigerator back into place. Make sure to leave 1″ (2.5 cm) between the cabinet back and the wall.
- Check to see that the refrigerator is level.
- Plug in refrigerator or reconnect power.
Changing the Light Bulbs
NOTE: Not all appliance bulbs will fit your refrigerator. Be sure to replace the bulb with an appliance bulb of the same size, shape, and wattage (no greater than 40 watts).
Refrigerator Light
- Unplug the refrigerator or disconnect power.
- Reach behind the control panel and unscrew the bulb.
- Replace the LED bulb or one appliance bulb MAX 40 watt.
- Plug in the refrigerator or reconnect power.

Vacation and Moving Care
Vacations
If You Choose to Leave the Refrigerator On While You’re Away:
- Use up any perishables and freeze other items.
- If your refrigerator has an automatic ice maker and is connected to the household water supply, turn off the water supply to the refrigerator. Property damage can occur if the water supply is not turned off.
- If you have an automatic ice maker, turn off the ice maker. NOTE: Raise the wire shut-off arm to Off (up) position.
- Empty the ice bin.
If You Choose to Turn Off the Refrigerator Before You Leave:
- Remove all food from the refrigerator.
- If your refrigerator has an automatic ice maker:
- Turn off the water supply to the ice maker at least one day ahead of time.
- When the last load of ice drops, raise the wire shut-off arm to the Off (up) position.
- Turn off the Temperature controls. See “Using the Controls.”
- Clean the refrigerator, wipe it, and dry well.
- Tape rubber or wood blocks to the tops of both doors to prop them open far enough for air to get in. This stops odor and mold from building up.
Moving
When you are moving your refrigerator to a new home, follow these steps to prepare it for the move.
- If your refrigerator has an automatic ice maker:
- Turn off the water supply to the ice maker at least one day ahead of time.
- Disconnect the water line from the back of the refrigerator.
- When the last load of ice drops, raise the wire shut-off arm to the Off (up) position.
- Remove all food from the refrigerator and pack all frozen food in dry ice.
- Empty the ice bin.
- Turn off the Temperature controls. See “Using the Controls.”
- Unplug refrigerator.
- Clean, wipe, and dry thoroughly.
- Take out all removable parts, wrap them well, and tape them together so they don’t shift and rattle during the move.
- Depending on the model, raise the front of the refrigerator so it rolls more easily OR raise the leveling screws so they don’t scrape the floor. See “Adjust the Door(s).”
- Tape the doors closed and tape the power cord to the back of the refrigerator.
When you get to your new home, put everything back and refer to the “Installation Instructions” section for preparation instructions. Also, if your refrigerator has an automatic ice maker, remember to reconnect the water supply to the refrigerator.
TROUBLESHOOTING
First try the solutions suggested here. If you need further assistance or more recommendations that may help you avoid a service call, refer to the warranty page in this manual and scan the code with your mobile device, or visit www.whirlpool.com/product_help.
In Canada, visit www.whirlpool.ca.
Contact us by mail with any questions or concerns at the address below:
In the U.S.A.:
Whirlpool Brand Home Appliances
Customer Experience Center
553 Benson Road
Benton Harbor, MI 49022-2692
Please include a daytime phone number in your correspondence.
| If you experience | Possible Causes and/or Recommended Solutions |
| The refrigerator will not operate | ■ Not connected to an electrical supply – Plug the power cord into a grounded 3 prong outlet. Do not use an extension cord. ■ No power to the electrical outlet – Plug in a lamp to see if the outlet is working. ■ Household fuse blown or circuit breaker tripped – Replace the fuse or reset the circuit breaker. If the problem continues, contact an electrician. ■ Control is not turned on – Turn on the refrigerator control. See “Using the Controls” in the User Guide. ■ New installation – Allow 24 hours following installation for the refrigerator to cool completely. NOTE: Adjusting the temperature controls to coldest setting will not cool the refrigerator more quickly. |
| The motor seems to run too much | Your new refrigerator may run longer than your old one. Energy-efficient refrigerators run longer at lower, more energy-efficient speeds. Your refrigerator may run even longer if the room is warm, a large food load is added, the door is opened often, or if the door has been left open. |
| The refrigerator is noisy | Refrigerator noise has been reduced over the years. Due to this reduction in operating noise, you may notice unfamiliar noises that are normal. Following are some normal sounds with an explanation: ■ Buzzing – heard when the water valve opens to fill the ice maker ■ Clicking/Snapping – valves opening or closing ■ Pulsating – fans/compressor adjusting to optimize performance ■ Rattling – flow of refrigerant, water line, or from items placed on top of the refrigerator ■ Sizzling/Gurgling – water dripping on the heater during Defrost cycle ■ Popping – contraction/expansion of inside walls, especially during initial cooldown ■ Water running – may be heard when ice melts during the Defrost cycle and water runs into the drain pan ■ Creaking/Cracking – occurs as ice is being ejected from the ice maker mold |
| If you experience | Possible Causes and/or Recommended Solutions |
| The door will not close completely | ■ The door is blocked open – Move food packages away from door. Push bin or shelf back into the correct position. Make sure the crisper cover is fully pushed in so that the back rests on the supports. |
| The door is difficult to open | ■ Gaskets are dirty or sticky – Clean gaskets and contact surfaces with mild soap and warm water. Rinse and dry with soft cloth. |
| Temperature is too warm | ■ New installation – Allow 24 hours following installation for the refrigerator to cool completely. ■ Doors opened often or not closed completely – Allows warm air to enter refrigerator. Minimize door openings and keep doors fully closed. ■ A large amount of warm food has been recently added – Allow several hours for refrigerator to return to normal temperature. ■ Check that the Temperature controls are set correctly for the surrounding conditions – Adjust the controls to one setting colder. Check temperature in 24 hours. See “Using the Controls” in the User Guide. |
| There is interior moisture buildup NOTE: Some moisture buildup is normal. | ■ Humid room – Contributes to moisture buildup in the refrigerator. ■ Doors opened often or not closed completely – Allows humid air to enter the refrigerator. Minimize door openings and keep door fully closed. |
| The ice maker is not producing ice or not enough ice (on some models) | ■ The ice maker is not connected to a water supply – Connect refrigerator to water supply and turn water shut-off valve fully open. ■ A kink in the line can reduce water flow – Straighten the water source line. ■ Ice maker is not turned on – Make sure the ice maker wire shut-off arm or switch (depending on model) is in the on position. ■ New installation – Wait 24 hours following ice maker installation for ice production to begin. Wait 3 days for full ice production. ■ Large amount of ice recently removed – Allow sufficient time for ice maker to produce more ice. ■ Ice cube jammed in the ice maker ejector arm – Remove ice from the ejector arm with a plastic utensil. ■ A reverse osmosis water filtration system connected to your cold water supply can decrease water pressure – See “Water Supply Requirements.” |
| The ice cubes are hollow or small (on some models) NOTE: This is an indication of low water pressure. | ■ The water valve is not completely open – Turn the water shut-off valve fully open. ■ A kink in the line can reduce water flow – Straighten the water source line. ■ A reverse osmosis water filtration system connected to your cold water supply can decrease water pressure – See “Water Supply Requirements.” ■ If questions remain regarding water pressure, call a licensed, qualified plumber. |
| Off-taste, odor, or gray color in the ice (on some models) | ■ New plumbing connections can cause discolored or off-flavored ice – Discard the ice and wash the ice storage bin. Allow 24 hours for the ice maker to make new ice and discard the first three batches of ice produced. ■ Ice stored too long can develop an off-taste – Discard ice. Wash ice bin. Allow 24 hours for ice maker to make new ice. ■ Food odor transferring to ice – Use airtight, moisture-proof packaging to store food. ■ There are minerals (such as sulfur) in the water – A water filter may need to be installed to remove the minerals. |
ACCESSORIES
The following accessories are available for your refrigerator. To order, contact us and ask for the Part Number.
In the U.S.A., visit our webpage www.whirlpool.com/accessories or call 1-800-901-2042.
In Canada, visit our webpage www.whirlpoolparts.ca
or call 1-800-807-6777.
affresh® Stainless Steel Cleaner:
In U.S.A., order Part #W10355016
In Canada, order Part #W10355016B
affresh® Stainless Steel Wipes:
In U.S.A., order Part #W10355049
In Canada, order Part #W10355049B
affresh® Kitchen & Appliance Cleaner: In U.S.A., order Part #W10355010
In Canada, order Part #W10355010B
Reversibility Kit:
Order Part # W10395148
Ice maker Kit:
Order Part # W10663778
LED Bulb:
Order Part # W1082003
WHIRLPOOL® MAJOR APPLIANCE LIMITED WARRANTY
IF YOU NEED SERVICE:
- Before contacting us to arrange service, please determine whether your product requires repair. Some questions can be addressed without service. Please take a few minutes to review the Troubleshooting or Problem Solver section of the Use and Care Guide, scan the QR code on the right to access additional resources, or visit www.whirlpool.com/product_help.
- All warranty service is provided exclusively by our authorized Whirlpool Service Providers. In the U.S. and Canada, direct all requests for warranty service to: Whirlpool Customer eXperience Center
In the U.S.A., call 1-800-253-1301. In Canada, call 1-800-807-6777.
If outside the 50 United States or Canada, contact your authorized Whirlpool dealer to determine whether another warranty applies.
WHAT IS COVERED
For one year from the date of purchase, when this major appliance is installed, operated and maintained according to instructions attached to or furnished with the product, Whirlpool Corporation or Whirlpool Canada LP (hereafter “Whirlpool”) will pay for Factory Specified Replacement Parts and repair labor to correct defects in materials or workmanship that existed when this major appliance was purchased, or at its sole discretion replace the product. In the event of product replacement, your appliance will be warranted for the remaining term of the original unit’s warranty period.
YOUR SOLE AND EXCLUSIVE REMEDY UNDER THIS LIMITED WARRANTY SHALL BE PRODUCT REPAIR AS PROVIDED HEREIN. Service must be provided by a Whirlpool-designated service company. This limited warranty is valid only in the United States or Canada and applies only when the major appliance is used in the country in which it was purchased. This limited warranty is effective from the date of original consumer purchase. Proof of original purchase date is required to obtain service under this limited warranty.
WHAT IS NOT COVERED
- Commercial, non-residential, multiple-family use, or use inconsistent with published user, operator or installation instructions.
- In-home instruction on how to use your product.
- Service to correct improper product maintenance or installation, installation not in accordance with electrical or plumbing codes or correction of household electrical or plumbing (i.e. house wiring, fuses or water inlet hoses).
- Consumable parts (i.e. light bulbs, batteries, air or water filters, preservation solutions, etc.).
- Defects or damage caused by the use of non-genuine Whirlpool parts or accessories.
- Conversion of products from natural gas or L.P. gas.
- Damage from accident, misuse, abuse, fire, floods, acts of God or use with products not approved by Whirlpool.
- Repairs to parts or systems to correct product damage or defects caused by unauthorized service, alteration or modification of the appliance.
- Cosmetic damage including scratches, dents, chips, and other damage to the appliance finishes unless such damage results from defects in materials and workmanship and is reported to Whirlpool within 30 days.
- Discoloration, rust or oxidation of surfaces resulting from caustic or corrosive environments including but not limited to high salt concentrations, high moisture or humidity or exposure to chemicals.
- Food or medicine loss due to product failure.
- Pick-up or delivery. This product is intended for in-home repair.
- Travel or transportation expenses for service in remote locations where an authorized Whirlpool servicer is not available.
- Removal or reinstallation of inaccessible appliances or built-in fixtures (i.e. trim, decorative panels, flooring, cabinetry, islands, countertops, drywall, etc.) that interfere with servicing, removal or replacement of the product.
- Service or parts for appliances with original model/serial numbers removed, altered or not easily determined.
DISCLAIMER OF IMPLIED WARRANTIES
IMPLIED WARRANTIES, INCLUDING ANY IMPLIED WARRANTY OF MERCHANTABILITY OR IMPLIED WARRANTY OF FITNESS FOR A PARTICULAR PURPOSE, ARE LIMITED TO ONE YEAR OR THE SHORTEST PERIOD ALLOWED BY LAW. Some states and provinces do not allow limitations on the duration of implied warranties of merchantability or fitness, so this limitation may not apply to you. This warranty gives you specific legal rights, and you also may have other rights that vary from state to state or province to province.
DISCLAIMER OF REPRESENTATIONS OUTSIDE OF WARRANTY
Whirlpool makes no representations about the quality, durability, or need for service or repair of this major appliance other than the representations contained in this warranty. If you want a longer or more comprehensive warranty than the limited warranty that comes with this major appliance, you should ask Whirlpool or your retailer about buying an extended warranty.
LIMITATION OF REMEDIES; EXCLUSION OF INCIDENTAL AND CONSEQUENTIAL DAMAGES
YOUR SOLE AND EXCLUSIVE REMEDY UNDER THIS LIMITED WARRANTY SHALL BE PRODUCT REPAIR AS PROVIDED HEREIN. WHIRLPOOL SHALL NOT BE LIABLE FOR INCIDENTAL OR CONSEQUENTIAL DAMAGES. Some states and provinces do not allow the exclusion or limitation of incidental or consequential damages, so these limitations and exclusions may not apply to you. This warranty gives you specific legal rights, and you also may have other rights that vary from state to state or province to province.
Download PDF: WRT518SZFM Whirpool Refrigerator User Manual




















