IKEA 904.303.69 BETTORP LED Lamp with Charger

Charger features
- Wirelessly charges 2 Qi-certified devices simultaneously.
- Certified according to specification Qi 1.2.4BPP.
- Temperature and power monitor for safety.
- LED status indicator.
Instructions for use
- Connect the charger cable to the power adapter and plug it into the wall socket.
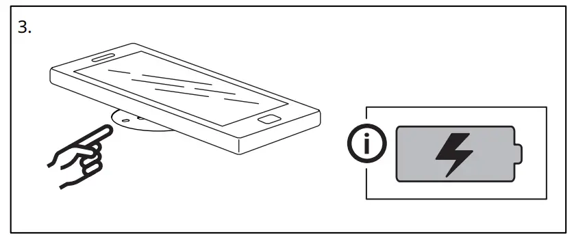
- For wireless charging, place the device to be charged on top of the plus sign (+). The device must be placed directly over the plus sign (+) for the charging function to work optimally. Note that on some devices you may have to activate wireless charging in the settings.
- If your battery is completely discharged, it may take a few minutes before it starts charging. This is entirely normal. You can see that charging has begun when the battery symbol appears on your device.
LED indicator (see illustrations):
- Power on: LED lights up for 3 seconds.

- Charging: LED on.

- Charging completed: LED off.

- Error: LED flashes.

Good to know
- Devices may get warm during charging. This is completely normal, and they will gradually cool down again after they are fully charged.
- Charging time may vary based on the device’s battery capacity, charge level, the age of the battery and the temperature in the surrounding area.
- Charger storage temperature: -20°C to 25°C.
- Charger operating temperature: 0°C to 40°C.
- Unplug the charger from the power source before cleaning and when it is not in use.
- To clean the charger, wipe with a moist cloth. Never submerge the charger in water.
WARNING:
- Only charge devices that are Qi-certified.
- The wall socket must be located near the equipment and must be easily accessible.
- Only use in dry locations.
- Only use the included 24.0 V DC adapter with the wireless charger unit. Other adapters could cause damage to the unit.
- Children should be supervised to ensure they do not play with the product.
- Do not subject the units to wet, moist or excessively dusty environments since this can cause damage to the units.
- If the cord is damaged, the product should be disposed of.
Product servicing
Do not attempt to repair this product yourself.
If you open or remove parts, you may expose yourself to dangerous voltage points or other risks.
RF EXPOSURE INFORMATION
According to RF exposure regulations, under normal operations, the end-user shall refrain from being closer than 10 cm from the device.
Technical data
- Type: E2021 BETTORP
- Input: 24.0V DC, 0.7A, 18.0W
- Type: ICTD-5-BI-3
- Input: 19.0-24.0V DC, 0.5A
- Operating frequency: 110.1 – 148 kHz
- Output power: -2 dBuA/m at 10m (2 x 5.0W)
Power supply unit
- Type: ICPSW24-19-1
- Input: 100-240 VAC, 50/60 Hz, 0.4A
- Output: 24.0V DC
- Max total load: 0.8A, 19.0W
DISPOSLE
The crossed-out wheeled bin symbol indicates that the item should be disposed of separately from household waste. The item should be handed in for recycling in accordance with local environmental regulations for waste disposal. By separating a marked item from household waste, you will help reduce the volume of waste sent to incinerators or land-fill and minimize any potential negative impact on human health and the environment. For more information, please contact your IKEA store.






















