NEBULA D0724 Projector Stand User Guide

Wall/Ceiling-Mounted Extension Stand
Thank you for choosing the NEBULA projector stand. Please read the Quick Start Guide before use to avoid any accidental damage.
What is Included

At a Glance

- 1/4 Screw-Type Mounting Head
- Locking Knob
- Extension Tube
- Twist Lock
- Assembly Knob
- Base Plate
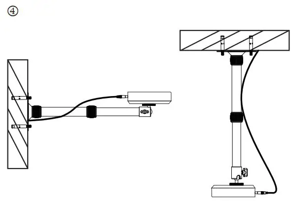
Using the Wall/Ceiling-Mounted Stand
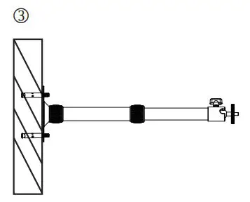
1. Detach the Base Plate
- Rotate the knob from left to right to extend or contract the tube.
- Loosen the knob to detach the base plate.
- The base plate is detached.
2. Mount Your Projector on the Stand
Before mounting the stand:
- Determine how you want to mount the stand: from the wall or the ceiling.
- For safe installation, make sure mount is positioned on a load-bearing wall or ceiling that can bear the load of the mounted device.
To mount the stand on the wall or ceiling:
- Place the base plate against the wall or ceiling. Mark the screw holes with a pencil.

- Drill holes into the wall or ceiling using an M6 drill bit and then insert anchors into the holes. Anchors are not needed for wooden walls.

- Fix the base plate onto the load-bearing wall or ceiling.

- Screw the stand into the base plate until it locks in place, then mount your projector on the stand with the mounting screws.

Safety Instructions
- Open the stand carefully to avoid damage to the components.
- Ensure all screws are well-tightened prior to use.
- Do not use the stand under unstable conditions.
- Remove the stand when moving to another place.
- Do not add oil to any part of the stand and ball head.
- Do not leave the stand and ball head inside a vehicle exposed to high temperatures.
- Do not use this product when there is lightning or near high-voltage wires.
- Avoid overload, otherwise the product may become damaged.
- Remember to clean the product after use, especially in humid and sandy environments.
- Clean the product with a soft cloth and detergent, then wipe it up and keep it in good condition.

For FAQs and more information, please visit: www.SeeNebula.com
[email protected]
+1 (800) 988 7973 (US) Mon-Fri 9:00 – 17:00 (PT)
© Anker Innovations Limited. All rights reserved. NEBULA and the NEBULA logo are trademarks of Anker Innovations Limited, registered in the United States and other countries. Model: D0724
51005002291 V01






















