belling BI903MFC Built In Electric Double Oven Instruction Manual

INSTALLATION INSTRUCTIONS
Before you start please read the instructions. Planning your installation will save you time and effort.
FAILURE TO INSTALL APPLIANCES CORRECTLY IS DANGEROUS AND COULD LEAD TO PROSECUTION.
Installation should only be carried out by a qualified installer or engineer. We recommend that the appliance is connected by a competent person who is a member of a “Competent Person Scheme” who will comply with the required local regulations.
Our policy is one of constant development and improvement, therefore we cannot guarantee the strict accuracy of all of our illustrations and specifications. Changes may have been made subsequent to publishing.
Please keep to the following points most carefully;
Although every care has been taken to ensure this appliance has no sharp edges, we recommend that you wear protective gloves when installing and moving this appliance. This will prevent injury.
Ensure that you route all mains cables well clear of any adjacent heat source.
The space for air circulation, located underneath and at the back of the hob improves its reliability by ensuring that it will cool down, efficiently.
Installations should be carried out in line with the National Regulations applicable for this product type.
BEFORE INSTALLATION
IMPORTANT
If the oven is to work properly, the oven must be fitted correctly into a suitable Kitchen Cabinet.
The kitchen cabinet housing for the oven must be made of a heat resistant material. Ensure that the glue and materials used in the oven cabinet housing can withstand temperatures of at least 120ºC. Plastics or glues that cannot withstand such temperatures will melt and deform the unit.
Please note that the weight of the appliance could be up to 55kg (unpacked). Take care when lifting the product and always use an appropriate method of lifting.
Once the oven has been fitted in the oven housing unit, all electrical parts must be completely insulated and all covers containing electrical connections must be firmly fixed into place so that it is impossible to remove them without using special tools.
Remove the back of the kitchen unit to ensure an adequate current of air circulates around the oven. Ensure adequate ventilation is provided to any hobs above the oven we recommend a rear gap of at least 45mm.
If the appliance is to be installed near to a corner where the adjacent cabinets run at a right angle to the appliance, there must be a gap of at least 90mm between the appliance and the cabinets, to prevent overheating of the cabinets.
FITTING THE OVEN INTO THE KITCHEN UNIT
The oven can be fitted either underneath a work top or into a tall oven housing cabinet.Fix the oven in position by screwing into place, using the two fixing holes in the frame. To holes for the screws can be found by opening the oven door.
To allow adequate ventilation, the measurements and distances specified in this manual need to be adhered to when fitting the oven in the housing unit.
INSTALLING THE APPLIANCE UNDER A WORKTOP
Where the appliance is installed under a worktop, with a hob fitted above it, the installation instructions for the hob must be read in conjunction with these instructions. When installing the appliance below a worktop, there must be a minimum ventilation area of 60cm2 below the appliance, in either area (1) or (2), as indicated below. There must be a 2mm gap between the front top edge of the oven and the underside of the worktop.
INSTALLING THE APPLIANCE 60CM
Note: Only install using dimensions greater than the minimum dimensions specified.
INSTALLING THE APPLIANCE 70CM
Note: Only install using dimensions greater than the minimum dimensions specified.
INSTALLING THE 70CM APPLIANCE INTO A HOUSING CABINET WITH AN INTERNAL HEIGHT LESS THAN 720MM
Fix the two brackets provided to each side of the cabinet with screws provided. Set the leading edge of the brackets 50mm from the front edge of the cabinet.
Set face A of the brackets 720mm from the top of the furniture as illustrated in the image below. Lift and slide the oven into position on the brackets face A.
Installation using brackets provided. Should the installation brackets be missing, please call our customer care department and ask for part number 082663653.
INSTALLING THE APPLIANCE 90CM
Note: Only install using dimensions greater than the minimum dimensions specified.
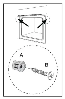
SECURING THE OVEN TO THE CABINET
- Fit the oven into the cabinet
- Open the oven
- Secure the oven to the kitchen cabinet with two spacers “A“ fitted into the holes in the oven frame and fit the two screws “B“ as shown
CONNECT TO THE ELECTRICITY SUPPLY
WARNING: This appliance must be earthed.
This appliance must be fitted to a switch providing all pole disconnection with 3mm minimum contact separation at all poles.
Loose and inappropriate connections can make terminal overheat.
We recommend that the appliance is connected by a competent person who is a member of a
“Competent Person Scheme” who will comply with the required local regulation. Connections should be made with a suitable cable.
Please note, on certain products your appliance may come pre-fitted with a 3 core cable fitted to aid the installation.
If this is not suitable please remove and use a suitable cable and ensure that the connection is made by a competent person.
Note: The terminal block screws and clamps can be damaged by excessive tightening and untightening. DO NOT USE POWER TOOLS!
- Access to the mains terminal is gained by opening the terminal block cover at the rear of the appliance (use a small fat-bladed screwdriver).
- First strip the wires, then push the cable through the cable clamp in the terminal block
- Connect the cable to the terminal block and tighten the cable clamp screw (see diagram below) Ensure that all screws are fully
Close the terminal box, ensuring that the cover is not loose and closed correctly


























