
Model: DIR-140

USER MANUAL
Stereo internet radio with DAB+, FM, and Bluetooth
Version: 3.0
CAUTION:
Usage of controls or adjustments or performance of procedures other than those specified herein
may result in hazardous radiation exposure.
PRECAUTIONS BEFORE USE
KEEP THESE INSTRUCTIONS IN MIND:
- Do not cover or block any ventilation openings. When placing the device on a shelf, leave 5 cm (2”) free space around the whole device.
- Install in accordance with the supplied user manual.
- Keep the device away from heat sources such as radiators, heaters, stoves, candles, and other heat-generating products or naked flame. The apparatus can only be used in moderate climates. Extremely cold or warm environments should be avoided. Working temperature between 0° and 35° C.
- Avoid using the device near strong magnetic fields.
- Electrostatic discharge can disturb the normal usage of this device. If so, simply reset and restart the device following the instruction manual. During file transmission, please handle with care and operate in a static-free environment.
- Warning! Never insert an object into the product through the vents or openings. High voltage flows through the product and inserting an object can cause electric shock and/or short circuit internal parts. For the same reason, do not spill water or liquid on the product.
- Do not use in wet or moist areas such as bathrooms, steamy kitchens, or near swimming pools.
- The apparatus shall not be exposed to dripping or splashing and make sure that no objects filled with liquids, such as vases, are placed on or near the apparatus.
- Do not use this device when condensation may occur. When the unit is used in a warm wet room with damp, water droplets or condensation may occur inside the unit and the unit could maybe not work properly; let the unit stand in power OFF for 1 or 2 hours before turning on the power: the unit should be dry before getting any power.
- Although this device is manufactured with the utmost care and checked several times before leaving the factory, it is still possible that problems may occur, as with all electrical appliances.
If you notice smoke, an excessive build-up of heat, or any other unexpected phenomena, you should disconnect the plug from the main power socket immediately. - This device must operate on a power source as specified on the specification label. If you are not sure of the type of power supply used in your home, consult your dealer or local power company.
- Keep away from rodents. Rodents enjoy biting on power cords.
- To clean the device, use a soft dry cloth. Do not use solvents or petrol-based fluids. To remove severe stains, you may use a damp cloth with diluted detergent.
- The supplier is not responsible for damage or lost data caused by malfunction, misuse, modification of the device or battery replacement.
- Do not interrupt the connection when the device is formatting or transferring files. Otherwise, data may be corrupted or lost.
- If the unit has a USB playback function, the USB memory stick should be plugged into the unit directly. Don’t use a USB extension cable because it can cause interference resulting in failure of data.
- The rating label has been marked on the bottom or back panel of the apparatus.
- This device is not intended for use by people (including children) with physical, sensory, or mental disabilities, or a lack of experience and knowledge unless they’re under supervision or have received instructions about the correct use of the device by the person who is responsible for their safety.
- This product is intended for nonprofessional use only and not for commercial or industrial use.
- Make sure the unit is adjusted to a stable position. Damage caused by using this product in unstable position vibrations or shocks or by failure to follow any other warning or precaution contained within this user manual will not be covered by warranty.
- Never remove the casing of this apparatus.
- Never place this apparatus on other electrical equipment.
- Do not allow children access to plastic bags.
- Only use attachments/accessories specified by the manufacturer.
- Refer all servicing to qualified service personnel. Servicing is required when the apparatus has been damaged in any way, such as the power supply cord or the plug, when the liquid has been spilled or objects have fallen into the apparatus when the apparatus has been exposed to rain or moisture does not operate normally or has been dropped.
- Prolonged exposure to loud sounds from personal music players may lead to temporary or permanent hearing loss.
- If the product is delivered with a power cable or AC power adaptor :
• If any trouble occurs, disconnect the AC power card and refer servicing to qualified personnel.
• To completely disconnect the power input, the main plug of the apparatus shall be disconnected from the mains, as the disconnect device is the main plug of the apparatus.
• Don’t step on or pinch the power adaptor. Be very careful, particularly near the plugs and the cable’s exit point. Do not place heavy items on the power adaptor, which may damage it. Keep the entire device out of children’s reach! When playing with the power cable, they can seriously injure themselves.
• Unplug this device during lightning storms or when unused for a long period.
• The socket-outlet must be installed near the equipment and must be easily accessible.
• Do not overload ac outlets or extension cords. Overloading can cause fire or electric shock.
• Devices with class 1 construction should be connected to a main socket outlet with a protective earthed connection.
• Devices with class 2 construction do not require an earthed connection.
• Always hold the plug when pulling it out of the main supply socket. Do not pull the power cord. This can cause a short circuit.
• Do not use a damaged power cord or plug or a loose outlet. Doing so may result in fire or electric shock. - If the product contains or is delivered with a remote control containing coin/cell batteries:
Warning:
• “Do not ingest battery, Chemical Burn Hazard” or equivalent working.
• [The remote control supplied with] This product contains a coin/button cell battery is swallowed, it can cause severe internal burns in just 2 hours and can lead to death.
• Keep new and used batteries away from children.
• If the battery compartment does not close securely, stop using the product and keep it away from children.
• If you think batteries might have been swallowed or placed inside any part of the body, seek immediate medical attention. - Caution about the use of Batteries:
• The danger of explosion if the battery is incorrectly replaced. Replace only with the same or equivalent type.
• The battery cannot be subjected to high or low extreme temperatures, low air pressure at high altitude during use, storage, or transportation.
• Replacement of a battery with an incorrect type can result in an explosion or the leakage of flammable liquid or gas.
• Disposal of a battery into fire or a hot oven, or mechanically crushing or cutting of a battery, that can result in an explosion.
• Leaving a battery in an extremely high temperature surrounding environment can result in an explosion or that leakage of flammable liquid or gas.
• A battery subjected to the extremely low air pressure may result in an explosion or the leakage of flammable liquid or gas.
• Attention should be drawn to the environmental aspects of battery disposal.
INSTALLATION
- Unpack all parts and remove protective material.
- Do not connect the unit to the mains before checking the mains voltage and before all other connections have been made.
WARNING: To prevent possible hearing damage, do not listen to high volume levels for long periods.
Accessories :
- User manual

- Power adaptor

- Remote control

Product Overview
![]() | ![]() | ![]() |
- Display
- Mode
- Left
- Right
- Standby
- Vol/Nav/Ok/Play/Pause: Rotate=Vol/Scroll Press=Select
- Info
- Fav
- Back
- Menu
- Preset buttons
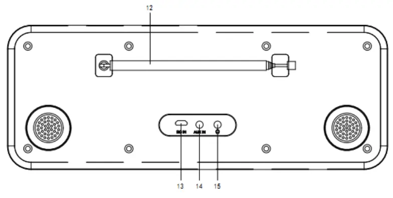
- Telescopic antenna
- DC IN
- Aux-in (3.5mm)
- Headphone out (3.5mm)
Remote Control

- Standby button
- Mute button
- EQ set tone
- Dimmer button
- Sleep button
- Alarm button
- Backward/previous track
- Play/pause button
- Forward/next track
- Info button
- Mode button
- Menu button
- Up Cursor button
- Left cursor button
- Right cursor button
- Down cursor button+ Enter button
- OK button
- Vol- button
- Vol+ button
- Input letters and numbers
- Fav button
- Back button
INITIAL USE
Before the operation, please make sure that the VOLTAGE mentioned on the power supply is the same as the voltage of your local area.
Use the supplied mains adaptor to connect the device to a household mains socket.
Setup wizard
When the radio is started for the first time, it runs through a setup wizard to configure settings for
date/time and network. Once this has finished, the system is ready to use in most modes.
Note: To change these settings later, select Menu>System settings>and select the required settings
options. To run the setup wizard again, select Menu>System settings>Setup wizard
The Setup Wizard guides you through the basic setup parameters for Time/Date and Network
connection. To change any settings later all setting functions are accessible from the Settings Menu.
Operation
After the initial setup, the radio is ready for operating in most Modes.
Mode selection
From the Main Menu select a mode and press OK. Alternatively, press the Mode button repeatedly to switch to a different model. After a brief moment radio switches to that mode. The last station or track previously used in that mode is selected. If this is not possible, radio scans for relevant stations, networks, or prompts the user for appropriate input.
Audio playback
The common local controls for audio playback are available in all listening modes:
The volume rotary control is turned to increase or decrease the sound volume. The general track controls are Play/Pause to start and stop tracks and the Next and Previous buttons to skip to the next or previous track in the current playlist.
The primary control for moving through menus and options is the knob control. Rotate the control to move up or down a menu. Once the required option or value is highlighted press the knob control. All menus and lists act as loops such that turning the control to go beyond the first or last entry in a menu or list takes you to the opposite end of the menu or list. So going up from the first entry in a menu will take you to the last option in the menu, etc. A scroll bar appears on the right of the screen if there are more options above or below those visible.
To enter the menu tree in a particular mode press Menu.
To move back a menu level press Back.
To exit the menu system, press Menu again.
Each mode has a Mode menu, with options specific to that model. For example, the FM mode menu has two mode-specific options: Scan setting and Audio setting. In addition, each mode menu has two final options: System settings>and the Main menu>. The ‘>’ indicates options leading to further menus.

| Internet radio | Internet radio |
| Station list | Station list |
| System settings | System settings |
| Main menu | Main menu |
The System setting menu presents system setting functions to allow the user to set up how the unit behaves. This includes network, time, language, and software parameters.

| System settings | System settings |
| Equalizer | Equalizer |
| Streaming audio quality | Streaming audio quality |
| Network | Network |
| Time/Date | Time/Date |
| Inactive Standby | Inactive Standby |
The main menu presents an alternative method for selecting listening modes plus sleep and alarm functions.

| Main menu | Main menu |
| Internet radio | Internet radio |
| Podcasts | Podcasts |
| DAB | DAB |
| FM | FM |
| Bluetooth | Bluetooth |
Text Entry
To enter search requests or passwords, etc. The data entry screen presents all available characters and command functions in a continuous loop. Rotate the knob control to scroll back and forth through the loop as required. Press OK to select the currently highlighted character. If you make a mistake select the BKSP (backspace) option to remove the last character. When you have finished the words, select OK to enter the search words or password. Select CANCEL to quit the entry screen.
Note: A shortcut is available to reduce the amount of scrolling when selecting commands and characters. Press the Info key to jump to the BKSP (Backspace) command option, from anywhere in the character loop. To enter a string of characters, select each character in turn. As each character is
selected, the key is built up and displayed in the field at the top of the display. The three options – Backspace, OK, and Cancel are included in the selection loop. These can be accessed just using the knob control, pressing the Info key, to jump to the BKSP (backspace) option.

| Searching for: | Searching for: |
| BKSP | BKSP |
| OK | OK |
| CANCEL | CANCEL |
| 0123456789._-@,abcdefghijklmnopqrs | 0123456789._-@,abcdefghijklmnopqrs |
Presets
In each of DAB, FM and Internet radio, up to 40 preset stations can be stored and recalled. To store the current station as a preset, press and hold FAV until the display shows the Save to Preset screen. Select one of the 40 presets to save the currently playing station and press OK to confirm. To select a preset, short press the FAV button, then select one of the listed preset stations. When a preset station is playing, its preset store number Pn (P1, P2, etc) is shown in the bottom of the screen.
Settings
All the settings parameters for radio are available on the System settings menu.
System settings menu options:
- Equalizer
- Standby Clock
- Network
- Time/Date
- Language
- Factory reset
- Software update
- Setup wizard
- Info
- Privacy policy
- Back Light
Equalizer
Several predefined EQ settings are available; also a user-defined setting (My EQ). To choose an EQ setting, select Menu > System settings > Equaliser. You can then choose from a variety of predefined settings and My EQ. The last option ‘My EQ profile setup’ allows you to define your own settings for
the ‘My EQ’ option, with custom bass and treble settings.
Standby Clock
You can choose an Analog clock or Digital clock under standby mode.
Network
- Network wizard
- WPS setup
- View settings
- Manual settings
- NetRemote PIN setup
- Network profile
- Clear network settings
- Keep network connected
Network wizard
This guides you through the necessary steps to join a network. This is also automatically run as part of the Setup wizard. The screens and options presented will depend on the type of network and network protection used.
Selecting a network
When the Network wizard is chosen radio automatically scans for available wireless networks and presents a list of SSID’s (Service Set Identifier) for the networks. Radio remembers login details for the last four wireless networks it has connected to and will automatically connect to them when they are available. If the connection to a network is temporarily lost, the radio will automatically reconnect. Wi-Fi network (SSID), select a network from the list.
Open network
If the network is open (non-encrypted), radio connects and no further details are required.
Standard encrypted network
If the wireless network is protected the next screen presents options to enter the network key or passphrase.
Note: The default passphrase for most wireless routers is printed on a label on the router.
The radio connects to the selected network. If connecting fails, the radio returns to a previous screen to try again. To exit the process use the Back/Menu button. If the network connection is lost, the radio automatically reconnects.
WPS setup (Wi-Fi Protected Setup)
Radio prompts you to press the connect button on the router and then press the select control. For more information on setting up a WPS encrypted network, see your WPS router’s instructions.
View settings
Displays the settings details for the current network setup, including:
- Active connections
- MAC address
- WLAN region
- DHCP
- SID
- IP Address
- Subnet mask
- Gateway address
- Primary DNS
- Secondary DNS
Manual settings
Choose DHCP enable/disable
NetRemote PIN setup
Allows you to define a PIN number to be entered before being able to connect to the radio remotely over a network
Network profile
This displays a list of the networks remembered by radio (up to a maximum of 4). You can see the list of registered networks through Menu > System settings > Network > Network profile>. From here you can delete unwanted networks by turning and pressing OK then confirming delete Yes.
Clear network settings
This option will clear current network settings, to allow you to join an alternative network more easily.
Keep network connected
This option allows you to define whether the radio remains connected to its network in Standby mode and when not in Internet radio mode. This is necessary for remote operation and audio streaming in Music player mode.
Note: This option is forced to ‘Yes’ to keep the network connection if the connection is configured using the UNDOK app.
Note: It is possible to disable the WIFI network.
Method 1: When the radio is on, long-press the standby button. Radio will go on standby with WIFI disabled.
Method 2: When the radio is on, press the play/pause button on the RC to disable the WIFI
The wifi will automatically enable once the radio is turned on again.
Time/Date
- Set Time/Date
- Auto Update
- Set Format
- Set Timezone
- Daylight savings
Set Time/Date
The date and time are displayed as dd-mm-yyyy with the first value, dd, active (flashing). Adjust each value with the knob control. As each value is set by pressing the knob control, the next value becomes active ready for adjustment.
Auto-update (from DAB, FM, or Network)
Auto-update works with data sent over DAB, FM, or the Internet. The clock is only updated when in a corresponding mode, so it is best to select a mode you use regularly. DAB and FM use time signals broadcast with radio transmissions. The network uses a time signal sent from the internet radio portal
when in any network-connected mode.
- Select Update from DAB, update from FM, update from Network, or No update.
- If you are updating from the network, set your time zone.
- If your country uses daylight saving, the automatically updated time from the network may be wrong by one hour. When daylight saving adjustments is in effect, such as British Summer Time (BST), turn on the Daylight savings option to rectify this.
Note that if you are updating the time from DAB or FM, the Daylight savings option has no effect on the clock’s time. Radio will auto-update from the selected source when time information is available.
Set format
Allows you to change between 12 and 24-hour displays.
Set timezone
Allows you to choose the timezone you belong to
Daylight savings
Allows you to choose ON or OFF of your daylight savings.
Language
The default language is English. TO change, selec Menu > System settings > Languages > the select your language
Factory reset
A factory reset resets al user settings to default values, so time/date, network configuration, and presets are lost. However, the radio’s current software version is maintained.
To perform a factory reset, select Menu > System settings > Factory reset Proceed > Yes.
Software update
From time to time, upgrades will come available with bug fixes and/or additional features. You can either check manually or set the radio to check automatically (this is the default). If the radio detects that new software is available, it will ask you to install the update. If you agree, the new software will be downloaded and installed. All user settings are maintained during a software update.
CAUTION: Before starting a software upgrade, ensure that the radio is plugged into a stable mains power connection. Disconnecting power during software updates may permanently damage the unit.
Setup wizard
This allows you to run the Setup wizard at any time. The wizard guides you through the essential settings in the following order:
- Date/Time – Set format
- Auto-update- select clock update source or No Update
- Set Time/Date (this step is only needed if the ‘No Update’ option is selected in Auto update)
- Network wizard automatically runs (see section 5.3.1 Network) Once you are connected to a network the wizard is completed.
Info
Shows details of the current system including:
- SW version: software version number
- Radio ID: Unique code used to identify this particular radio device
- Friendly name: name by which the radio is identified on a network
Privacy Policy
Displays a privacy notice guiding you to our website for full details of the Frontier Smart Technologies Privacy policy:
Please visit the following page on a PC or mobile device.
www.Frontiersmart.com/privacy
Backlight
The radio display can be set to dim, when in Standby, after a Timeout period. This option allows you to set the timeout period and the brightness settings before (On level) and after (Dim level) the time period.
For the On level, High, Medium, Low are available.
For the Dim level, High, Medium, Low are available.
Internet radio mode
Radio can play thousands of radio stations and podcasts from around the world through a broadband internet connection. When you select Internet radio mode, radio contacts the solution provider Internet radio portal to get a list of stations, organized into different categories like Country, and Popular. Once you select a station, the radio connects directly to that station. To enter Internet Radio mode, either press Mode to cycle through the listening modes until Internet Radio is displayed, or select Menu > Main menu > Internet Radio. The common local controls for sound volume, mute, play/stop and Presets are available.
Note: The station list menu is provided from the Internet radio portal, so it is only accessible when the radio is connected to the Internet. Station lists and submenus will change from time to time.
The station list is organized into various categories and search facilities:
- UK
- History
- Search
- Location
- Popular
- Discover
UK (depends on the country where you are using the DIR-140)
Presents a sub-menu to search for stations using a variety of categories, for example, local stations, BBC stations, Genres, or stations from a specific city. Choose the required category and either a further list of subcategories is shown, or (if there is no further sub-categories) the available stations for the chosen category are listed.
History
When the Internet radio mode restarts, the last-listened station is selected. To select another recently used station, select Menu > Station list > History than one of the stations listed. The most recent stations appear at the top of the list.
Search
You can also search through Internet broadcasts for stations with particular keywords in their title.
To search, select Menu > Station list > Search. Enter a keyword by selecting characters in turn, then OK. The search entry screens are similar in operation to the Wi-Fi passphrase entry screen.

| Searching for: | Searching for: |
| BKSP | BKSP |
| OK | OK |
| CANCEL | CANCEL |
| 0123456789._-@,abcdefghijklmnopqrs | 0123456789._-@,abcdefghijklmnopqrs |
Select a broadcast from the list.

| Station | Station |
| 011.FM 90s Country | 011.FM 90s Country |
| 011.FM Classic Country | 011.FM Classic Country |
| 011.FM Today’s Country | 011.FM Today’s Country |
| ON Country on Radio | ON Country on Radio |
| 1. FM – Absolute Country | 1. FM – Absolute Country |
Location
To select an Internet broadcast from a particular location, select Menu > Station list > Location >.
Select a continent from the menu and a list of countries available is presented, select a country, and the available internet radio stations are presented. Choose a radio station from the list to tune to that station.
Popular
Presents a list of the most popular internet stations from around the world.
Discover
Allows you to select from a list of stations defined by either their origin (Country), Genre (style of music) or language. Navigate through the category options; once you have made your selection a screen confirms your selected category and the number of stations within that category. To see the list, select the option showing the number of available stations.
Now playing information
While the stream is playing, the screen shows its name and description. If artist and track information is available, this is also shown. To view further information, press Info. Each time you Press Info, another set of information is displayed, cycling through the following details:
- Slogan (default; where available)
- Language/Location
- Codec and sampling rate
- Playback buffer
- Today’s Date
Podcasts
Radio can play thousands of podcasts from around the world through a broadband internet connection. When you select Podcast mode, radio contacts the solution provider portal to get a list of available podcasts. Once you select a podcast, radio connects directly to that podcast source. To enter Podcast mode, either press Mode to cycle through the listening modes until Podcasts is displayed, or select Menu > Main menu > Podcasts. The common local controls for sound volume, mute, play/pause, and Presets are available.
Note: The podcast menu is provided from the Podcast portal, so it is only accessible when the radio is connected to the Internet. Podcast lists and submenus will change from time to time.
- UK
- Search
- Popular
- Location
- Discover
UK
Presents a sub-menu to search for podcasts using a variety of categories, for example, comedy of the week, books and authors, popular, etc. Choose the required category and either a further list of subcategories is shown, or (if there is no further sub-categories) the available podcasts for the chosen category are listed.
Search
You can also search through podcasts with particular keywords in their title. To search, select Menu > Podcast list > Search. Enter a keyword by selecting characters in turn, then OK. The search entry screens are similar in operation to the Wi-Fi passphrase entry screen.

| Searching for: | Searching for: |
| BK SP | BK SP |
| OK | OK |
| CANCEL | CANCEL |
Select a broadcast from the list.
Location
To select a Podcast from a particular location, select Menu > Podcast list > Location >. Select a continent from the menu and a list of countries available is presented, select a country and the available podcasts are presented. Choose a podcast from the list to tune to that podcast.
Popular
Presents a list of the most popular podcasts from around the world.
Discover
Allows you to select from a list of podcasts defined by either their origin (Country), Genre (style of music) or language. Navigate through the category options; once you have made your selection a screen confirms your selected category and the number of podcasts within that category. To see the list, select the option showing the number of available podcasts.
DAB radio mode
DAB radio mode receives DAB/DAB+ digital radio and displays information about the station, stream, and track playing. To enter DAB mode, either press Mode to cycle through the listening modes until DAB Radio is displayed, or select Menu > Main menu > DAB. The DAB radio mode menu offers the following options:
- Station list
- Scan
- Manual tune
- Prune invalid
- DRC
- Station order
- System settings
- Main Menu
Station List
The first time you select DAB radio mode, or if the station list is empty, the radio automatically performs a full scan to see what stations are available. You may also need to start a scan manually to update the list of stations for one of the following reasons:
- Available stations change from time to time
- If a reception was not good for the original scan (for example the antenna was not fully extended), this may result in an empty or incomplete list of available stations.
- If you have poor reception of some stations (burbling), you may wish to list only stations with good signal strength.
A question mark before a station in a list indicates that the station is currently unavailable. Depending on the cause of the loss of signal this may be only temporary. Stations that are unlikely to be available again (for example you have moved out of the broadcast range of a station), can be removed from the station list.
Scan for stations
To start a scan manually, select Menu > Scan. Once the scan is complete, the radio shows a list of available stations. The manual tune menu option allows the user to select a particular channel and display the signal strength for that channel.
Remove stations from the list
To remove stations that a listed but unavailable, select Menu > Prune invalid.
Selecting stations
To listen to or change a station, select Menu > Station List and press the OK knob. Scroll knob control to select the station you want to listen to. Stations listed with a ‘?’ question mark in front of them are not available. Once selected, the station plays and the screen shows ‘playing’ information about the station, track or show broadcast by the station. Alternatively, pressing either the left and right keys jumps to the next station up or down in the station list. Preset stations can be stored and recalled as described in Section 4.5 presets.
Now playing information
While the stream is playing, the screen shows its name and DLS (Dynamic Label Segment) information broadcast by the station giving real-time information such as program name, track title, and contact details. Stereo broadcasts are indicated with an icon at the top of the screen. To view further information, press Info. Each time you press Info, another set of information is displayed, cycling through DLS text, program type, ensemble name/frequency, signal strength/error rate, bit rate/codec/channels, today’s date, and DL Plus (if available).
Slideshow
When a slideshow is available (dependent on the broadcasted signal), the images are displayed on the left side of the screen. To cycle through the different display options (the thumbnail, slide with DLS text, and full-screen slide) press the knob control.
Settings
Dynamic range compression (DRC)
Some DAB broadcasts offer dynamic range compression (DRC). This feature allows radios to compress the dynamic range of the output audio stream so that the volume of quiet sounds is increased, and the volume of loud sounds is reduced. This can be useful if you are listening to music with a high dynamic range in a noisy environment (for example, classical music while cooking). To change the DRC setting for radio, select Menu > DRC, and then DRC high, DRC low, or DRC off.
Note: Radio DRC setting does not have any effect if DRC data is not included in the broadcast.
Station order
You can choose the order of the DAB station list to be either Alphanumeric, Ensemble, or Valid, Ensemble lists groups of stations that are broadcast together on the same ensemble, for example, BBC or South Wales local. Valid lists valid stations first, alphanumerically, then off-air stations. To change station order, select Menu > Station order > then Alphanumeric, Ensemble, or Valid.
FM radio mode
FM radio mode receives analog radio from the FM band and displays RDS (Radio Data System) information about the station and show (were broadcast). To enter FM Radio mode, either press Mode to cycle through the listening modes until FM Radio is displayed, or select Menu > Main menu > FM. The FM radio mode menu offers the following options:
- Scan Settings
- Audio Settings
- System Settings
- Main Menu
Selecting stations
To find a station, press OK. The frequency display starts to run up as the radio scans the FM band. Alternatively, you can scan up or down by pressing and holding left or right buttons or tune manually with quick presses.
Note: Scanning can be set to search for strong signals only. Preset stations can be stored and recalled as described in Presets.
Now playing information
While an FM station is playing, the screen shows one of the two following sets of data:
- If RDS information is available, by default the service name (i.e. station name) is displayed. You can cycle through further RDS information by pressing Info. Each time you press Info, another set of information is displayed, cycling through RDS radio text, RDS program type, frequency, and today’s date.
- If no RDS information is available, the currently tuned frequency is shown.
Settings
Scan settings
By default, FM scan stops at any available station. This may result in a poor signal-to-noise ratio (hiss) from weak stations. To change the scan setting to stop only at stations with good signal strength, select Menu > Scan setting > Strong stations only? > Yes
Audio Settings
By default, all stereo stations are reproduced in stereo. For weak stations, this may result in a poor signal-to-noise ratio (hiss). To play weak stations in mono, select Menu > Audio setting > FM weak reception: Listen in mono only > Yes.
Bluetooth
Bluetooth mode allows Bluetooth devices to pair with the radio, stream music, and displays information about the track playing. To enter Bluetooth Audio mode, either press Mode to cycle through the listening modes until Bluetooth Audio is displayed, or select Menu > Main menu > Bluetooth. The Bluetooth Audio menu offers the following options:
- Setup Bluetooth
- View Details
- System Settings
- Main Menu
To pair a Bluetooth device with the radio
In Bluetooth mode, on your radio press Menu > Setup Bluetooth, this puts the radio into discoverable mode. The screen shows the Bluetooth name of the radio (Lenco DIR-140). On your Bluetooth smart device, make sure your Bluetooth is on and scan for devices and select ‘Lenco DIR140’ of the Bluetooth devices list
Switch to another paired Bluetooth device
In Bluetooth mode, on the radio select Menu > View details > Paired Device List then select the required device from the list.
Control from radio
While in Bluetooth mode you can pause, play, jump to the next track and jump to the previous track (in the playlist on the controlling Bluetooth device) using the buttons available on the radio.
Bluetooth connection details
For information on the current state of the Bluetooth connection and paired Bluetooth devices, in Bluetooth mode select Menu > View details, the menu offers the following options:
Bluetooth Info – information on the current state and version of the Bluetooth connection on the radio
Connected Device – details of the currently connected Bluetooth device
Paired Device List – list of up to ten devices that have been paired with the radio
“This product has a Bluetooth reception function, you can not transmit any Bluetooth sound with it: this means that you can receive a Bluetooth sound signal from an external source like a smartphone.”
Aux in mode
Aux in mode plays audio from an external source such as an MP3 player.
To play audio with Aux-in mode,
- To avoid sudden loud volume, turn the volume low on both radios and, if adjustable, the audio source devises.
- Connect the external audio source to the Aux in a 3.5mm stereo socket.
- To enter Aux-in mode, either press Mode to cycle through the listening modes until Aux-in is displayed or select Menu > Main menu > Aux in.
- Adjust the volume of the radio (and, if necessary, the audio source device) as required.
Alarms and sleep
As well as a clock/calendar, there are two versatile wake-up alarms with a snooze facility, and a sleep function to turn the system off after a set period. Each alarm can be set to start in a particular mode.
Sleep
To set the sleep timer, press the Sleep key on the remote control repeatedly to cycle through the sleep time options: Sleep OFF, 15 MINS, 30 MINS, 45 MINS, or 60 MINS. Stop when the required time is displayed, after a brief moment the screen returns to the screen being used before the sleep function was selected. On the now playing screens, the remaining sleep time is displayed at the bottom of the screen. Alternatively select Menu > Main menu > Sleep and select from the sleep timer options. Once you select a sleep period, the system returns to the main menu. Press Menu to return to the now playing screen. To cancel a sleep time, select Sleep OFF from the sleep options using
either of the above methods.
Note: Asleep time is automatically canceled if the radio is put into Standby.
Alarms
To set or change an alarm, either press Alarm on the remote control or select Menu > Main menu > Alarms.
Select the alarming number (1 or 2) then configure the following parameters:
- Enable: Off, Daily, Once, Weekends, or Weekdays
- Time: 12:00 AM (adjust as necessary)
- Date: 01-01-2007 (adjust as necessary – this option is usually hidden and only required if ‘Once’ is selected in the Enable field).
- Mode: Buzzer, Internet radio, DAB or FM
- Preset: Last listened or 1-10
- Volume: 0- 32
To save these settings and set the alarm, scroll down and select save.
Note: If you press Back or Menu to exit the Alarm settings without saving, a dialogue screen is displayed asking if you wish to save the changes or not. The now playing, the screen shows active set alarms with an icon at the bottom left. The standby screen shows active set alarms with an icon. At the set time, the alarm will sound. To temporarily silence it, press the OK knob. Press OK knob repeatedly cycles through the available snooze periods: 5 Mins, 10 Mins, 15 Mins, and 30 Mins. The radio returns to standby for the set period, with the silenced alarm icon flashing and a countdown of the remaining snooze period. After the set snooze time, the alarm will sound again. During a snooze
period, to change the snooze time, press the OK knob to select a new snooze time. Any remaining snooze time is reset to the selected time period. To cancel a sounding alarm, or an alarm in snooze, press Standby.
![]()
UNDOK ™ is the companion app for your Lenco DIR-165 audio system.
With UNDOK you can control your Lenco DIR-165 audio device via a WiFi network connection.
There is a version for ANDROID and APPLE Ios smartphones/tablets and can be downloaded from the Google Play app store and Apple AppStore. The UNDOK app runs on any iOS smartphone or tablet running iOS 7 or later. An Android version is also available.
Scan the QR code below for direct download/install from Google Play/Apple Appstore
![]() https://play.google.com/store/apps/details?id=com.frontier_silicon.fsirc.dok2&hl=nl |
![]() |
Network connection setup.
Before UNDOK can be used to control your Lenco DIR-165, you first must be sure that you’re smart device (smartphone, tablet) and the Lenco DIR-165 are connected to the same WIFI network. To connect your audio devices to the appropriate network either consult this documentation for your audio device or consult the documentation of your smartphone/tablet.
When connected to the same WIFI network, the Lenco DIR-165 device will be found in the list of audio devices found. Select the Lenco DIR-165. Now you can start controlling the device with your UNDOK app.

Error messages
Message | Description | Example |
| Failed to connect | The correct key was entered, but the router rejects the request | MAC filtering enabled on the router |
| Format error | Cannot recognize file format — independent of network | Received MP3, but found that the stream wasn’t MP3 when trying to decode |
| Network error | Problem past router – incorrect data being received from the network | Data obtained from the server is unreadable. |
| Network not ready | Problem with connection to the router | Router switched off |
| Network timeout | Problem past router – no response is received from the network | Streaming IR station and suddenly station becomes unavailable |
| Service not available (DAB) | No DAB reception | |
| Update failed | Software upgrade failed | |
Troubleshooting
Problem | Cause | Solutions |
| Cannot connect to the network | Network down | Check that network is working between a computer and the router |
| Router restricts access to listed MAC addresses | Obtain the DIR-140 MAC address from Menu > System settings > Network > View settings and add it to the router list. Note: DIR-140 has separate MAC addresses for wired and wireless networks; only the current network adaptor method address is displayed, but the other address can be obtained by changing the first pair of digits between ’00’ (wireless) and ’02’ (wired) | |
| Insufficient Wi-Fi signal strength | Check the distance to the router; see if a computer can connect to the network in this location | |
| Unknown encryption method | Change encryption method on the router. DIR140 supports WEP. WPA and WPA2 | |
| Unusual network configuration | Setup network manually through Menu > System settings > Network > Manual settings | |
| Firewall preventing access | Check the following ports are open on the router: UDP and TCP ports 80 and 123; DNS port 53. Windows shares: ports 135-139 and 445. Windows Media Player: varies — non-Microsoft firewalls may require configuration for UPnP. | |
| Cannot connect to the Internet | Internet connection down | Check that Internet is working for a computer connected to the same network |
| Firewall preventing access | Check the following ports are open: UDP and TCP ports 80 and 123; DNS port 53. Some Internet radio stations may require additional ports to be opened. | |
| Cannot play particular Internet radio station | Station not broadcasting, overloaded, or insufficient bandwidth. Station broadcasting using an unknown codec. link out of date. | Try other stations; try listening on a computer via Internet radio portal website; try later. |
Display symbols
In the table below you find the meaning of the display symbols.
![]() | Wi-Fi connection is established (with signal strength). |
![]() | The Wi-Fi connection is disconnected. |
![]() | A Bluetooth device is connected. |
![]() | The radio station is on the preset list. |
![]() | FM RDS information is received. |
![]() | The radio signal is being received (with signal strength). |
![]() | The sleep timer is active. |
![]() | Stereo sound broadcast is available. |
![]() | The sound output is muted. |
![]() | Playback is paused. |
Technical Specifications
| Connections | DC, 3.5mm AUX-IN, 3.5mm Headphone-Out |
| Input | 100-240VAC – 50/60Hz |
| Output | 5V/1.5A |
| Output power | 2 × 3W RMS |
| Batteries in remote control | AAA |
| Power consumption | Max 10W |
| Power consumption (standby) | <1W |
| Operating Temperature | 0°C-35°C |
| Operating position | Horizontal |
Power supply adaptor: (For EU only)
Manufacturer: Shenzhen Adition Audio Science and Technology Co., Ltd
Model Number: AD080A0501500EU-MICRO USB
Use only original AC adaptor
Use only the power supply listed in the user instructions.
| Dim. unit | 280 × 110 × 110mm (W×D×H) |
| Weight | 935g |
Guarantee
Lenco offers service and warranty in accordance to European law, which means that in case of repairs (both during and after the warranty period) you should contact your local dealer.
Important note: It is not possible to send products that need repairs to Lenco directly.
Important note: If this unit is opened or accessed by a non-official service center in any way, the warranty expires.
This device is not suitable for professional use. In case of professional use, all warranty obligations of
the manufacturer will be voided.
Disclaimer
Updates to Firmware and/or hardware components are made regularly. Therefore some of the instructions, specifications, and pictures in this documentation may differ slightly from your particular situation. All items described in this guide are for illustration purposes only and may not apply to a particular situation. No legal rights or entitlements may be obtained from the description made in this manual.
Disposal of the Old Device
This symbol indicates that the relevant electrical product or battery should not be disposed of as general household waste in Europe. To ensure the correct waste treatment of the product and battery, please dispose of them in accordance with any applicable local laws of the requirement for disposal of electrical equipment or batteries. In so doing, you will help to conserve natural resources and improve standards of environmental protection in the treatment and disposal of electrical waste (Waste Electrical and Electronic Equipment Directive).
CE Marking
Hereby, Lenco Benelux B.V., Thermiekstraat 1a, 6361 HB Nuth, The Netherlands, declares that this
product is in compliance with the essential EU directive requirements.
The declaration of conformity may be consulted via [email protected]

Service
For more information and helpdesk support, please visit www.lenco.com Lenco Benelux BV, Thermiekstraat 1a, 6361 HB, The Netherlands.




































