DEWALT DWE315 Oscillating Multi-Tool Kit

Technical Data
The vibration and/or noise emission level given in this information sheet has been measured in accordance with a standardized test given in EN62841 and may be used to compare one tool with another. It may be used for a preliminary assessment of exposure.
WARNING:
The declared vibration and/or noise emission level represents the main applications of the tool. However if the tool is used for different applications, with different accessories or poorly maintained, the vibration and/or noise emission may differ. This may significantly increase the exposure level over the total working period.
An estimation of the level of exposure to vibration and/or noise should also take into account the times when the tool is switched off or when it is running but not actually doing the job. This may significantly reduce the exposure level over the total working period. Identify additional safety measures to protect the operator from the effects of vibration and/or noise such as: maintain the tool and the accessories, keep the hands warm (relevant for vibration), organisation of work patterns.
EC-Declaration of Conformity
Machinery Directive
Oscillating Multi-Tool
DWE314, DWE315
DEWALT declares that these products described under Technical Data are in compliance with: 2006/42/EU, EN62841-1:2015, EN62841-2-4:2014. These products also comply with Directive 2014/30/EU and 2011/65/EU. For more information, please contact DEWALT at the following address or refer to the back of the manual. The undersigned is responsible for compilation of the technical file and makes this declaration on behalf of DEWALT.
Markus Rempel
Vice President of Engineering, PTE-Europe
DEWALT, Richard-Klinger-Straße 11,
D-65510, Idstein, Germany
04.03.2019
WARNING: To reduce the risk of injury, read the instruction manual.
Definitions: Safety Guidelines
The definitions below describe the level of severity for each signal word. Please read the manual and pay attention to these symbols.
DANGER:
Indicates an imminently hazardous situation which, if not avoided, will result in death or serious injury.
WARNING:
Indicates a potentially hazardous situation which, if not avoided, could result in death or serious injury.
CAUTION:
Indicates a potentially hazardous situation which, if not avoided, may result in minor or moderate injury.
NOTICE:
Indicates a practice not related to personal injury which, if not avoided, may result in property damage.
- Denotes risk of electric shock.
- Denotes risk of fire.
General Power Tool Safety Warnings
WARNING:
Read all safety warnings, instructions, illustrations and specifications provided with this power tool. Failure to follow all instructions listed below may result in electric shock, fire and/or serious injury.
SAVE ALL WARNINGS AND INSTRUCTIONS
FOR FUTURE REFERENCE.
The term “power tool” in the warnings refers to your mains-operated (corded) power tool or battery-operated (cordless) power tool.
Work Area Safety
- Keep work area clean and well lit. Cluttered or dark areas invite accidents.
- Do not operate power tools in explosive atmospheres, such as in the presence of flammable liquids, gases or dust. Power tools create sparks which may ignite the dust or fumes.
- Keep children and bystanders away while operating a power tool. Distractions can cause you to lose control.
Electrical Safety
- Power tool plugs must match the outlet. Never modify the plug in any way. Do not use any adapter plugs with earthed (grounded) power tools. Unmodified plugs and matching outlets will reduce risk of electric shock.
- Avoid body contact with earthed or grounded surfaces such as pipes, radiators, ranges and refrigerators. There is an increased risk of electric shock if your body is earthed or grounded.
- Do not expose power tools to rain or wet conditions.
Water entering a power tool will increase the risk of electric shock. - Do not abuse the cord. Never use the cord for carrying, pulling or unplugging the power tool. Keep cord away from heat, oil, sharp edges or moving parts. Damaged or entangled cords increase the risk of electric shock.
- When operating a power tool outdoors, use an extension cord suitable for outdoor use. Use of a cord suitable for outdoor use reduces the risk of electric shock. f ) If operating a power tool in a damp location is unavoidable, use a residual current device (RCD) protected supply. Use of an RCD reduces the risk of electric shock.
Personal Safety
- Stay alert, watch what you are doing and use common sense when operating a power tool. Do not use a power tool while you are tired or under the influence of drugs, alcohol or medication. A moment of inattention while operating power tools may result in serious personal injury.
- Use personal protective equipment. Always wear eye protection. Protective equipment such as dust mask, non-skid safety shoes, hard hat or hearing protection used for appropriate conditions will reduce personal injuries.
- Prevent unintentional starting. Ensure the switch is in the off-position before connecting to power source and/or battery pack, picking up or carrying the tool. Carrying power tools with your finger on the switch or energizing power tools that have the switch on invites accidents.
- Remove any adjusting key or wrench before turning the power tool on. A wrench or a key left attached to a rotating part of the power tool may result in personal injury.
- Do not overreach. Keep proper footing and balance at all times. This enables better control of the power tool in unexpected situations.
- Dress properly. Do not wear loose clothing or jewellery. Keep your hair and clothing away from moving parts. Loose clothes, jewellery or long hair can be caught in moving parts.
- If devices are provided for the connection of dust extraction and collection facilities, ensure these are connected and properly used. Use of dust collection can reduce dust-related hazards.
- Do not let familiarity gained from frequent use of tools allow you to become complacent and ignore tool safety principles. A careless action can cause severe injury within a fraction of a second.
Power Tool Use and Care
- Do not force the power tool. Use the correct power tool for your application. The correct power tool will do the job better and safer at the rate for which it was designed.
- Do not use the power tool if the switch does not turn it on and off. Any power tool that cannot be controlled with the switch is dangerous and must be repaired.
- Disconnect the plug from the power source and/ or remove the battery pack, if detachable, from the power tool before making any adjustments, changing accessories, or storing power tools. Such preventive safety measures reduce the risk of starting the power tool accidentally.
- Store idle power tools out of the reach of children and do not allow persons unfamiliar with the power tool or these instructions to operate the power tool. Power tools are dangerous in the hands of untrained users.
- Maintain power tools and accessories. Check for misalignment or binding of moving parts, breakage of parts and any other condition that may affect the power tool’s operation. If damaged, have the power tool repaired before use. Many accidents are caused by poorly maintained power tools.
- Keep cutting tools sharp and clean. Properly maintained cutting tools with sharp cutting edges are less likely to bind and are easier to control.
- Use the power tool, accessories and tool bits, etc. in accordance with these instructions, taking into account the working conditions and the work to be performed. Use of the power tool for operations different from those intended could result in a hazardous situation.
- Keep handles and grasping surfaces dry, clean and free from oil and grease. Slippery handles and grasping surfaces do not allow for safe handling and control of the tool in unexpected situations.
Service
- Have your power tool serviced by a qualified repair person using only identical replacement parts. This will ensure that the safety of the power tool is maintained.
Additional Safety Rules for Oscillating Multi-Tool
WARNING:
Take special care when sanding some woods (e.g. beech, oak) and metal which may produce toxic dust. Wear a dust mask specifically designed for protection against toxic dust and fumes and ensure that persons within or entering the work area are also protected.
- Use this tool in a well-ventilated area when sanding ferrous metals. Do not operate the tool near flammable liquids, gases or dust. Sparks or hot particles from sanding or arcing motor brushes may ignite combustible materials.
Sanding Paint
WARNING: Observe the applicable regulations for sanding paint. Pay special attention to the following:
- Whenever possible, use a vacuum extractor for dust collection.
- Take special care when sanding paint which is possibly lead based:
- Do not let children or pregnant women enter the work area.
- All persons entering the work area should wear a mask specially designed for protection against lead paint dust and fumes.
- Do not eat, drink or smoke in the work area.
- Dispose of dust particles and any other removal debris safely.
- Hold power tool by insulated gripping surfaces when performing an operation where the cutting tool may contact hidden wiring or its own cord. Contact with a “live” wire will make exposed metal parts of the tool “live” and shock the operator.
- Use clamps or another practical way to secure and support the workpiece to a stable platform. Holding the work by hand or against your body leaves it unstable and may lead to loss of control.
WARNING:
We recommend the use of a residual current device with a residual current rating of 30mA or less.
Residual Risks
In spite of the application of the relevant safety regulations and the implementation of safety devices, certain residual risks cannot be avoided. These are:
- Impairment of hearing.
- Risk of personal injury due to flying particles.
- Risk of burns due to accessories becoming hot during operation.
- Risk of personal injury due to prolonged use.
Electrical Safety
The electric motor has been designed for one voltage only. Always check that the power supply corresponds to the voltage on the rating plate.
Your DEWALT tool is double insulated in accordance with EN62841; therefore no earth wire is required.
WARNING: 115 V units have to be operated via a fail-safe isolating transformer with an earth screen between the primary and secondary winding.
If the supply cord is damaged, it must be replaced only by DEWALT or an authorised service organisation.
Mains Plug Replacement
(U.K. & Ireland Only)
If a new mains plug needs to be fitted:
- Safely dispose of the old plug.
- Connect the brown lead to the live terminal in the plug.
- Connect the blue lead to the neutral terminal.
WARNING: No connection is to be made to the earth terminal.
Follow the fitting instructions supplied with good quality plugs. Recommended fuse: 13 A.
Using an Extension Cable
An extension cord should not be used unless absolutely necessary. Use an approved extension cable suitable for the power input of your charger (see Technical Data). The minimum conductor size is 1.5 mm2; the maximum length is 30 m.
When using a cable reel, always unwind the cable completely.
Package Contents
The package contains:
- 1 Adaptor for all blades (DWE315, DWE315SF, DWE315B, DWE315KT, DWE314K)
- 1 Dust extraction adaptor (DWE315KT)
- 1 Cutting guide (DWE315KT)
- 1 Cutting guide hex key (DWE315KT)
- 1 31 mm x 43 mm fastcut wood blade (DWE314K, DWE315KT) 1 31 mm x 43 mm wood with nails blade (DWE315, DWE315SF, DWE315KT, DWE315B, DWE314K)
- 1 100 mm Semicircle blade (DWE314K, DWE315KT)
- 1 Sanding-pad (DWE315, DWE314K, DW315, DWE315B, DWE315KT)
- 25 Assorted sandpaper pieces (DWE315, DWE314K, DW315, DWE315B, DWE315KT)
- 1 9.5 mm x 43 mm wood detail blade (DWE315KT)
- 1 3 mm Carbide grout removal blade
- (100 mm half moon) (DWE315KT)
- 1 Rigid scraper blade (DWE315, DWE315SF, DWE315B, DWE315KT, DWE314K)
- 1 Blade adaptor hex key (DWE315, DWE315SF, DWE315B, DWE315KT, DWE314K)
- 1 Instruction manual
- Check for damage to the tool, parts or accessories which may have occurred during transport.
- Take the time to thoroughly read and understand this manual prior to operation.
Markings on Tool
The following pictograms are shown on the tool:
- Read instruction manual before use.
- Wear ear protection.
- Wear eye protection.
- Wear respiratory protection.
- Visible radiation. Do not stare into light.
Date Code Position
The date code 20 , which also includes the year of manufacture, is printed into the housing.
Example:
2020 XX XX
Year of Manufacture
Description
WARNING: Never modify the power tool or any part of it. Damage or personal injury could result.
- Variable speed trigger
- LED Work light
- Accessory clamp lever
- Lock-on button
- Accessory side mount slots 6 Cut guide block
- Cut guide arm

Intended Use
This oscillating multi-tool is designed for professional detail sanding, plunge cutting, flush cutting, removal of excess materials and surface preparation applications.
DO NOT use under wet conditions or in the presence of flammable liquids or gases. This oscillating multi-tool is a professional power tool.
DO NOT let children come into contact with the tool. Supervision is required when inexperienced operators use this tool.
- Young children and the infirm. This appliance is not intended for use by young children or infirm persons without supervision.
- This product is not intended for use by persons (including children) suffering from diminished physical, sensory or mental abilities; lack of experience, knowledge or skills unless they are supervised by a person responsible for their safety. Children should never be left alone with this product.
ASSEMBLY AND ADJUSTMENTS
WARNING: To reduce the risk of serious personal injury, turn tool off and disconnect tool from power source before making any adjustments or removing/installing attachments or accessories. Be sure the trigger switch is in the OFF position. An accidental start-up can cause injury.
Installing/Removing Accessories
Tool-free Accessory clamp
The DWE314, DWE315 features a quick change accessory system. This allows for faster accessory changes without the need for wrenches or hex keys like other oscillating tool systems.
- Grasp the tool and squeeze the accessory clamping lever 3.

- Clean any residual debris from the tool shaft and the accessory holder.
- Slide the accessory between the shaft 8 and the accessory holder making sure the accessory engages all eight pins on the holder and is flush with the shaft. Ensure the accessory is oriented .

- Release the accessory clamp lever.
NOTE: Some accessories, such as scrapers and blades can be mounted at an angle if required .
Installing/Removing Sanding Sheets
A diamond shaped platen uses a hook and loop adhesion system to attach the sanding sheets. The platen allows you to use it on large flat surfaces and tight spots or corners.
- Attach the sanding platen 9 as described under Installing/Removing Accessories.
- Align the edges on the sanding sheet, with the edge of the sanding platen and press the sanding sheet 10 onto the platen.
- Firmly press the base with the sanding sheet attached against a flat surface and briefly switch the tool on. This provides for good adhesion between the platen and the sanding sheet and also helps to prevent premature wear.
- When the tip of the sanding sheet becomes worn, detach the sheet from the platen, rotate and reapply.

Attaching Accessories Using The Universal Adapter
- CAUTION: To avoid injury, do not use any accessory for an application where the adaptor may fail to hold the accessory.
- CAUTION: Read and follow all manufacturers’ safety warnings for any accessories used with this tool.
- CAUTION: To avoid injury, ensure adaptor and accessory are securely tightened.
Non-DEWALT accessories can be attached using the universal adaptor.
- Place the washer 11 on the tool.
- Place accessory on to washer.
- Tighten and secure adaptor nut 12 using a hex wrench.

Attaching the Cut Guide
The depth/cut guide allows you to precisely cut material at a specified depth and more accurately track a marked cut line.
- Attach the cut guide block 6 by inserting the accessory tabs 13 on the guide into the accessory side mount slots 5 on the main body of the tool.
- Secure the block to the main body with the supplied screw assembly 15 . Tighten with the supplied hex key 16 .

Depth Guide
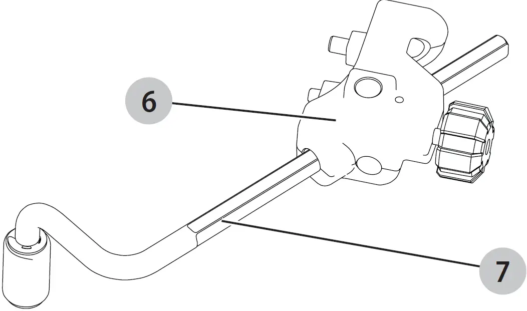
This feature allows you to precisely cut material at a specified depth.
- Insert the guide arm 7 into the front slot on the guide block 6 .

- Adjust the length of the guide by pulling out or pushing inward to achieve the desired cut depth.
- Secure the guide in place by turning the depth/cut adjustment knob 14 clockwise. To release the guide turn the depth/cut adjustment knob counterclockwise.

Cut Guide
This feature allows you to more accurately track a marked cut line.
- Insert the guide arm 7 into the slots on the left and right sides of the guide block 6 .

- Adjust the length of the guide by pulling out or pushing inward to achieve the desired length .
- Secure the guide in place by turning the depth/cut adjustment knob 14 clockwise. To release the guide turn the depth/cut adjustment knob counterclockwise.

NOTE: The guide arm can also be placed in the guard assembly vertically in order to set the height off a cut.
Attaching the Dust Extraction Adaptor
The Dust Extraction Adaptor allows you to connect the tool to an external dust extractor, either using the Airlock™ system
(DWV9000-XJ), or a standard 35 mm dust extractor fitment.
- Attach the dust extraction adaptor 17 by inserting the tabs 13 in to the accessory side mount slots 5 .
- Insert screw assembly 15 into the dust extraction adaptor 17 and tighten with the supplied hex key 16 .

OPERATION
Instructions for Use
- WARNING: Always observe the safety instructions and applicable regulations.
- WARNING: To reduce the risk of serious personal injury, turn tool off and disconnect tool from power source before making any adjustments or removing/installing attachments or accessories. Be sure the trigger switch is in the OFF position. An accidental start-up can cause injury.
- WARNING: Ensure switch is fully OFF before plugging in the power cord.
- Plug in power cord.
- To turn the tool ON, hold it and press the variable speed trigger 1 .
NOTE: The further the trigger switch is depressed the faster the tool will operate. If in doubt about the proper speed for your operation, test the performance at low speed and gradually increase until a comfortable speed is found. - To turn the tool OFF, release the variable speed trigger 1 .

For more comfort in extended use applications, the lock-on button 4 can lock the trigger trigger 1 in the depressed position.
LED Work light
The LED work light 2 will activate when the trigger is depressed
Proper Hand Position
WARNING: To reduce the risk of serious personal injury, ALWAYS use proper hand position as shown.
WARNING: To reduce the risk of serious personal injury, ALWAYS hold securely in anticipation of a sudden reaction.
Proper hand position requires the tool to be held .
Using the Dust Extraction Adaptor with the Sanding Platen
- Attach the dust extraction adaptor 17 . Refer to Attaching the Dust Extraction Adaptor.
- Attach the sanding platen 9 as described under Installing/Removing Accessories.
- Attach sanding sheet as described under Installing/Removing Sanding Sheets.

Using the Dust Extraction Adaptor with Plunge Cutting Accessory
- Attach the dust extraction adaptor. Refer to Attaching the Dust Extraction Adaptor.
- Push dust extraction arm 19 into the lower aperture of the dust extraction adaptor 17 .
- Attach plunge cutting bit as described under Installing/Removing Accessories.
- Adjust the dust extraction arm 19 for best results.

Helpful Hints
- Always ensure the workpiece is firmly held or clamped to prevent movement. Any movement of the material may affect the quality of the cutting or sanding finish.
- Do not start sanding without having the sandpaper attached to sanding platen.
- Use coarse grit paper to sand rough surfaces, medium grit for smooth surfaces and fine grit for the finishing surfaces. If necessary, first make a test run on scrap material.
- Excessive force will reduce the working efficiency and cause motor overload. Replacing the accessory regularly will maintain optimum working efficiency.
- Do not allow the sandpaper to wear away, it will damage the sanding pad.
- If the tool overheats, especially when used at low speed, set the speed to maximum and run it with no load for 2–3 minutes to cool the motor. Avoid prolonged usage at very low speeds. Always keep the blade sharp.
MAINTENANCE
Your DEWALT power tool has been designed to operate over a long period of time with a minimum of maintenance. Continuous satisfactory operation depends upon proper tool care and regular cleaning.
WARNING: To reduce the risk of serious personal injury, turn tool off and disconnect tool from power source before making any adjustments or removing/installing attachments or accessories. Be sure the trigger switch is in the OFF position. An accidental start-up can cause injury.
Lubrication
Your power tool requires no additional lubrication.
Cleaning
WARNING: Blow dirt and dust out of the main housing with dry air as often as dirt is seen collecting in and around the air vents. Wear approved eye protection and approved dust mask when performing this procedure.
WARNING: Never use solvents or other harsh chemicals for cleaning the non-metallic parts of the tool. These chemicals may weaken the materials used in these parts. Use a cloth dampened only with water and mild soap. Never let any liquid get inside the tool; never immerse any part of the tool into a liquid.
Optional Accessories
WARNING: Since accessories, other than those offered by DEWALT, have not been tested with this product, use of such accessories with this tool could be hazardous. To reduce the risk of injury, only DEWALT recommended accessories should be used with this product.
Consult your dealer for further information on the appropriate accessories.
Compatible accessories
- Oscillating sanding pad
- Oscillating wood w/ nails blade
- Wide titanium oscillating wood w/ nails blade Oscillating hardwood blade
- Oscillating fastcut wood blade
- Wide oscillating fastcut wood blade
- Oscillating wood detail blade
- Oscillating titanium metal blade
- Oscillating semicircle blade
- Oscillating titanium semicircle blade
- Oscillating flush cut blade
- Titanium oscillating flush cut blade
- Oscillating multi-material blade
- Oscillating rigid scraper blade
- Oscillating flexible scraper blade
- Oscillating carbide grout removal blade Oscillating fastcut carbide grout removal blade Oscillating carbide rasp
Protecting the Environment
Separate collection. Products and batteries marked with this symbol must not be disposed of with normal household waste.
Products and batteries contain materials that can be recovered or recycled reducing the demand for raw materials. Please recycle electrical products and batteries according to local provisions. Further information is available at www.2helpU.com.
TROUBLESHOOTING
| Problem | Possible Cause | Possible Solution |
| Unit will not start. | Cord not plugged in. | Plug tool into a working outlet. |
| Circuit fuse is blown. | Replace circuit fuse. (If the product repeatedly causes the circuit fuse to blow, discontinue use immediately and have it serviced by an authorised DEWALT repair agent.) | |
| Circuit breaker is tripped. | Reset circuit breaker. (If the product repeatedly causes the circuit breaker to trip, discontinue use immediately and have it serviced by an authorised DEWALT repair agent.) | |
| Cord or switch is damaged. | Have cord or switch replaced by an authorised DEWALT repair agent. |
References
2helpU
DEWALT® Power Tools Official Site | Guaranteed Tough® | Middle East
Elektrowerkzeuge – Industrielle Maschinen – Professionelle Werkzeuge von DEWALT
Elektrisch gereedschap | Opbergsystemen | Landscaping | DEWALT
Elektrowerkzeuge – Industrielle Maschinen – Professionelle Werkzeuge von DEWALT
Power Tools | Storage | Landscaping | DEWALT
Power Tools | Storage | Landscaping | DEWALT
Power Tools | Storage | Landscaping | DEWALT
DEWALT® | Sağlamlığın Garantisi® | Elektrikli El Aletleri, Aksesuarları, Lazer Ölçüm Cihazları
Elektrowerkzeuge | Aufbewahrung | Landschaftsbau | DEWALT Deutschland
Elværktøj | Opbevaring | Landskabspleje | DEWALT Denmark
Herramientas Eléctricas | Almacenamiento | Jardinería | DEWALT España
Sähkötyökalut | Säilytys | Maisemointi | DEWALT SUOMI
Outils électroportatifs | Rangement | Jardin | DEWALT
DEWALT Ηλεκτρικά Εργαλεία και Αξεσουάρ
Power Tools | Storage | Landscaping | DEWALT
Elettroutensili | Storage | Giardinaggio | DEWALT Italia
Elektrisch gereedschap | Opbergsystemen | Landscaping | DEWALT
Elektroverktøy | Oppbevaring | Landskapspleie | DEWALT Norge
Ferramentas Elétricas | Armazenamento | Paisagismo | DEWALT PORTUGAL
Elverktyg | Förvaring | Trädgårdsmaskiner | DEWALT Sverige



































