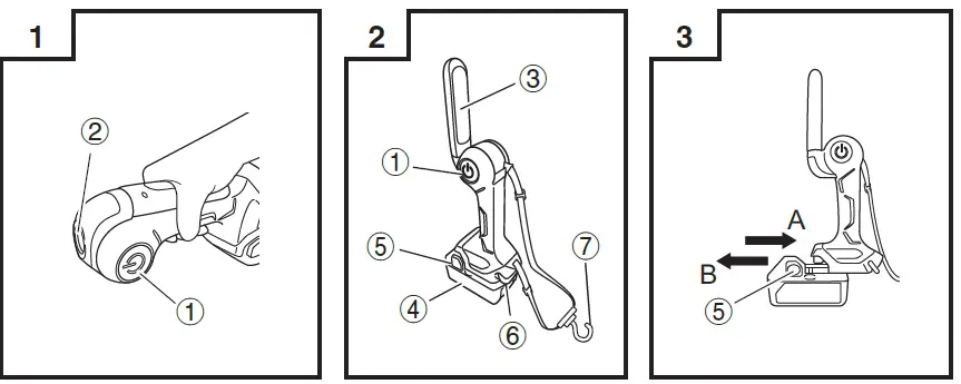
metabo UB18DJL Cordless Work Light

- Switch
- LED Torchlight
- LED Worklight
- Battery (sold separately)
- Latch
- Hook
- Strap hook
Symbols
WARNING
The following show symbols used for the machine. Be sure that you understand their meaning before use.
Read all safety warnings and all instructions. Failure to follow the warnings and instructions may result in electric shock, fi re and/or serious injury.
Only for EU countries
Do not dispose of electric tools together with household waste material!
In observance of European Directive 2002/96/EC on waste electrical and electronic equipment and its implementation in accordance with national law, electric tools that have reached the end of their life must be collected separately and returned to an environmentally compatible recycling facility.
CORDLESS WORK LIGHT UB18DJL INSTRUCTION MANUAL
WARNING:
- Be careful of electrical shock.
- When not in use or during inspection and maintenance, be sure to turn the switch OFF on the unit, and remove the battery from it.
- Do not cover the work light with cloth, cardboards or other materials when the light is on. Doing so may result in fi re.
CAUTION:
- Do not use any other than the specified batteries.
- Possibly hazardous optical radiation emitted from this product. Do not stare at operating lamp. May be harmful to the eye.
- The LED cover will remain at a high temperature when alight and immediately after use, so do not touch it.
- Be sure to turn the switch OFF when not using.
- Do not expose the work light to rain.
- Do not shock or disassemble the work light.
- Do not allow the work light to contact gasoline, thinner etc.
- Do not leave the work light in a car or the like that tends to be exposed to be searching heat of the sun (above 50 °C). Otherwise, troubles can result.
SPECIFICATIONS

Operating time (Approx.): Using full charged battery Please refer to (Fig. 8) for batteries that can be used.
HOW TO USE
- Battery insert/removal: Insert the battery in direction A until it clicks. To remove, extract it in direction B while holding down the latch. (Fig. 3)
- Each press of the switch will cycle the light through “Torchlight”, “Work light (High)”, “Work light (Medium)”, “Work light (Low)” and “Off ”.
- As shown in (Fig. 4), the facing of the work light portion can be changed. Move the work light portion by hand to point the light in a desired direction.
- Use either the storage hook (Fig. 5) or strap hook (Fig. 6) when hanging the unit from a pipe.



CAUTION:
- Use cord or a similar article to fi x the unit in place to prevent it from falling.
- When battery power is low, the battery protection function will switch the light off . For torchlight, the light will dim and go out. For work light, the light will first switch over to single
LED illumination, and then go out (Fig. 7). - Please remove battery if the unit will not be used for a long period of time.
NOTE: Make sure the instruction manuals supplied with the separately-purchased chargers and batteries are read thoroughly prior to use.

GUARANTEE CERTIFICATE
- Model No.
- Serial No.
- Date of Purchase
- Customer Name and Address
- Dealer Name and Address
(Please stamp dealer name and address)
Hikoki Power Tools (U.K.) Ltd.
Precedent Drive, Rooksley, Milton Keynes, MK 13,
8PJ, United Kingdom
Tel: +44 1908 660663
Fax: +44 1908 606642
URL: http://www.hikoki-powertools.uk



















