
Model Number 352585
Owner’s Manual
Air Fryer
GENERAL SAFETY
- Ensure that you read all safety instructions before using this product and retain them for future reference.
- This product has been designed and manufactured to meet European safety standards, but like any electrical equipment care must be taken if you are to obtain the best results and safety is to be assured.
- Check if the voltage indicated on the appliance corresponds to the local mains voltage before you connect the appliance.
- Do read the operating instructions before you attempt to use the product
- Do ensure that all electrical connections are properly made in accordance with the instructions (including the mains plug, extension leads, and interconnections between pieces of equipment)
- Switch off and remove the mains plug or mains adaptor when making or changing any connections.
- Do consult your dealer if you are ever in doubt about the installation, operation, or safety of your product.
- Don’t remove any fixed covers as this may expose you to dangerous voltages.
- Don’t continue to operate the product if you are ever in doubt about it working normally, or if it is damaged in any way. Switch it off, withdraw the plug and consult your dealer.
- There are no user-serviceable parts in this product. When servicing, refer to qualified personnel.
- Extreme caution must be used when moving an appliance containing hot oil or other hot liquids or food.
- Don’t leave the product switched on when it is unattended for long periods of time unless it specifically stated that it is designed for unattended operation or has a standby mode.
- Do not obstruct the ventilation vents of the product.
- Store the product in a cool, dry environment.
- Position the power cable and other connected cables so that they are not likely to be walked on, pinched or where items can be placed on or against them.
- Never allow children to insert foreign objects into holes or slots on the product.
- Disconnect the product from the main supply before cleaning.
PRODUCT SAFETY
- Do not immerse the appliance in any liquids.
- Do not place the appliance against a wall or against any other appliances. Leave at least 10cm free space on the back and sides and 10cm free space above the appliance. Do not place anything above the appliance.
- During hot air frying, hot steam is released through the air outlet openings. Keep your hands and face at a safe distance from the steam and from the air outlet openings. Also, be careful of hot steam and air when you remove the pan from the appliance.
- Accessible surfaces may become hot during use.
- The pan, basket, and accessories inside the air fryer become hot during use, be careful when handling
- Do not switch on your appliance near flammable materials (blinds, curtains) or close to an external heat source (gas stove, hot plate)
- Do not store any flammable products close to or underneath the furniture unit where the appliance is located.
- Close supervision is necessary when any appliance is used by or near children.
- Never move the appliance when it still contains hot food.
- This appliance can be used by children aged from 8 years and above and persons with reduced physical, sensory or mental capabilities or lack of experience and knowledge if they have been given supervision or instruction concerning the use of the appliance in a safe way and understand the hazards involved. Children shall not play with the appliance. Cleaning and user maintenance shall not be made by children unless they are older than 8 and supervised.
- Keep the appliance and its cord out of reach of children less than 8 years old.
- Keep the main cord away from hot surfaces.
- Do not place the appliance on or near a hot gas stove or all kinds of electrical stove and cooking plates, or in a heated oven.
- Do not place the appliance on or near combustible materials such as a tablecloth or curtain.
- Immediately unplug the appliance if you see dark smoke coming out of the appliance. Wait for the smoke emissions to stop before you pull the pan out of the appliance.
- Always place and use the appliance on a dry, stable, level horizontal surface.
- Always unplug the appliance after use.
- Let the appliance cool down for approx. 30 minutes before you handle or clean it.
- The temperature of accessible surfaces may be high when the appliance is operating. Do not touch the hot surfaces of the appliance.
- Be careful when cleaning the upper area of the cooking chamber.
- This appliance is intended for domestic use only, it is not intended to be used for use in environments such as: – staff kitchen areas in shops, offices, and other working environments, – farmhouses – by clients in hotels, motels and other residential environments – bed and breakfast type environments
- This appliance is not intended to be operated by means of an external timer or a separate remote control system.
- Don’t use the appliance if the plug, main cord, or the appliance itself is damaged.
- Never operate the appliance when empty.
- Do not store your appliance outside. Store it in a dry well-ventilated area.
- For your safety only use the accessories and spare parts designed for your appliance.
- CAUTION: This appliance generates heat and escapes steam during use. Proper precautions must be taken to prevent the risk of burns, fires, or another injury to persons or damage to property.
- Never press the handle release button if the cooking compartment is elevated, as this could cause injury; only press it once the cooking compartment has been placed onto a flat, stable surface.
DESCRIPTION OF PARTS
- 30-minute timer
- Power LED indicator light
- Outer basket
- Detachable non-stick basket
- Temperature control
- Ready LED indicator light
- Handle
- Cord storage
- Basket release button

BEFORE FIRST USEIf
you are using your fryer for the first time it is recommended that you:
- Remove all packaging material
- Remove any stickers or labels from the appliance
- Thoroughly clean the basket and the pan with hot water, some washing-up liquid, and a non-abrasive sponge and ensure completely dry before replacing.
NOTE: you can also clean these parts in the dishwasher - Wipe the inside and outside of the appliance with a damp cloth.
- The rapid air fryer comes preassembled with the frying basket locked into the drawer.
- To unlock and remove the detachable non-stick basket from the outer basket, open the clear button cover and press the basket release button allowing the detachable non-stick basket to be removed out of the drawer.
USING THE APPLIANCE
- Place the appliance on a flat, stable, heat-resistant work surface away from water splashes.
- THIS IS AN AIR FRYER AND WORKS ON HOT AIR. DO NOT FILL THE PAN WITH OIL OR FRYING FAT. DO NOT PUT ANYTHING ON TOP OF THE APPLIANCE, THIS DISRUPTS THE AIRFLOW AND AFFECTS THE HOT AIR FRYING RESULT.
- Connect the power supply cord to an electrical socket.
- Carefully remove the outer basket using the handle from the fryer ensuring that the detachable non-stick basket is inside. Do not use the rapid air fryer without the non-stick basket, ensure that it is properly and securely fitted before turning on the rapid air fryer.
- Put your ingredients into the non-stick basket.
NOTE: Never fill the basket beyond the MAX indication or exceed the amount indicated in the table as this could affect the quality of the end result. - Slide the outer basket back into the Air fryer.
CAUTION: Do not touch the outer basket during and sometime after use as it gets very hot. Only hold by the handle.
- Turn the temperature control dial to the required temperature.
- To switch on the appliance, turn the timer dial to the required preparation time.
- Add 5 minutes to the preparation time when the appliance is cold. Note: the air fryer will not heat if the timer dial has not been set.
- The red power LED will illuminate and the air fryer will begin to heat up. The red light will not illuminate until the outer basket is fully closed.
- The green LED will turn on when the set temperature has been reached. During frying, the green ready LED will cycle on and off to ensure the desired temperature is maintained.
- Some foods may require shaking halfway through the cooking time. Remove the outer basket by pulling the basket handle out of the hot air fryer. Check that the plastic cover is concealing the basket release button, taking care not to release the detachable non-stick basket. Shake the cooking compartment gently and then slide it back into the air fryer.
NOTE: When the draw is pulled out of the appliance the red power light and air fryer will turn off. The timer will continue to count down whilst the outer basket is open. - The air fryer will resume heating when the drawer is placed securely back into the fryer.
- One beep will sound when the set air frying time has expired.
- Allow cooked food to rest for 5-10 seconds before removing the basket drawer from the air fryer.
- Once the food is cooked, remove the detachable non-stick basket from the outer basket and empty the contents onto a bowl or plate. Use a pair of heat-resistant tongs (not included) if the food is large or fragile. CAUTION: do not tip food directly into a bowl or onto a plate as excess oil may collect at the bottom of the cooking compartment, always remove the detachable non-stick basket from the outer basket.
- The air fryer will turn off automatically.
- Both the red power light and green heat on the light will turn off.
- When you have completed all air frying turn both the temperature control dial to 0 and timer dial to OFF.
| FOOD | MAX-MAX AMOUNT | APPROX COOKING TIME | TEMPERATURE | |
| Frozen chips | 300-500g | 15-20 mins | 200°c | |
| Homemade chips | 300-500g | 25-30 mins | 200°c | |
| Frozen potato wedges | 300-500g | 22-27 mins | 180°c | |
| Pork chops | 100-500g | 18-20 mins | 200°c | Turn over halfway through cooking time. |
| Chicken breast | 100-500g | 15-22 mins | 200°c | Always check the chicken is cooked thoroughly. |
| Salmon fillet | 350g | 15-17 mins | 140°c | |
| Frozen chicken nuggets | 100-500g | 10-15 mins | 200°c | |
| Mini pizzas | 5 pieces | 7 mins | 190°c | |
| Muffins | 4 x 100g | 18-22 mins | 180°c | Use a baking tin/oven dish |
CLEANING AND MAINTENANCE
Clean the appliance after every use.
The outer and detachable basket has a non-stick coating. Do not use metal kitchen utensils or abrasive cleaning materials to clean them as this may damage the non-stick coating.
- Remove the mains plug from the wall socket and let the appliance cool down. Remove the outer basket to allow the fryer to cool down more quickly.
- Wipe the outside of the appliance with a cool damp cloth.
- Clean the outer basket and detachable non-stick basket in hot soapy water.
Note: these parts are dishwasher safe. - If dirt is stuck to the bottom of the outer basket fill them with hot soapy water and let it soak for 10 minutes. Then rinse clean and dry.
- Wipe inside of the appliance with hot water and a damp cloth.
- Do not immerse the appliance in water or any other liquid.
STORAGE - Unplug the appliance and let it cool down.
- Make sure all parts are clean and dry
- Never store the Air Fryer while it is hot or wet.
- Store the air fryer in a clean dry place.
ELECTRICAL INFORMATION
(Fixed Mains Plug Only)
The mains lead supplied with this product is fitted with a BS1363/A 13 amp plug. If it is not suitable for your supply sockets it must be replaced with an appropriate plug. If the plug becomes damaged and/or needs to be replaced please follow the wiring instructions on the next page. The plug removed must be disposed of immediately. It must not be plugged into a supply socket as this will be an electrical hazard. If the fuse needs to be replaced it must be of the same rating and ASTA approved to BS1362. If the plug is changed, a fuse of the appropriate rating must be fitted in the plug, adapter, or at the distribution board. If the fuse in a molded plug is replaced, the fuse cover must be refitted before the application can be used.
WIRING INSTRUCTIONS
The supply cable will be either 2-core or 3-core. Follow the appropriate wiring instructions shown. In both cases ensure that the outer sheath of the cable is held firmly in place by the cable clamp.
ELECTRICAL INFORMATION
(Power adapters only)
Never open the power adapter, you risk getting an electric shock. Only use the power adapter that is supplied with your product. You must always connect the power adapter to the product before connecting to the main power supply. The power adapter must be used indoors only, and must not be subjected to damp conditions. The power adapter does not have any user-serviceable parts.
2-CORE PLUG WARNING: Do not connect either wire to the earth terminal. This symbol indicates that this 2-core appliance is Class II and does not require an earth connection. The wire colored blue must beconnected to the terminal marked with the letter N or colored black. The wire colored brown must be connected to the terminal marked with the letter L or colored red. | ![]() |
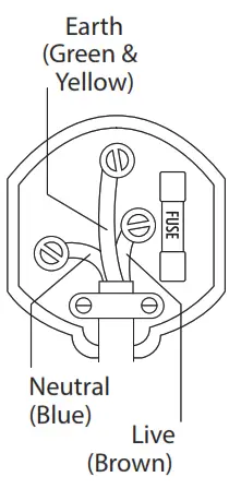
3-CORE PLUG WARNING: This appliance must be earthed. The wire colored green and yellow must be connected to the terminal marked with the letter E, or by the earth symbol, or colored green or green and yellow. The wire colored blue must be connected to the terminal marked with the letter N or colored black. The wire colored brown must be connected to the terminal marked with the letter L or colored red. | ![]() |
TECHNICAL SPECIFICATION
| Model Number | 352585 |
| Voltage | AC 220-240v~50Hz |
| Power | 1300w |
This appliance complies with the below listed EU Directives
2014/30/ EU Electromagnetic Compatibility Directive
2014/35/ EU Low Voltage Directive
2011/65/ EU Restriction of Hazardous Substances
1935/2004/EC Materials & Articles in Contact with Food (LFGB sections 30 & 31)
The complete declaration of conformity is available upon request for relevant inquiries
CUSTOMER SUPPORT
For all product support, please email: [email protected]
GUARANTEE
This product is guaranteed for twelve months from the date of original purchase. If any defect should occur due to faulty materials or workmanship, please return it to the store it was purchased from. You will need to have your receipt of purchase on hand. The guarantee is subject to the following provisions:
- It is only valid within the boundaries of the country of purchase.
- The product must be correctly installed and operated in accordance with the instructions contained in the User Manual.
- The product must be used solely for domestic purposes.
- The guarantee will be rendered invalid if the product is re-sold or has been damaged by inexpert repair.
- The manufacturer disclaims any liability for incidental or consequential damages.
- The guarantee is in addition to and does not diminish, your statutory or legal rights.
Information on Waste Disposal for Consumers of Electrical & Electronic Equipment
This mark on a product and/or accompanying documents indicates that when it is to be disposed of, it must be treated as Waste Electrical & Electronic Equipment (WEEE).
Any WEEE marked waste products must not be mixed with general household waste, but kept separate for the treatment, recovery, and recycling of the materials used. For proper treatment, recovery and recycling; please take all WEEE marked waste to your Local Authority Civic waste site, where it will be accepted free of charge. If all consumers dispose of Waste Electrical & Electronic Equipment correctly, they will be helping to save valuable resources and preventing any potential negative effects upon human health and the environment, of any hazardous materials that the waste may contain.
Imported by
B&M Retail Ltd
The Vault, Dakota Drive,
Estuary Commerce Park,
Speke, Liverpool, L24 8RJ, UK
Your statutory rights are not affected.
Made in China.
All brand names are registered trademarks of their respective owners.

WARNING: Do not connect either wire to the earth terminal. This symbol indicates that this 2-core appliance is Class II and does not require an earth connection. The wire colored blue must be
WARNING: This appliance must be earthed. The wire colored green and yellow must be connected to the terminal marked with the letter E, or by the earth symbol, or colored green or green and yellow. The wire colored blue must be connected to the terminal marked with the letter N or colored black. The wire colored brown must be connected to the terminal marked with the letter L or colored red.



















