CROSLEY C6B Belt drive Bluetooth Turntable with built-in

Safety Instructions
Read and understand this entire manual before using this product. Keep these instructions for future reference.
- Do not use this product near water.
- This product should be operated only by the type of power source indicated on the marking label or in this instruction manual.
- Do not defeat the safety purpose of the polarized plug. A polarized plug has two blades with one blade wider than the other. This plug will fit into the power outlet only one way. If you are unable to insert the plug fully into the
- outlet try reversing the plug. If the plug should still fails to fit, contact your electrician.
- Protect the power cord from being walked on or pinched particularly at plugs, convenience receptacles, and the point where they exit from the product.
- Do not overload wall outlets, extension cords, or integral convenience receptacles as this can result in a risk of fire or electric shock.
- Never push objects of any kind into this product through openings as they may touch dangerous voltage points or short-out parts that could result in a fire or electric shock. Never spill liquid of any kind on the product.
- Do not attempt to service this product yourself as opening or removing covers may expose you to dangerous voltage or other hazards. Refer all servicing to qualified service personnel.
- Changes or modifications to this unit not expressly approved by the party responsible for compliance could void the user’s authority to operate the equipment.
- Do not use attachments not recommended by the product manufacturer as they may cause hazards.
- A product and cart combination should be moved with care. Quick stops, excessive force, and uneven surfaces may cause the product and cart combination to overturn.
- Slots and openings in the cabinet are provided for ventilation to ensure reliable operation of the product and to protect it from overheating. Do not block or cover these openings.
- Unplug the product during a lightning storm or when unused for long periods of time
Items in this package
Before throwing away any packaging materials, please check thoroughly and make sure you find the following items that come along with this package:
- Turntable
- Turntable Lid
- Turntable Slip Mat
- Turntable Platter
- Tonearm Counterweight
- Cartridge Alignment Protractor
- Power Adaptor
- 45 RPM adapter
- RCA cable
Please contact Crosley customer service if there is any accessory missing from the package. Retain the original packaging materials for exchange or return purposes.
Specifications
Crosley C6B
- Power DC power adaptor, DC output 12V 0.5A
- Power Consumption 5W
- Turntable Speed 331 /3, 45 RPM
- Speed Variance +0.8%
- Wow and Flutter +0.15%
- Signal to Noise 72dB
- Effective Tonearm Length 8.6” (218.5mm)
- Overhang 0.73”
- Weight 13.67 lbs
Needle: Crosley NP-5
- Frequency Response 20Hz – 20kHz
- Channel Balance <2.5 dB
- Channel Separation >18 dB
- Output Voltage 2.5 mV
- Recommended Load Resistance 47k Ω
- Amplifier connection MM – input
- Recommended Tracking Pressure 3.5±0.5g
- Weight 0.18oz
Note: Design and specifications are subject to change without notice.
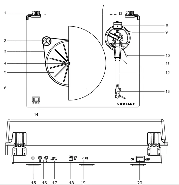
Product Description

- Hinge
- Drive Pulley
- Drive Belt
- Turntable Spindle
- Turntable Hub
- Turntable Platter
- Tonearm Lift
- Tonearm Counterweight
- Downforce Scale Dial
- Tonearm Lift Lever
- Tonearm Rest
- Tonearm
- Headshell
- Speed Selector
- Ground Connector
- RCA Jacks
- Phone/Line Switch
- Power Jack
- Bluetooth Indicator
- Power Switch
Initial Setup
Essential Setup
- Place the unit on a flat and level surface. The selected location should be stable and free from vibration.
- Install the turntable lid to the hinges.
- Remove the tie-wrap that is holding the tonearm.
- Install the turntable platter and drive belt accordingly
- Place the slip mat on top of the turntable platter.
- Slide Tonearm Counterweight onto the tonearm and twist it lightly onto the rear shaft of the tonearm.
- Adjust the counterweight to set proper stylus pressure.
- Connect the DC adaptor to the Power Jack of the unit.
Note: Do not plug the DC power adaptor into the power outlet before all the assembly is completed. Before turning the power on, make sure again all the connection settings are correct. Always turn off the power when connecting or disconnecting.
Tonearm Counterweight Adjustment for Stylus Pressure
- Remove the stylus protector from the cartridge and avoid touching the stylus tip during the adjustment.
- Lift up the Tonearm from its rest and gently hold it. The tonearm is unbalanced at this point.
- Carefully rotate the Counterweight towards the front of the turntable until the tonearm is horizontally balanced and hovers freely just above the platter without the stylus touching the platter surface.
- Return the tonearm to the Tonearm Rest.
- While holding the counterweight steady without any rotation, rotate carefully only the Downforce Scale Dial until the “0” on the scale lines up with the centerline marked along the top of the tonearm.
- Rotate the counterweight including the downforce scale dial counter-clockwise (as seen from the front of the turntable) to adjust the pressure to the stylus manufacturer’s recommendations.
Note:
- Each mark on the scale represents 0.05g (gram).
- The recommended pressure for the factory-installed cartridge is 3.5g.
Note: The cartridge only goes up to 1.75g. You will need to make two full rotations to reach 3.5g
Turntable Platter and Belt Setup
- Put the drive belt around the Turntable Hub, and then use the provided drive belt assembly tool to help pull the belt to fit around the slot of motor pulley.
- Place the turntable platter through the turntable spindle.
Stereo System Connection
RCA Jacks
- The RCA jacks of this unit are shared as both the Phono output jacks and the Line output jacks. They are determined by the Phono/Line Switch.
- When used as a line output, the jacks output analog line-level signals and could be connected directly with a pair of active speakers or the appropriate input of your stereo system. When used as a Phono output, they should be connected to the phono pre-amp or the phono input of the stereo system.
- The Red plug connects with the Right channel and the White plug connects with the Left channel.
Note:
- If the Phono/Line switch is set at LINE position but RCA jacks are connected to the stereo system’s phono input, the sound might be distorted due to input overload and could damage your stereo system.
- If the Phono/Line switch is set at the PHONO position but the RCA jack is connected to the stereo system’s line input, the volume will be very low due to lacking signal pre-amplification.
- RCA Jack is not designed to be connected directly to the passive/unpowered speakers and if it does, the volume will be very low
Turntable Operation
- Press the Power Switch to turn on the power. The turntable will automatically start searching for an external Bluetooth speaker. Note: Please ensure there is no Bluetooth speaker within 30 feet working under pairing mode to prevent accidental Bluetooth connection establishment.
- Once the Bluetooth speaker is successfully paired, the Bluetooth indicator will be solid blue. Note: If no Bluetooth speaker is paired with the turntable within 2 minutes, the turntable will de-active the Bluetooth searching function. When you decide to connect the turntable to the Bluetooth speaker later on after the 2-minute period, you will need to turn OFF the turntable and start over from Step 1 above.
- Set the Speed Switch accordingly.
- Place the record on the turntable. Use the 45 RPM Adapter if necessary.
- Remove the stylus protector from the stylus assembly. Note: To avoid stylus damage, make certain the included stylus guard is in place whenever the turntable is being moved or cleaned.
- Gently pull up the Tonearm from its rest and move it over the record where play is desired to begin. Use the Tonearm Lift Lever to raise the Tonearm Lift and let the Tonearm sit on it.
- Set the Tonearm Lift Lever back to the down position, the tonearm will descend slowly onto the record and begin playback.
- When the record is finished playing, use the Tonearm Lift Lever to raise the tonearm and then return it to the Tonearm Rest. To suspend the playback, repeat the same steps.
Cartridge Replacement
- Before replacement, put the stylus protector back on the stylus to prevent damage to the stylus during the replacement process.
- Carefully remove the wire leads from the original cartridge.
- Loosen the two screws on the headshell that are securing the cartridge and then remove the original cartridge.
- Mount the new cartridge to the headshell and tighten it lightly. Do not completely tighten the screws at this moment.
- Connect the wire leads to the new cartridge’s terminals. The wire lead color codes are as below:
White Left channel positive (L+)
Black Left channel negative (L–)
Red Right channel positive (R+)
Black Right channel negative (R-)
- Adjust the cartridge’s position to make sure it is precisely aligned on the headshell so that the stylus will be tracking the grooves in parallel perfectly. To achieve this, place the included paper cartridge alignment protractor over the turntable spindle, carefully lift the tone arm and place the tip of the stylus on the points marked 130mm and 250mm respectively. Fine-tune the cartridge’s position on the headshell until the cartridge is perfectly in parallel with the reference lines at both points.
- Tighten the screws completely once the perfect alignment is achieved.
Azimuth Adjustment
The needle must be perpendicular to the record groove in order to track the groove wall modulations correctly. In rare cases, if the factory installation is not perfect, you can make the below adjustment:
- Use an Allen Wrench to loosen the screw located at the bearing end of the tonearm just enough to loosen the arm tube. Note: Do not remove the screw completely.
- Gently rotate the tonearm until the needle is perpendicular to the record surface. Note: Make sure the needle tip is not touching the record when adjustment is being made or it will cause damage to the needle and cantilever suspension.
- Tighten the screw when adjustment is finished.

Turntable Maintenance
- Do not touch the stylus tip with your fingers. Avoid bumping the stylus on the turntable mat or a record’s edge.
- Clean the stylus frequently with a soft brush with a back-to-front motion only.
- Clean the records to get rid of dust or grease with a record cleaning brush and record cleaning solution.
- Clean the turntable lid and turntable cabinet with a slightly damped microfiber cloth. Note: Do not use cleanser other that contains alcohol, benzene, or any other harsh chemicals, which might damage the paint and finish of the turntable.
Crosley offers a product line of different cleaning accessories. Please ask your retailer or check out our website www.crosleyradio.com for more cleaning product information.
Troubleshooting
There is no power
- The power adaptor is not connected correctly.
- No power at the power outlet.
The power is on, but the platter does not turn
- Turntable’s drive belt is not installed or has slipped off.
The turntable is spinning, but there is no sound, or sound not loud enough
- The stylus protector is still on.
- The tonearm is lifted up by the lever. Record sounds too fast or too slow.
- Wrong speed selected for the record. Strong hum on phono input
- The cable is not grounded correctly
FCC Statements
NOTE: This equipment has been tested and found to comply with the limits for a Class B digital device, pursuant to part 15 of the FCC Rules. These limits are designed to provide reasonable protection against harmful interference in a residential installation. This equipment generates uses and can radiate radio frequency energy and, if not installed and used in accordance with the instructions, may cause harmful interference to radio communications. However, there is no guarantee that interference will not occur in a particular installation. If this equipment does cause harmful interference to radio or television reception, which can be determined by turning the equipment off and on, the user is encouraged to try to correct the interference by one or more of the following measures:
- Reorient or relocate the receiving antenna.
- Increase the separation between the equipment and receiver.
- Connect the equipment into an outlet on a circuit different from that to which the receiver is connected.
- Consult the dealer or an experienced radio/TV technician for help
- Changes or modifications not expressly approved by the party responsible for compliance could void the user’s authority to operate the equipment.
This device complies with Part 15 of the FCC Rules. Operation is subject to the following two conditions:
- this device may not cause harmful interference, and
- this device must accept any interference received, including interference that may cause undesired operation.
This equipment complies with FCC radiation exposure limits set forth for an uncontrolled environment. This equipment should be installed and operated with a minimum distance of 20cm between the radiator & your body.




















