Geneinno S2 Waterscooter
(FCC ID: 2ANXGS2)
User Manual
V1.0.1 2020.02

Shenzhen Geneinno Technology Co., Ltd
www.geneinno.com
Disclaimer
Please read the following statement carefully before using the Geneinno S2 product. The start use of this product shall be deemed as acceptance of the entire contents of the statements below.
- The company shall not be liable for the after-sale return and replacement of the product for any damage or failure caused by forced disassembly or non-machine operational malfunction, nor the maintenance, parts replacement, and transportation expenses incurred.
- Please use this product strictly following the instructions of the user manual. Any violation of the results of the instruction in injury, disease, or property loss of the user, will not be borne by the company.
- The company will not be responsible for after-sales maintenance of the nonstandard equipment, third-party parts, or structures installed or attached by users to the products. The company will not assume the obligation of a product return or replacement after-sales due to damage or failure of additional parts, and the maintenance, parts replacement, and transportation expenses will not be borne by the company.
- If the user uses the product under the condition of poor physical or mental state, taking drugs or prohibited substance, which causes any personal injury, property loss, or accidents, the company will not assume the corresponding liability and obligation.
- The company shall not be liable for any personal injury, property loss, or accidents resulting from the use of products that are obtained from unauthorized re-selling which have not been officially inspected and maintained.
- The company shall not be liable for personal injury, property loss, or accidents caused by the use of the product in military-controlled areas, sensitive areas, and other unauthorized water environments, or for legal infringement, invasion of others’ privacy, and other legal cases.
- The company shall not be liable for any personal injury, property loss, or accident caused by the use of the products in obvious abnormal conditions (such as critical damage to the body, obvious malfunction or missing parts).
- Due to force majeure events (including natural disasters, fires, floods, typhoons, tsunamis, and other severe weather conditions, or war, riot, strikes, or law, order, action, etc. of government and its authorized organizations), and by the third-party identified product independent cases of bodily injury, property loss, and accidents, the company will not assume the corresponding liability and obligation.
Introduction
Geneinno S2 is a premium, portable water scooter with a dual-engine configuration. The stylish neat design of the laptop size results in a lightweight of only 2.7kg. Geneinno S2
allows you to navigate freely underwater at a speed of 4.32km/h with high-efficiency dual motors. It could be connected via a wireless connection to the smart APP, to share your footage on the mobile phone. With multiple safety protections, Geneinno S2 enables the whole family to freely enjoy relaxing, joyous, and safe water sports and entertainment.
Please wear proper underwater sports equipment, including water clothing, a life jacket, goggles/mask, a breathing tube, scuba, etc. This product cannot be used in a non-water medium.
- Duration:Max 45min
- Depth:Max 100ft
- Speed:Max 2.7mph
- Built-in 97.68Wh Li-ion polymer battery, can be taken on a plane
- 2 gears, LED light indication of speed & battery
- APP control via a wireless connection, remote setting of speed, function, cruise time/distance, social media sharing, etc
- Buoyancy: slight positive
The product is designed for use in seawater. It will have less buoyancy in fresh water, lake or pool areas.
Packing List:
- Geneinno water scooter,model S2
- Charging adaptor
- User manual + Warranty card
- S2 dedicated power bank(optional)
- S2 dedicated car/yacht charging adaptor(optional)
Optional accessories are arranged in the packing box.
User manual:
The contents and pictures of this manual are subject to the actual products and the latest version. If there is any update, please visit our official website download page to get the latest user manual.
Official Website:
http://www.geneinno.com/
![]() | ![]() |
| http://www.geneinno.com:8899/downloads/software/GeneROV_release_signed.apk | https://itunes.apple.com/cn/app/generov/id1273159550?mt=8 |
User tips
Warnings:
| This is NOT a life-saving device. DO NOT use it as a buoyancy aid. | |
| Please follow the age recommendation: this product is for 12-year-old and above; teenagers between 12 and 18 are required to operate under adult surveillance. | |
| Read the User Manual carefully before use. | |
| Use of this product to assist diving activities must be licensed and accompanied. | |
| Crushing / Cutting Hazard. | |
| Take particular care of long hair near the motor when using the product. Never stick body parts, clothing, or other objects in the vicinity of the propeller. | |
| Always wear a life vest or personal floatation device approved by local authorities when using this product. | |
| Do not wear loose or flowing clothing or equipment that could be easily carried away or drawn into the propeller. | |
| Always inspect the nearby area to ensure an open space free of hazards or random moving objects such as boats or swimmers; Diving activities must be equipped with a surface buoy as a warning sign. | |
| Always ensure sufficient charge remains in the battery to return to shore or surface before using this product. | |
| Always ensure proper physical and mental state before using this product; DO NOT take alcohol or drugs prior to and during the use of this product. |
Cautions:
- Please rinse the product with fresh water after use, and turn on self-cleaning mode to prevent crystallization; please place the machine in a dry and cool environment after cleaning.
- DO NOT use the product below the maximum depth of 100ft.
- D not remove the motor cover in water; If the propeller is found intermittent, or a buzz is heard, remove the motor cover and check/clean the propeller and motor at a safe place on shore while the safety lock is locked.
- Do not use this product for rapid rise or dive underwater, which would lead to diving-related diseases.
- Do not leave the product in water when using. Be sure to take the machine out of the water after use.
- When low battery warning, the usage time is short, please flow up or get on shore in time.
- This product can be set to operate as single-hand control. The control difficulty and risks are increased, and it is necessary to be accompanied when in single-hand control.
- The underwater speed of this product is related to the user’s weight and posture in the water. It is suggested to keep the body horizontal as much as possible and put the scooter in front of the body.
- Always keep the product out of direct sunlight, and do not place it under ultra-high/ultra-low temperature; the above conditions would shorten body and battery life, and product performance is affected.
- Please store the product in a dry and cool environment. If not in use, be sure to keep the safety lock locked.
- This product could not be used in other non-liquid media (such as sand, powder, etc.) or special liquid (such as chemical solution, etc.) environments. It can only be used in freshwater/seawater.
- Please charge the battery immediately after use to prevent the battery from life-shortening.
- Please keep the charging interface dry and clean, and make sure there are no other materials attached to the charging interface before charging.
- Be sure to keep the metal contact point on the charging interface free of obvious damage, scratch, or rust.
- If the product is in an obvious abnormal state (such as critical damage, functional failure, missing parts, etc.), please do not continue to use the product, and contact our after-sales service or authorized dealers in time.
- Do not place heavy objects above the product.
- Do not put the product into fire, under ultra-high/ultra-low temperature, in inflammable, explosive, or strong corrosive solvents nor in other dangerous substances.
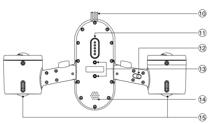
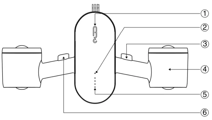
Product Description
Geneinno S2
- LOGO light / speed indicator: white-low; blue-high
- Wireless LED indicator: stayed on when connected/flashing when standby
- Motor button
- Thrusters
- Battery indicator: in normal battery power is white; in low the battery is red and flashing
- Power button

- Underwater motors
- Motor front cover(Please follow the arrow direction to install/remove)
- Propellers

- GoPro mount
- Magnetic charging interface
- Safety lock
- Optional device connection
- Drain holes
- Motor rear cover (do not remove by force)

Adaptor

Getting started
IV.1 Start S2

Single-hand control is invalid under parental mode. Must press both hands to start. When in parental mode, the LOGO light/speed indicator would be staying on.
IV.2 Shift gears manually

How to– Keep pressing the power button (left hand) and press the motor button (right hand) twice to shift gears manually between low and high speed.
The shift gears manually is invalid under parental mode
IV.3 Battery charge

- Ensure the magnetic charging interface and the adapter charging interface are dry and clean, and no foreign materials are attached. Ensure no water among the charging interfaces.
- The LED light on the adaptor is red when charging, Logo light will turn off after 30 seconds of breathing; The light on the adaptor is green when the battery is fully charged, in approximately 1.5-2 hours.
- Please charge in a dry and ventilated environment.
IV.4 S2 device status briefing
S2 device has four statuses: working, standby, charging, and hibernate. Working: the device is in normal work, including motor start, wireless connection, etc, in the following situations:
- Logo light/speed indicator is on: Low – white, High – blue.
- The wireless indicator stays on when connected; it flashes when the device is working but not in a wireless connection.
- Battery indicator is white on normal power, it is red and flashing when on low battery power.
- In two-hand mode (default mode), press the power button and all indicators will turn on. Indicator lights stay on in single-hand mode.
- In parental mode, logo light is purple; return to previous settings after quitting parental mode.
- In the self-cleaning process, the logo light is green, and breathing; returns to normal after self-cleaning ends or exits.
Standby: When the device is activated (press the power button to activate) but not working nor wireless connected, it is in standby status if not charging. Logo light and battery indicators are off, and the wireless indicator flashes.
Charging: When charging the device, logo light will be yellow while breathing. It will go out after the 30s and the battery indicator will not be on.
Hibernate: The device shall hibernate when not in use within 5 minutes or does not enter other status above. When in hibernation, all indicators are off. Pressing power button could wake up and activate the device.
Working and charging are mutual exclusive: when device is working, it could not be charged; when charging, pressing any button would stop charge.
IV.5 S2 Manual reset
S2 is equipped with a manual reset switch, which could be triggered through the magnet on the adapter charging interface. The reset function could reset S2 system and restart the device when unable to start the machine or the device is in abnormal status.

Put the magnet on the charging interface close to the reset switch (located above the wireless indicator) and stays for 3s. After removal of the magnet, the wireless indicator turns up again, then S2 is reset successfully and restarted.
Wireless connection and APP
- Press the power button to activate S2 (Wireless indicator flashes).
- Turn on all wireless settings on your phone, and open Geneinno APP.
- Select S2 device control page from the main interface.
- Click ‘device not connected’ button.

- Wait for device search results display.
- Device name format:‘Geneinno_****’.
- Click the device name to connect.
- After connection success, please click “device connected” button to enter the device control page.
Caution: Please make sure wireless settings are turned on and not occupied by other devices.
- The device control functions include Gear shift: remotely control the speed (must stay wireless connected). Parental mode: lock two-hand control and low gear settings; parental mode requires a password. The default password: 8866 Single-handed/two-handed mode switch. Self-cleaning: automatic cleaning thruster interior after use.
- Information panel: battery, duration time, depth, and temperature; Recorded mileage, total mileage, recorded time, total time, record start/stop, share button.
Caution: press start button to record your trip Social media sharing:
• Could share the recorded time and mileage, and you can choose the pictures you want to share.
• One click to share your fantastic underwater experience to major social platforms, any time, any where.

Wireless connection and APP
Menu bar:
• History records: keep the last ten records. Each record could be edited & shared.
• Firmware: device firmware version, prompt update if not the latest version (synchronous prompt in status bar).
• Device information: the device model and corresponding MAC code.
• Restore factory settings: restore all settings to default.
• Help: instructions for starters.

When disconnected, APP will automatically log out of the device control page.
VI. Maintenance instructions
- Do not leave the product in water when using. Be sure to take the machine out of the water after use.
- Please rinse the product with fresh water after use, and turn on self-cleaning mode to prevent crystallization; place the machine in a dry and cool environment for long-time storage.
- Please do not use corrosive cleaning solvents or sharp brushes to clean the product. Use smooth tools such as cotton cloth to clean the surface.
- Please charge the battery within 24 hours after using the product.
- Re-charge the battery every 6 months when not in use.
- Keep the battery partially discharged (40-60%) and in a cool, dry place when not in use, were out of the reach of children, and away from heat and ignition sources.
- Use the officially specified adaptor only.
- The battery contains safety and protection devices inside, if damaged or removed may cause battery failure or risk of over-heat and explosion.
- Please keep the charging interface dry and clean, and make sure there is no other materials attached to the charging interface; Keep the metal pins of the charging interface free from obvious damage, scratch or rust.
- Do not put the product into fire, under ultra-high/ultra-low temperature, in inflammable, explosive, or strong corrosive solvents nor in other dangerous substances.
- Do not subject the product to strong, continuous beat, shocks or impact.
- Do not place heavy objects above the product; Do not piece the product with sharp objects, nails, or strike with force.
Failure to comply with the above maintenance instructions will reduce the battery life and power, and affect the product performance!
Camera assembly
Mount your motion cameras on S2. Currently supports GoPro HERO [3, 3+, 4, 5, 6, 7, 8], and other motion cameras with the same connector.
Installation:
- Prepare hand turning screw + waterproof cover;
- Put your motion camera in a waterproof cover;
- Attach the connector of the waterproof cover to the S2 GoPro mount, fasten and lock them by hand screws.
Caution: Please purchase motion cameras separately!

S2 support motion camera lens front set to shoot the scene in front, or back set for selfies!
Technical specifications

| Waterscooter S2 | |
| Weight | 5.9 lbs |
| Dimension | 19*10*6 inch |
| Max. Depth | 100ft |
| Temperature | 32~104℉ |
| Battery duration | Low gear-45min; High gear- 20min |
| Safety lock | Safety lock / Remote parental mode |
| Gear speed | Low gear- 2.0 mph; High gear- 2.7 mph |
| External device support | GoPro, lights, balance weight, buoyancy materials, and etc. |
| Power | |
| Total thrust | 22 lbs |
| Total power | Low gear-180W; High gear-350W |
| Battery | |
| Type | Rechargeable Li-ion polymer battery |
| Capacity | 97.68Wh / 4400mAh |
| Voltage | 22.2V |
| Charge time | 1.5h~2h |
After-sale Service
- The company shall not be liable for the wear of the product under normal use; If the product fails in use, please contact our after-sales service as soon as possible, so as not to delay your use and maintenance.
- This product has 1-year tracking service from the date of purchase by the customer.
The company is responsible for product repair and replacement caused by the equipment itself. Critical damage of device due to abnormal usage or self-dissembling by users will not enjoy free maintenance. - If maintenance exceeds the warranty period, a maintenance fee will be charged. (repair fee + component fee + round-trip postage).
- For after-sale service, please visit our official website for instructions:
Address: www.geneinno.com or you could email us directly to our after-sale support: Email: [email protected]
Please obtain the product ID number posted on the bottom of the machine, and provide it to our after-sales support staff.
We welcome your valuable comments on our product quality and after-sale service.
Made In China
Website: www.geneinno.com
![]()
Add: 201-1, Building F3, TCL Science Park, No.1001 Zhongshan Park Road, Xili Street, Nanshan District, Shenzhen, China
FCC Warning
This device complies with part 15 of the FCC Rules. Operation is subject to the following two conditions:
(1) This device may not cause harmful interference, and
(2) this device must accept any interference received, including interference that may cause undesired operation.
Any changes or modifications not expressly approved by the party responsible for compliance could void the user’s authority to operate the equipment.
Note: This equipment has been tested and found to comply with the limits for a Class B digital device, pursuant to part 15 of the FCC Rules. These limits are designed to provide reasonable protection against harmful interference in a residential installation. This equipment generates uses and can radiate radio frequency energy and, if not installed and used in accordance with the instructions, may cause harmful interference to radio communications. However, there is no guarantee that interference will not occur in a particular installation. If this equipment does cause harmful interference to radio or television reception, which can be determined by turning the equipment off and on, the user is encouraged to try to correct the interference by one or more of the following measures:
- Reorient or relocate the receiving antenna.
- Increase the separation between the equipment and receiver.
- Connect the equipment into an outlet on a circuit different from that to which the receiver is connected.
- Consult the dealer or an experienced radio/TV technician for help.
*RF warning for Portable device:
The device has been evaluated to meet general RF exposure requirement. The device can be used in portable exposure conditions without restriction.
© 2018-2020 GENEINNO All Rights Reserved.










• Could share the recorded time and mileage, and you can choose the pictures you want to share.


















