PROJECT SOURCE W-4/W-4-2 Refrigerator Water Filter

INTRODUCTION
Thank you for purchasing this Project Source Refrigerator Water Filter. We’ve created these easy-to-follow instructions to ensure you have a simple installation process. But, if you need more information than what is provided here, please visit Lowes.com, search the item number and refer to the Guides & Documents tab on the product’s page.
If the item is no longer for sale, or if you have any questions or problems, please call our customer service department at 1-866-389-8827, 8 a.m. – 8 p.m., EST, Monday – Sunday. You could also contact us at [email protected] or visit www.lowespartsplus.com.
INSTALLATION OVERVIEW
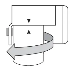
- Locate water filter and remove the existing filter by rotating it counterclockwise.

- Carefully remove the sanitary cap from the top of the new filter.

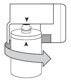
- Align the start arrow on the water filter with the arrow on the refrigerator filter housing.

- Rotate water filter clockwise into refrigerator housing a full 1⁄4 turn. Note: Please ensure the filter is fully installed as it is required to activate the internal water valve. If the filter isn’t properly installed, you may experience a slow flow or a chattering noise. If this occurs, please uninstall and reinstall the filter ensuring the filter is fully installed.

- Run approximately 2.5 gallons of water from the dispenser periodically to clear the system and to receive a good flow. If the water flow is slower than usual, please repeat Steps 3 and 4.
Note: Initial flow rate may be slower than expected. Full flow rate should be restored within 24-36 hours.
- Inspect the filter for any noticeable leaks. If leaks are detected, please repeat Steps 3 and 4.

- To reset the filter monitor light, please refer to your refrigerator owner’s manual for specific instructions.

- Locate the included Water Filter Replacement Calendar and follow the instructions on the label.

SPECIFICATIONS
- Flow Rate: .5 gpm (1.89 lpm)
- Operating Temperature: 33°-100°F (0.6°-38°C)
- Min Operating Pressure: 30 psi (207 kPa)
- Max Operating Pressure: 100 psi (689 kPa)
- Capacity: 6 meses o 1135,62 litros (300 galones)
CARE AND MAINTENANCE
Replace filter every 6 months or 300 gallons, whichever precedes.
TROUBLESHOOTING
| PROBLEM | POSSIBLE CAUSE | CORRECTIVE ACTION |
| Missing O-Ring | Manufacturer Error | Call Customer Service for replacement: 866-389-8827 |
| Leaking | Improper Installation | Remove and reinstall, ensuring the filter is securely installed within the refrigerator housing. |
| Slow Flow/No Flow | Improper Installation/Trapped Air Inside of the Filter | Submerge filter without safety cap in a bowl or sink full of water for 45 minutes to 1 hour, reinstall. |
WARRANTY
This replacement filter cartridge is warranted to be free from defects in material and manufacture for one (1) year from the date of purchase. This warranty does not cover any failures resulting from abuse, misuse, alteration, or damage not caused by the manufacturer or failure to follow proper installation and use instructions. If the product fails to satisfy this limited warranty during the described period, the manufacturer will replace or refund the purchase price of the product. This warranty does not cover additional costs such as labor.
This W-4/W-4-2 is Tested and Certified by NSF International against NSF/ANSI Standard 42 and 53 for the reduction of chlorine taste and odor, Tetrachlorethylene, Endrin, Carbon Tetrachloride, Trichlorobenzene, p-Dichlorobenzene. Refer to performance data sheet for complete list of claims.
This W-4/W-4-2 is Certified by IAPMO R&T against NSF/ANSI Standard 42, 53, 372, 401, P473 and CSA B483.1 for the reduction of Chlorine taste and odor, Lead, Cyst, VOC’s, Mercury, Asbestos, Pharmaceuticals (such as Naproxen, Ibuprofen and Phenytoin), BPA, PFOA/PFOS. Refer to Performance Data Sheet for complete list of claims.
The compounds under NSF/ANSI 401 have been deemed as ‘incidental contaminants.


























