beko B5T68233WPB Dryer

Dear Customer,
Please read this guide prior to use this product!
Thank you for choosing Beko product. We would like you to achieve the optimal efficiency from this high quality product which has been manufactured with state of the art technology. Please make sure you read and understand this guide and supplementary documentation fully before use. Observe all warnings and information herein. Therefore you can protect both yourself and your product against potential damages.
Keep the manual. Include this guide with the unit if you hand it over to someone else.
Symbols and Remarks
The following symbols are used in the user guide:
NOTICE Danger that may cause material damage on the product or surrounding area
Safety Instructions
This section includes the safety instructions necessary to prevent the risk of personal injury or material damage.
- Our company shall not be held responsible for damages that may occur if these instructions are not observed.
- Installation and repair operations shall always be performed by Authorized Service.
- Use original spare parts and accessories only.
- Do not repair or replace any component of the product unless it is clearly specified in the operation manual.
- Do not modify the product.
Intended use
- Product is designed only for household use. It is not intended for commercial use.
- The product is not designed for outdoor use.
- Do not install or operate the product where freezing is a possibility and/or vulnerable to external elements. Water frozen in the pump or the hoses may cause damages
- Product can only be used to dry and ventilate laundry which are washed with water and drying machine safe.
Safety of children, vulnerable persons and pets
- This product may be used by children aged 8 years and older and persons with underdeveloped physical, sensory or mental capabilities or lack of experience and knowledge if they have been given supervision or instruction concerning use of the appliance in a the product safe way and the hazards involved. Children should not tamper with the device. Cleaning and maintenance should not be carried out by children unless they are supervised.
- Children under 3 years old shall be kept away from the product unless supervised.
- Electrical products are dangerous for children and pets. Children and pets shall not play with the product, climb on or get inside the product.
- Keep the product door closed even when not operated. Children or pets could be locked inside the product and suffocate.
- Cleaning and user maintenance operations must not be performed by children unless supervised.
- Keep the packaging materials away from children. Risk of injury and suffocation.
- Keep all additives used with the product away from children.
- Before disposing of the product, cut the power cord and destroy the loading door.
Electrical Safety
- The product must not be plugged in during installation, maintenance, cleaning, repair and transporting operations.
- If the power the cord is damaged, it shall be replaced by authorized service to avoid any risk that may occur.
- Do not tuck the power cord under the product or to the rear of the product. Do not put heavy items on the power cord. Power cord shall not be kinked, pinched and shall not come in contact with any heat source.
- Do not use an extension cord, multi-plug or adaptor to operate your product.
- The product shall not be powered via an external switch such as a timer or shall not be connected to a circuit that is regularly opened and closed with a tool.
- The plug shall be easily accessible. If this is not possible, a mechanism that meets the electrical legislation and that disconnects all terminals from the mains (fuse, switch, main switch, etc.) shall be available on the electrical installation.
- Do not touch the plug with wet hands.
- When unplugging the appliance, don’t hold the power cord, but the plug.
Transporting safety
- Unplug the product prior to transport, empty the water tank and if any, remove the water drain connections.
- This product is heavy, do not handle it by yourself.
- Take required precautions for the product against falling and tipping. Do not crash or drop the product when transporting.
- Do not use the extruding parts of the product (such as the loading door) to move the product.
- Move the product in upright position. If it cannot be moved upright, transport via tilting to the right side when viewed from the front.
Installing safety
- To prepare the product ready for installation, ensure that the electrical installation and water drain is proper by checking the information in the
user manual. If it is not suitable for installation, call a qualified electrician and plumber to arrange the utilities as necessary. These operations shall be undertaken by the customer. - Check for any damage on the product before installing it. Do not have the product installed if it is damaged.
- Do not remove the adjustable stand.
- Place the product on a level and hard surface and balance with the adjustable legs.
- The gap between the product and the floor shall not be reduced via materials such as rugs, pieces of wood and bands. The ventilation holes under the base of the product shall not be clogged with a rug.
- The product shall be installed not to clog the ventilation holes.
- Install the product in an environment free of dust with good ventilation.
- Do not install the product in close proximity to flammable and explosive materials and do not keep flammable and explosive materials near the product when it is in operation.
- The product shall not be installed against a door, sliding door where the product loading door cannot be completely opened, or behind a hinged door where the product hinge is faced against the door’s hinges.
- Install the product where periodic maintenance and cleaning can be done with ease.
- Place the product with its back surface to the wall (for heater models).
- After placing the product, ensure that the back wall does not come in contact with any extrusion (a water tap, electrical outlet etc.).
- Place the product with at least 1 cm space between the product and the furniture edges.
- Follow the flue connection rules specified in the guide (for models with flue).
- The exhaust air shall not be directed to flue which is used to exhaust the smoke of devices that consume gas or other fuels (for models with flue).
- The ventilation hose shall not be connected to a heating stove or a chimney flue (for models with flue).
- Plug the product to a grounded outlet protected with an appropriate fuse in align with the specified type and current rates. Have an expert electrician set grounding equipment. Do not use the product without a grounding conforming with regional/national regulations.
- Plug the product in a grounded socket that conforms with the voltage, current and frequency values specified in the type label.
- Do not plug the product to loose, broken, dirty, greasy sockets or sockets that has come out their seats or sockets with a risk of water contact.
- The new hose sets supplied with the product shall be used. Do not re-use the old hose sets. Do not make attachments to the hoses.
- Place the power cord and hoses not cause a risk of tripping over.
- To use the product on top of a washing machine, a fixing aperture shall be used between two products. Fixing aperture shall be mounted by the authorised service.
- When the product is placed on the washing machine, their combined weight when full could be around 180 kg. Place the products on a sturdy floor that can carry adequate amount of load.
- Washing machine cannot be placed on top of the drying machine.
| Installation Table for Washing Machine and Tumble Dryer | |
| Stacking Kit Type | Depth Size (TD=Tumble Dryer, WM: Washing Machine) |
| Plastic – 54/60cm w or w/o belt | 60cm TD –> WM≥50cm / 54cm TD –> WM≥45cm |
| Plastic – 46cm w or w/o belt | 46cm TD –> WM≥40cm |
| With Shelf – 60cm | 46cm TD –> WM≥40cm |
| With Shelf – 54cm | 54cm TD –> WM≥45cm |
Usage safety
- The maximum weight of dry laundry prior to washing is specified in “Technical Specifications” section.
- Do not place the unwashed items in the drying machine.
- Items that are soiled with materials such as cooking oils, acetone, alcohol, petrol, kerosene, stain removers, turpentine, wax or was removers shall be washed in hot water with more amount of detergent prior to drying with the drying machine.
- If chemicals are utilized for cleaning, the drying machine shall not be used.
- Rubber foam (latex foam), shower bonnets, water resistant textiles, rubber supported materials and clothes, pillows with rubber foam pads shall not be dried in a drying machine.
- The items with hair spray, hair product residue or similar materials shall not be dried in a drying machine.
- Empty the pockets of the clothes and remove items such as matches and lighters.
- If all items cannot be removed rapidly and cannot be placed where heat can dissipate, do not stop the drying machine before drying cycle completed.
- The last part of the drying machine cycle is conducted without heating (cooling cycle) in order to ensure that the items are kept at a temperature that will not harm the items.
- Laundry softeners or similar products shall be used in align with the laundry softener instructions.
- Do not use the drying machine without the fibre filter.
- Do not allow fibre accumulation around the drying machine.
- To prevent back draft of gas in the room from the devices that consume other fuels, including open fire, appropriate ventilation shall be provided (for models with flue).
- Do not operate the product together with heaters such as gas heater and a chimney. It may cause the flue to catch fire. (for models with flue)
- Do not lean or sit on the loading door when it is open, the product may tip over.
- Do not get on the product.
- Do not place a source of flame (candles, cigarettes, etc.) on the product or in the vicinity of it. Do not keep flammable/explosive materials.
- Do not touch the drum as it revolves.
- The back wall of the product will be hot during operation. Do not touch the back side of the product during drying or after the drying process is completed. (For models with heating)
- Do not touch the inner surface of the drum while adding or removing clothes during a continuing program. The drum surface is hot.
- Do not press the buttons with sharp objects such as forks, knives, with your nails etc.
- Do not operate the faulty or damaged product. Unplug the product (or shut down the connected fuse) and call the authorized service.
- Unplug the product when not in use.
- Do not place the dryer in the rain or severely wet areas.
Maintenance and cleaning safety
- Do not wash the product by spraying or pouring water on it. Do not use a pressure cleaner, steam cleaner, hose or pressurised gun to clean the product.
- Do not use sharp or abrasive tools to clean the product.
- Do not use materials such as household cleaning agents, soaps, detergents, gas, gasoline, alcohol, wax, etc. to clean the product.
- The fibre filter shall be regularly cleaned. After each drying cycle, clean the fibre filter and the inner surface of the loading door.
- Clean the fibre accumulation on the fins of the evaporator behind the filter drawer with a vacuum cleaner. You can clean by hand, provided you wear protective gloves. Do not try to clean with bare hands. Evaporator fins may damage your hands. (For products with heat pump)
- Due to fire and explosion hazard, do not use solutions, cleaning materials, steel wool or similar materials and tools to clean sensors.
- Clean the flue. (for models with flue)
- Do not drink the condensed water.
Lighting safety
- Contact an authorized service when you need to replace the LED/bulb using for lighting (for products with lighting).
Environmental instructions
Compliance with the WEEE Regulations and Waste Disposa
This product does not contain the dangerous and prohibited materials indicated in the “Regulation on The Control of Waste Electrical and Electronic Equipment” published by Ministry of Environment and Urbanisation of Republic of Turkey. Complies WEEE Regulations. This product was manufactured from recyclable and reusable high quality parts and materials. Therefore, do not dispose of this product with other domestic wastes at the end of its life cycle. Take it to a collection point for electrical and electronic equipment. You can ask your local administration about these collection points. You can help protect the environment and natural resources by delivering the used products for recycling.

- Also R290 is a flammable refrigerant. Therefore ensure that the system and pipes are not damaged during operation and transportation.
- Keep the product from heat sources, otherwise it may catch fire if damaged.
- Do not dispose of the product by throwing it into fire.
Packaging information
The product’s packaging is made of recyclable materials, in accordance with the National Legislation. Do not dispose the packaging waste with the household waste or other wastes, dispose it to the packaging collection areas specified by local authorities.
Standard conformity and test information / EU declaration of conformity
The development, manufacturing and sales phases of this product is conducted in conformity with the safety rules specified in all related instructions of the European Union.
Your drying machine
Technical specifications
| Height (Min. / Max.) | 84,6 cm / 86,6 cm* |
| Width | 59,8 cm |
| Depth | 60,5 cm |
| Capacity (max.) | 8 kg** |
| Net weight (± %10) | 44 kg |
| Voltage | See type label*** |
| Rated power input | |
| Model code |
- * Min. height: Height with the adjustable stand closed.
- Max. height: Height with the adjustable stand opened at maximum height.
- ** Weight of dry laundry before washing.
- *** Data plate is under the door on the drying machine.
|
| In order to increase the drying machine’s quality, the technical specifications may be changed without prior notice. Figures in this manual are schematic and may not exactly match the product. The values provided with the drying machine or its accompanying documents are laboratory readings in accordance with the respective standards. These values may differ depending on the use and ambient conditions. |
General appearance
- Top panel
- Control panel
- Loading door
- Toe board handle
- Ventilation grids
- Adjustable feet
- Toe board
- Rating plate
- Lint filter
- Water tank drawer
- Power cord
Scope of delivery
*Optional – may not be included, depends on model.
Installation
Read the “Safety Instructions” first!
Before consulting the nearest Authorized Service for installing the drying machine, see the information in the user guide and make sure the electric and water utilities are as required. If not, call an electrician and plumber to arrange the utilities as necessary.
![]() | It is customer’s responsibility to prepare the location the drying machine shall be placed on and also have power and waste water installation prepared. |
|
| Check for any damage on the drying machine before installing it. If drying machine is damaged, do not get it installed. Damaged products cause a risk for your safety. Wait 12 hours prior to operating the drying machine. |
|
NOTICE | The product includes a cooling agent and if the product is operated right after its transported, it may get damaged. After each time the product is moved, it shall be left to rest for 12 hours. |
Right place for installation
- Install the drying machine on a flat and stable surface.
- Dryer machine is heavy. Do not move it by yourself.
- Operate the drying machine in an environment free of dust with good ventilation.
- The gap between the drying machine and the floor shall not be reduced via materials such as rugs, pieces of wood and bands.
- Do not block the ventilation grilles of the drying machine.
- There shall not be doors that can be locked, sliding doors or hinged doors near the installation environment of the drying machine that may block the loading door to be opened.
- Once the drying machine is installed, the connections must stay stable. After placing the drying machine, ensure that the back wall does not come in contact with any extrusion (a water tap, electrical outlet etc.).
- Place the drying machine with at least 1 cm space between the product and the furniture edges.
- Your drying machine is suitable to be operated between +5°C to +35°C. If operated outside this temperature range, your drying machine’s operation may be compromised and get damaged.
- The drying machine shall not be placed with the back side against a wall.
![]() | Do not place the drying machine on its power cord. |
* Ignore following warning if your product’s system does not contain R290.
|
| Dryer contains R290 refrigerant.* R290 is an environment-friendly, but flammable refrigerant.* Ensure that the air inlet of the dryer is open and it is well-ventilated.* Keep potential flame sources away from the dryer.* |
Removing the shipping safety group
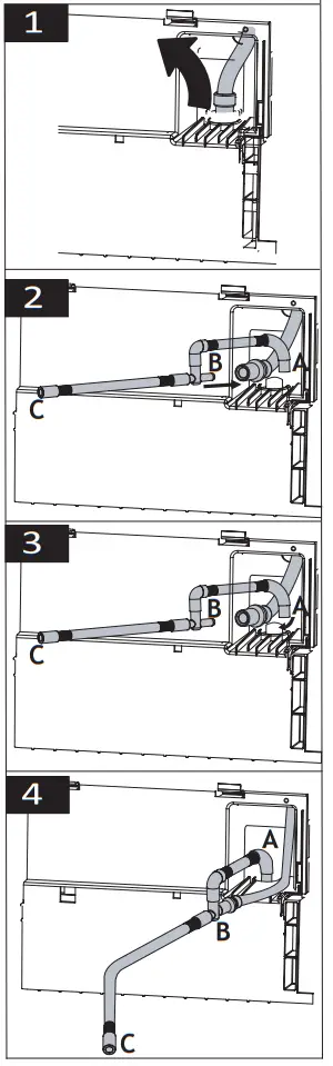
Connection of water drain hose on products with vapour feature
You can directly drain accumulated water through the water drain hose supplied with the product instead of periodically draining the water collected in the water tank
| NOTICE | Follow the diagram below to connect water drain if your drying machine is equipped with vapour spray feature. |

- Pull hose at the behind of the dryerin order to disconnect it from where it is connected. Do not use any tools to remove the hose.
- Install the B end of water drain hose provided with your machine to the end of the hose you have removed from the machine.
- Install the A end of water drain hose provided with your machine to the location you have removed the hose on the drying machine.
- Fix the C end of the water drain hose to the waste water drain or the sink directly.
|
NOTICE | The water discharge hose shall be fixed at maximum 80 cm height. Ensure that the water discharge hose do not get kinked, collapsed or pressed on between the discharge and the drying machine. Hose shall be connected not to be disconnected from its location. Leaked water may cause damage. Do not extend the water drainage hose. Check whether the water runs at an appropriate flow. The drainage line shall not be closed or clogged. |
![]() | If an accessory package is provided with your product, check the detailed instructions. |
Adjusting the stands
Moving the drying machine
- Drain the water in the drying machine completely.
- If the product is connected via direct discharge, remove the hose connections.
|
| The drying machine is recommended to be moved in upright position. Otherwise, tilt it to the right side when viewed from the front and move the drying machine. Wait 12 hours prior to operating the drying machine. |
Warning regarding the noise
As the product is operated, metallic noises may come from the compressor from time to time, it is normal.
When the product is operated, the accumulated water is pumped to the water tank. It is normal to hear pumping sounds from the appliance during this operation.
Replacing the lighting bulb
If your drying machine has drum lighting lamp; Consult the authorized service to replace the bulb/LED used in lighting your drying machine. The bulb in this product is not suitable for home lighting. The intended use of this lamp is to ensure safely loading the laundry to the drying machine. The lamps used in this appliance is resistant to heavy physical conditions such as temperatures over 50°C.
Preparation
Read the “Safety Instructions” first!
Laundry suitable for drying in drying machine
|
NOTICE | Laundry that are not drying machine safe may damage the appliance and the laundry during drying. Follow the instructions on the labels on the laundry to be dried. Only dry the laundry with “drying machine safe” written on their labels. |
Laundry not suitable for drying in drying machine
|
NOTICE | Undergarments with metal supports shall not be dried in drying machine. If these metal supports get loose and ripped from the garment, it may damage the machine. Delicate embroidery textiles, cotton and silk garments, garments manufactured from delicate and valuable textiles, non breathing garments and tulle curtains shall not be dried in drying machine. |
Preparing the laundry to be dried
|
NOTICE | Items such as coins, metal parts, needles, nails, screws, stones etc. may damage the drum group of the product or may cause functional operation issues. Therefore check all laundry that will be loaded to the product. Dry the laundry with metal accessories such as zippers by turning them inside out. Close the zippers, hooks and clasps, button up the covers’ buttons, tie textile belts and apron belts. |
What to do for energy saving
- Use the highest possible wringing option as you wash the laundry. Therefore you can reduce the drying period and reduce energy consumption. Sort the laundry based on their types and thickness. Dry same types of laundry together. For instance kitchen towels and table cloths dry faster than bathroom towels.
- Follow the recommendations in the user manual for program selection.
- During drying do not open the loading door unless necessary. If you are required to open the loading door, do not keep it open for too long.
- Do not add wet laundry as the drying machine operates.
- Clean the Fibre Filter before and after each drying session.
- For condensation models, be sure to clean the condenser at least once a month or after each 30 drying sessions.
- Make sure the filters are clean. Refer to maintenance and cleaning for details.
- For models with flue, follow the flue connection rules specified in the guides and clean the flue.
- During drying session, properly ventilate the environment in which the drying machine is in.
- On models with heat pump, check the condenser at least every six months and clean it if it is dirty.
- If you are using environment friendly filter, you are not required to clean the filter after every cycle. When the environment friendly icon is lit on the screen, change the filter cloth.
Correct load capacity
| NOTICE |
If the laundry in the product exceed maximum load capacity, it may not operate as intended and may cause material damage or damage the product. For each program, follow the maximum load capacity. |
The weights below are provided as examples.
| Laundry | Approx. weight (g)* | Laundry | Approx. weight (g)* |
| Cotton bedding (double size) | 1500 | Cotton dress | 500 |
| Bedding (single size) | 1000 | Dress | 350 |
| Bed sheet (double size) | 500 | Denim | 700 |
| Bed sheet (single size) | 350 | Handkerchief (10 pcs) | 100 |
| Large table cloth | 700 | T-Shirt | 125 |
| Small table cloth | 250 | Blouse | 150 |
| Tea napkin | 100 | Cotton shirt | 300 |
| Bath towel | 700 | Shirt | 200 |
| Hand towel | 350 |
*Weight of dry laundry before washing.
Running the product
Control Panel
- On/Off/Program Selection button.
- Start / Stand-by button.
- End time selection button.
- Steam sellection button.
- Low temperature selection and time program selection button.
- Audible warning and child lock selection button.
- Wrinkle prevention selection button / Drum light button.
- Dryness level selection button.
Symbols
Preparation of drying machine
- Plug the drying machine.
- Open the loading door.
- Place the laundry to the drying machine without jamming them.
- Push and close the loading door.
NOTICE
| NOTICE |
Ensure that no laundry is jammed to the loading door.Do not close the loading door with force. |
- Select the desired program by using On/Off/Program Selection button, the machine will turn on.
|
| Selecting the program with the On/ Off/Program Selection button does not mean that the program started. Press Start / Stand-by button to start the program. |
Program selection and consumption chart
| Table of steam functioned cycles | |||||
|
Programmes |
Programme Description |
Capacity (kg) | Spin speed in washing machine (rpm) | Drying Time (minutes) | Steam Drying Time (Min.) |
|
Ready to Wear* | Is a cycle aimed to reduce the wrinkle level on shirts and t-shirts using a steam function. This cycle usually eliminates the need for ironing for casual shirts after drying. Depending on the texture and thickness of the product to be dried, the percentage of wrinkle reducing may vary. It is recommended to use this cycle combining the same types of fabrics. | 1,5 (6 pieces) | 800 | – | 90 |
| 1 (3 pieces) | 800 | – | 70 | ||
| 0,3 (1 pieces) | 800 | – | 50 | ||
|
Steam Refresh |
Refreshes clothes with a steam function and removes unwanted odours. Use only with dry clothes. | 1,5 (6 pieces) | – | – | 35 |
| 1 (3 pieces) | – | – | 31 | ||
| 0,3 (1 pieces) | – | – | 23 | ||
|
Mix(Daily) | Use this programme to dry non- pigmenting synthetic and cotton laundry items together.Sports and fitness clothes may be dried with this program. |
4 |
1000 |
115 |
120 |
| Duvet | Use to dry cotton and synthetic bedding sets. Provides drying for up to 2 double bedding sets | 3 | 1000 | 135 | 140 |
|
Cottons | You can dry your heat-resistant cotton textiles with this programme. A drying setting suitable for the thickness of the products to be dried and the desired level of dryness should be selected. |
8 |
1000 |
185 |
190 |
| Cottons Eco | It dries single layer, casual cotton textiles in the most economical way. | 8 | 1000 | 179 | 184 |
|
Synthetics | You can dry all your synthetic textiles with this programme. A drying setting suitable for the level of dryness you desire should be selected. |
4 |
800 |
70 |
75 |
| Table of non-steam functioned cycles | |||||
|
Cottons Iron dry | You may dry your cotton laundry to be ironed in this program to have them slightly damp for ease of ironing. (Shirt, T-shirt, tablecloth, etc.) | 8 | 1000 | 135 | – |
| Jeans | You may dry denim pants, skirts, shirts or jackets in this program. | 4 | 1200 | 125 | – |
| Express Super Short | You can use this program to dry your cotton laundry that you have spun at high speeds in your washing machine. | 0,5 | 1200 | 30 | – |
|
Duvet/Downwear | You can dry your feather or fibre filled textile that bears can be dried in drier label as a single piece of laundry. You can dry double duvet, pillow or coats as single piece of laundry. Dry your cloths such as coats and jackets turned inside out. |
0,5 |
800 |
165 |
– |
|
Outdoor/Sports (Goretex) | Use it to dry your clothes made of synthetics, cotton or mixed fabrics or waterproof products such as functional jacket, raincoat etc. Turn them inside out prior to drying. |
2 |
1000 |
135 |
– |
|
Time Programmes | You may select from time programmes between 10 and 160 minutes to achieve the desired drying level at low temperature. In this programme, tumble drier’s operation lasts for the set time independently from the dryness of laundry. |
– |
– |
– |
– |
|
Hygienic Refresh | You can use this programme for your dry clothes and laundry that you want to provide with hygiene without washing them. It provides high hygiene for your dry textiles via heat effect. |
1,5 |
– |
120 |
– |
|
Hygienic Drying | It is the programme that you can dry your washed products you want to provide with extra hygiene (baby clothes, underwear, towels, etc.). It provides high hygiene for your textiles via heat effect. |
5 |
800 |
200 |
– |
| Towel | Drying towels such as kitchen towel, bath towel and hand towel. | 5 | 1000 | 175 | – |
| Energy consumption values | ||||
|
Programmes |
Capacity (kg) | Spin speed in washing machine (rpm) | Approximate amount of remaining humidity |
Energy consumption value kWh |
| Cottons cupboard dry** | 8 | 1000 | 60% | 1,98 |
| Cottons Iron dry | 8 | 1000 | 60% | 1,55 |
| Synthetics cupboard dry | 4 | 800 | 40% | 0,70 |
![]()
| “Cottons Eco programme” used at full and partial load is the standard drying programme to which the information in the label and the fiche relates, that this programme is suitable for drying normal wet Cottons laundry and that it is the most efficient programme in terms of energy consumption for Cottons. | |||
![]() | “If you regularly dry the 8 Kg maximum load of Cottons we suggest to connect the drain hose to prevent the dryer stopping mid-cycle in order to empty the tank” (see Section “Connection to the drain”) | |||
| *The ability of Ready to Wear cycle to bring 100% cotton, 100% polyester, 100% viscose and %56 cotton – 44% polyester blend shirts in a wearable state (wrinkle release effect) was approved by the Independent Institute of Textile Testing in Europe. Collar, shirt cuffs or sleeves may be ironed if desired. | ||||
** : Energy Label standard program EN 61121The values in the table are determined according to the EN 61121 standard. Consumption values may vary from the valued in the chart depending on laundry type, wringing speed, ambient conditions and voltage levels.
Allergy UK is the trademark of the British Allergy Foundation. The Seal of Approval has been created to guide people requesting an advice that the product significantly reduces the amount of the allergens in an environment where allergic people are present or the product restricts/reduces/eliminates the allergens. The purpose is to provide evidence that the products have been scientifically tested or analysed to yield measurable results.
Auxiliary functions
Dryness level
Dryness level button is used for adjusting to desired dryness. Program time may change depending on the selection.
You can activate this function only prior to start of program.
Wrinkle prevention
You can turn on and off the wrinkle prevention function by pressing the wrinkle prevention selection button. If you will not take the laundry out immediately after the program has completed, you may use Wrinkle prevention function to prevent wrinkling of your laundry.
Audible warning
Drying machine makes an audible warning when the program is completed. Press the “Audible Warning” button if you do not want audible warning. When you press the audible warning button, the light goes off and it does not sound when the program is completed.
![]() | You can select this function before the program starts or after the program starts. |
Low temperature
You can activate this function only prior to start of a program. You can activate this function
if you want to dry your laundry at a lower temperature. The program duration will be longer after it becomes activated.
End time
You can delay the end time of the program up to 24 hours with end time function.
- Open the loading door and place the laundry.
- Select the drying program.
- Press the End Time selection button and set the delay time you wish. End time LED turns on. (When pressed and hold the button, End Time proceeds non-stop).
- Press the Start / Stand-by button. End Time countdown begins. The “:” sign in the middle of displayed delay time flashes.
![]()
| You can add or remove laundry within end time. Displayed time is the sum of normal drying time and end time. End Time LED turns off at the end of countdown, the drying starts and the drying LED turns on. |
Changing the end time
If you want to change the duration during the countdown:
Pause the program and Turn the On/Off/Program Selection button and cancel the program. Select the desired program and repeat the End Time selection.
Cancelling the end time function
If you want to cancel the end time countdown and start the program immediately:
Pause the program and Turn the On/Off/Program Selection button and cancel the program. Select the desired program and press the “Start/Pause” button.
Drum Light
You can turn on and off the drum light by pressing this button. The light turns on when the button is pressed and turns off after certain time.
Warning indicators
![]() | Warning indicators may vary depending on the model of your drying machine. |
Filter cleaning
When the program is completed, the warning indicator for filter cleaning turns on.
Water tank
If the water tank fills up while the program continues, the warning indicator starts flashing and the machine goes into stand-by. In this case, empty the water tank and start the program by pressing the Start / Stand-by button. Warning indicator turns off and program resumes.
Cleaning of filter drawer/ heat exchanger
Warning symbol flashes periodically to remind that filter drawer must be cleaned.
Starting the program
Press the Start/Stand-by button to start the program.
Start/Stand-by and Drying indicators turn on to show that program started.
Child Lock
The drying machine has a child lock which prevents the program flow from being interrupted when the buttons are pressed during a program. When the Child Lock is activated, all buttons on the panel except the On/Off/Program Selection button are deactivated.
Press the Audible Warning button for 3 seconds in order to activate the child lock. The child lock has to be deactivated to be able to start a new program after the current program is finished or to be able to interfere with the program. To deactivate the child lock, keep the same buttons pressed for 3 seconds.
![]() | When the child lock is activated, the child lock warning indicator on the screen turns on. |
When the child lock is active:
The drying machine runs, or in stand-by state the indicator symbols will not change upon changing the position of the program selection button.
|
| When the drying machine is operated and the child lock is active, if the program selection button is turned, a double beeping noise will be heard. If the child lock is deactivated before the program selection button is turned to its original place, the program will be terminated since the program selection button is displaced. |
Changing the program after it is started
You can change the program you selected to dry your laundry with a different program after the drying machine starts running.
- For example, Pause the program and turn the On/Off/Program Selection button to select the Extra Dry program in order to select the Extra Dry program instead of Ironing Dryness.
- Press the Start/Stand-by button to start the program.
Adding and removing clothes during stand-by
If you want to add or remove clothes to/from the drying machine after the drying program starts:
- Press the Start/Stand-by button to put the drying machine in Stand-by state. The drying operation stops.
- Open the loading door while in Stand-by state, and close the door after you remove or add laundry.
- Press the Start/Stand-by button to start the program.
|
| Adding laundry after the drying operation starts may cause the dried laundry inside the drying machine to mix with wet laundry and leave the laundry damp at the end of operation. Adding or removing laundry during drying may be repeated as many times as you wish. But this operation continuously interrupts the drying operation, and thus increases program duration and energy consumption. So, it is recommended to add laundry before the program starts. If a new program is selected by turning the program selection button while the drying machine is in stand-by, the running program terminates. |
|
| Do not touch the inner surface of the drum while adding or removing clothes during a continuing program. The drum surface is hot. |
Cancelling the program
If you want to cancel the program and terminate the drying operation for any reason after the drying machine starts running, Pause the program and turn the On/Off/Program Selection button; the program terminates.
![]() | The inside of the drying machine shall be extremely hot when you cancel the program during machine operation, so run the refreshing program to allow it to cool down. |
End of program
When the program ends, the LED’s of End/Wrinkle Prevention and Fibre Filter Cleaning Warning on the program follow-up indicator turn on. Loading door can be opened and drying machine is ready for another operation. Turn the On/Off/Program Selection button to On/Off position in order to turn off the drying machine.
|
| If the Wrinkle Prevention mode is active and the laundry is not removed after the program is completed, the wrinkle prevention function activates for 2 hours to prevent the laundry inside the machine to get wrinkled. The program tumbles the laundry with 10-minute intervals to prevent them from wrinkling. |
Odour feature
If your drying machine has odour feature, read the ProScent manual to use this feature.
General Description of Steam Programs Steam cycles
You may use the steam function in cycles that are marked with a blue line in your machine panel. It is necessary to to use the dryer grouping your clothes depending on their types and thicknesses when you use a cycle with the steam function active. Do not dry wool, leather, or clothes that contain metal parts in this cycle. Extra noise may be generated during steam generation in steam cycles. Depending on the type, amount of laundry and the selected cycle, the result of wrinkle release and odour removal processes may differ. Upon completion of steam cycles, laundry should be immediately extracted from the machine and hung on a hanger.
Getting the machine ready
Steam tank must be filled before the initial use of the steam functioned cycles. Therefore, when using the machine for the first time, it is required to dry laundry using a steam-functioned cycle or a cycle with the steam function inactive.
How to activate the steam cycle:
When you turn on the machine and the rotate the cycle navigator to the ‘Ready to Wear’ or ‘Steam Refresh’ cycles, the indicator shown on the image below will turn on.
This symbol indicates that you can run the drying cycle with a maximum load of 1.5 kg (6 pieces). To be able to dry 1 piece or 3 pieces of laundry, you need to tap the ‘Steam’ option on the screen to make the required adjustment in loading level settings.
Once you have made the required adjustments, you may start the cycle by pressing the Start/Hold button.
You will need to tap on the ‘Steam’ option on the screen to be able to activate the steam function in Blend, Jeans, Cotton, Economic Cotton, and Synthetic cycles. When you tap this button, steam function will be activated, the symbol shown below will be displayed and the cycle duration will change.
You may start the cycle by pressing the Start/Hold button when you see the symbol displayed and the steam function is activated.
If the steam tank is empty, the icon shown below will blink. It is required to dry laundry in a cycle with the steam function inactive to fill the tank.
Maintenance and cleaning
![]() | Read the “Safety Instructions” first! |
Lint filters (internal and external filters) / Cleaning of the Interior Surface of the Loading Door
The hair and fibres that are separated from the laundry during drying process is collected by the Lint filter.
![]() | After each drying cycle, clean the lint filter and the inner surface of the loading door. |
| NOTICE | Your drying machine has 2 lint filters with one placed inside the other. Do not operate the product without the lint filters. |
To clean the lint filter:
- Open the loading door.
- Hold the first part (inner filter) of the two part lint filter and remove it by pulling it upwards.

- Remove the second part (outer filter) by pulling it upwards.
Ensure that hair, fibre and cotton balls do not fall into the slot where the filters are installed. - Open both of the lint filters (outer and inner) and remove the fibres with your hands or with the brush on the air deflector. You can clean the hair in the filters with a vacuum cleaner.

- Clean both filters under water running in reverse direction of fibre accumulation or with a soft brush. Dry the filter before placing it back.

- Insert the lint filters on one another and place it back in its place
- Clean the inner surface of the loading door and the gasket with a soft damp cloth or the brush on the air deflector.

Cleaning the sensor
The drying machine has humidity sensors that detect whether the laundry is dry.
To clean the sensors:
- Open the drying machine loading door.
- If the machine is hot due to drying operation, wait until it cools.
- Clean the metal surfaces of the sensor with a soft cloth dampened with vinegar and then dry.
Clean the metal surfaces of the sensor 4 times a year.
Do not use metal tools to clean the sensors’ metal surfaces.
Due to fire and explosion hazard, do not use solutions, cleaning materials or similar tools to clean sensors.
Emptying the water tank
During drying, the moisture is removed from the laundry and condensed, then the water is accumulated in the water tank. Empty the water tank after each drying session.
![]() | Condensed water is not potable water! Do not remove the water tank as a program is running! |
If you do not empty the water tank, during the next drying sessions the machine will stop operating due to the water tank being full and a Water Tank warning icon will blink. In this case empty the water tank and to continue drying operation, press the Start / Stand-by button. To drain the water tank:
Pull the water tank out from its drawer carefully.
Drain the water in the tank.
If fibre is accumulated in the funnel on the water tank, remove it under running water. Place back the water tank.
If direct discharge option is used, water tank is not required to be drained.
Cleaning the condenser
The hair and the fibre that are not collected by the lint filter accumulates on the metal surface of the condenser behind the air deflector. These fibres shall be cleaned regularly.
If the condenser cleaning icon blinks, check the metal surface. If there is any fibre, clean it. It must be checked at least every 6 months.
|
| The cleaning brush is inside the documentation bag. Get your brush from the documentation bag and insert it to its place on the air deflector to store it. |


|
| You can clean by hand, provided you wear protective gloves. Do not try to clean with bare hands. The condenser fins may damage your hands. Cleaning from left to right may damage the condenser fins. This may lead to drying issues. |

![]() | When the air deflector cover is removed, it is normal to have water at the plastic section in front of the condenser. |

| NOTICE | Do not use abrasive materials or steel wool to clean the drum. |
Troubleshooting
| Drying operation takes too long. |
| Fibre filter (interior and exterior filter) pores may be clogged. >>> Wash the fibre filters with warm water and dry. Condenser front side may be clogged. >>> Clean the front side of the condenser. The ventilation grills in front of the machine may be closed. >>> Remove any object in front of the ventilation grills that blocks air. Ventilation may be inadequate because the are the machine is installed in is too small. >>> Open the door or windows to prevent the room temperature from rising very high. If there is a humidity sensor. A lime layer may have accumulated on the humidity sensor. >>> Clean the humidity sensor. Excessive amount of laundry might be loaded. >>> Do not load the drying machine excessively. Laundry might not have been wrung adequately. >>> Perform a higher speed wringing on the washing machine. |
| Clothes come out damp after drying. |
| A program not suitable for the laundry type may have been used.>>> Check the maintenance labels on the clothes and select a program suitable for the clothes’ type or use time programs as extra. Fibre filter (interior and exterior filter) pores may be clogged. >>> Wash the filters with warm water and dry. Condenser front side may be clogged. >>> Clean the front side of the condenser. Excessive amount of laundry might be loaded. >>> Do not load the drying machine excessively. Laundry might not have been wrung adequately. >>> Perform a higher speed wringing on the washing machine. |
| Drying machine does not turn on or program cannot be started. Drying machine does not run after it is configured. |
| Power plug might be unplugged. >>> Make sure the power cord is plugged in. Loading door might be open. >>> Ensure that the loading door is properly closed. A program might not be set or Start / Pause button might not be pressed. >>> Check that the program is set and it is not in Pause position.. Child lock may be activated. >>> Turn off the child lock. |
| Program terminated prematurely for no reason. |
| Loading door might be closed completely. >>> Ensure that the loading door is properly closed. There might be a power outage. >>> Press the Start / Pause / Cancel button to start the program. Water tank may be full. >>> Empty the water tank. |
| Clothes have shrunk, hardened or spoiled. |
| A program not suitable with the laundry type might have been used. >>> Check the maintenance labels on the clothes and select a program suitable for the clothes. |
| Water drips from the loading door. |
| Fibres might have gathered on the inner sides of the loading door and the loading door gasket. >>> Clean the inner surfaces of the loading door and the loading door gasket surfaces. |
| Loading door opens by itself. |
| Loading door might be closed completely. >>> Push the loading door until the closing sound is heard. |
| Water tank warning symbol is on/flashing. |
| Water tank may be full. >>> Empty the water tank. Water discharge hose might have collapsed. >>> If the product is connected directly to the water drain check the water discharge hose. |
| The lighting inside the drying machine does not turn on. (In models with lamp) |
| The drying machine might not have been turned on using On/Off button. >>> Check that the drying machine is turned on. Lamp might be malfunctioning. >>> Contact Authorized Service to replace the lamp. |
| Wrinkle prevention icon or light is lit. |
| Anti-Crease mode that prevents the laundry in the drier to crease may be activated. >>> Turn the drier off and remove the laundry. |
| Fibre filter cleaning icon is lit. |
| Fibre filter (interior and exterior filter) may be unclean. >>> Wash the filters with warm water and dry.. A layer may be formed on the fibre filter pores that leads to clogging. >>> Wash the filters with warm water and dry. A layer that may cause clogging of the pores of the fibre filters (internal and external filters) may have occurred.<<Wash and dry the filters with lukewarm water>> Fibre filters may not be inserted. >>> Insert the interior and exterior filters to their places. Environmentally-friendly filter cloth may not be installed on the plastic part and the front of the condenser may have clogged.>>>Install the environmentally-friendly filter to the plastic part and place it on the filter housing. Environmentally-friendly filter may have not been replaced although the warning symbol is illuminated. “Replace your filter.” |
| An audible warning is heard from the machine |
| Fibre filters may not be inserted. >>> Insert the interior and exterior filters to their places. Filters of the machine may not have been installed.>>> Install the fibre filters (internal and external) or the environmentally-friendly filter to their housing. |
| Condenser warning icon is flashing. |
| Condenser front side may be clogged with fibres. >>> Clean the front side of the condenser. Fibre filters may not be inserted. >>> Insert the interior and exterior filters to their places. |
| The lighting inside the drying machine turns on. (In models with lamp) |
| If the drying machine is plugged to the power outlet, the On/Off button is pressed and the door is open; the light turns on. >>> Unplug the drying machine or bring the On/Off button to Off position. |
| Wifi icon flashes continuously. (for models featuringHomeWhiz Function) |
| >>> The product may not be connected to the wireless network. Follow the instructions to connect to the network. The device which the product utilize to connect to network may be faulty. Check it.The product may not be connecting to the network due to proximity. |
| If you see the “F L t” message on the screen, please follow the steps below. |
| Filters may be dirty. Clean internal and external filters or replace the eco-friendly filter. If you use double filter, as an internal and external filter, on the cover area, ensure that both filters are installed. If you use the eco-friendly filter feature, ensure that the filter cloth is installed to the plastic part. Install the filter cloth to the plastic part if it is not installed. The are in front of the condenser may be dirty. Open and inspect the toe board area and ensure that it is clean. Refer to the Maintenance and Cleaning section. |
![]() | If the problem persists after following the instructions in this section, contact your vendor or an Authorized Service. Never try to repair your product yourself. |
![]() | If you experience any issue with your device, you can request a replacement by consulting to the nearest authorised service with the device model number. |
| PRODUCT FICHE | ||
| Complying Commission Delegated Regulation (EU) No 392/2012 | ||
| Supplier name or trademark | BEKO | |
| Model name | 7188237210 / B5T68233WPB 7188303010 / B5T68233WBPB | |
| Rated capacity (kg) | 8.0 | |
| Type of Tumble Dryer | Air Vented | – |
| Condenser | ||
| Energy efficiency class (1) | A++ | |
| Annual Energy Consumption (kWh) (2) | 236,0 | |
| Type of Control | Automatic | |
| Non-automatic | – | |
| Energy consumption of the standard cotton programme at full load (kWh) | 1,98 | |
| Energy consumption of the standard cotton programme at partial load (kWh) | 1,05 | |
| Power consumption of the off-mode for the standart cotton programme at full load, PO (W) | 0,47 | |
| Power consumption of the left-on mode for the standart cotton programme at full load, PL (W) | 1,00 | |
| The duration of the left on mode (min) | 30 | |
| Standard cotton programme (3) | ||
| Programme time of the standard cotton programme at full load, Tdry (min) | 179 | |
| Programme time of the standard cotton programme at partial load, Tdry1/2 (min) | 110 | |
| Weighted programme time of the standard cotton programme at full and partial load (T t) | 140 | |
| Condensation efficiency class (4) | B | |
| Average condensation efficiency of the standard cotton programme at full load, Cdry | 87% | |
| Average condensation efficiency of the standard cotton programme at partial load, Cdry1/2 | 87% | |
| Weighted condensation efficiency of the standard cotton programme at full load and partial load, Ct | 87% | |
| Sound power level for the standard cotton programme at full load (5) | 64 | |
| Built-in | – | |
- Scale from A+++ (most efficient) to D (least efficient)
- Energy consumption based on 160 drying cycles of the standard cotton programme at full and partial load, and the consumption of the low-power modes. Actual energy consumption per cycle will depend on how the appliance is used.
- Cotton cupboard dry programme” used at full and partial load is the standard drying programme to which the information in the label and the fiche relates, that this programme is suitable for drying normal wet cotton laundry and that it is the most efficient programme in terms of energy consumption for cotton
- Scale from G (lest efficient) to A (most efficient)
- Weighted average value — L WA expressed in dB(A) re 1 pW





If the laundry in the product exceed maximum load capacity, it may not operate as intended and may cause material damage or damage the product. For each program, follow the maximum load capacity.
Ensure that no laundry is jammed to the loading door.


Ensure that hair, fibre and cotton balls do not fall into the slot where the filters are installed.


















