

Edelstahl Schnellkochtopf
Instruction manual
Safety information
Please read this manual before using the device for the first time and keep the manual.
Intended use
This appliance is intended to be used exclusively for the preparation of food.
Explanation of symbols
This symbol warns of hazards that can damage the appliance or cause injury.
This symbol indicates a possible risk of burns.
Always be especially careful with this appliance and allow it to cool completely before putting it away.
Important safety instructions
Move the steam pressure cooker very carefully when it is under pressure. Do not touch the hot surfaces, rather use the handles and knobs. Use hand protection if necessary.
In this pot, food is cooked under pressure. You can sustain burns through incorrect use of the steam pressure cooker.
Make sure that the steam pressure cooker is properly closed before you place it on the stove. You can find information about this in the user manual.
If you have cooked meat with skin (e.g. ox tongue) that can swell under pressure, do not puncture the meat as long as the skin is bloated. You could sustain burns.
- Read all instructions.
- Never use the steam pressure cooker near children.
- Do not place the steam pressure cooker in a hot oven.
- Use the steam pressure cooker only for the purpose for which it is intended.
- Never open the steam pressure cooker by force. Before opening, make sure that the internal pressure has been completely released. You can find information about this in the user manual.
- Never heat the steam pressure cooker without first filling it with water. Without water, the appliance will be severely damaged.
- Never fill the steam pressure cooker above ⅔ of its nominal capacity. If you are cooking foods such as rice or dried vegetables that swell during the cooking process, fill the steam pressure cooker up to half of its nominal capacity.
- Use only those heat sources that are approved in the user manual.
- When you prepare mushy foods, gently shake the steam pressure cooker to prevent the food from splashing out before you open the lid.
- Make sure the valves are not clogged before each use. You can find information about this in the user manual.
- Do not use the steam pressure cooker to fry or brown food under pressure with oil.
- Do not make adjustments to the safety systems except for the maintenance listed in the user manual.
- Use only original replacement parts for the model in question. In particular, use the pot and lid from the same manufacturer, and make sure that they are
compatible. - Save these instructions.
Safety instructions
This product complies with the European standard EN12778:2002/A1:2005. - After unpacking, check the pressure cooker to ensure it’s in perfect condition and has no damage that could affect its functional safety. If there are defects, do not operate it, and contact our customer service.
- Improper repairs and improper operation may lead to hazards for the user, in particular scalding, and result in the exclusion of the warranty. If individual parts are amaged, they must be replaced by the manufacturer, an authorized specialist company, or a similarly qualified person.
- The pressure cooker is only suitable for heating food. Do not fill it with any other substances.
- Children under the age of 12 should be kept away from the appliance or kept under constant supervision.
- Children aged 12 and above or persons with reduced physical, sensory, or mental abilities or who lack experience and/ or knowledge should only use the pressure cooker if
it is in its intended, normal operating position, and if they are supervised or have been instructed in the safe use of the appliance and have understood the hazards involved. Children aged 12 and above should not clean or service the pressure cooker. The pressure cooker is not a toy. Children should be supervised to ensure that they do not play with the pressure cooker. - The pressure cooker is intended exclusively for household use.
- Do not fill above the maximum filling level. Do not fill below the minimum filling level.
- Only use the pressure cooker after proper assembly.
- The pressure cooker should only be used with original accessories.
- Do not keep salt, soy sauce, sugar, vinegar or water in the pot for a long time. Clean and dry the pot and any accessories carefully after each use.
- Never heat the pot without any contents.
- Never open the pot by force.
Special safety instructions for use as a pressure cooker with a pressure lid
Attention: Do not open the pot until the pressure in the pot has been completely released.
If the silicone ring is pushed through the safety window, or steam flows out of the safety valve, immediately turn off the power or gas supply.
Never leave the pressure cooker unattended when it is under pressure or when pressure is being built up or released.
Attention: Be very careful when moving the pressure cooker while the pot is under pressure. Do not touch the metal surfaces, and move the pot only with the help of the handles. Use pot holders or similar to move and operate the pot safely. Make sure that the pot is moved and set down gently, carried horizontally and does not get bumped.
- Use the pressure cooker only on stationary stoves. Do not use mobile stovetops.
- Use the pressure cooker only on stove tops with diameters that do not exceed the diameter of the bottom of the pot. When used on a gas stove, note that the flames
must not reach the side of the pot. - Before each use, make sure that none of the valves are sticky or blocked, and that all valves can move freely. Keep the lid, valves, and silicone ring in a clean, greasefree environment.
- Make sure the silicone ring is properly seated in the pot lid.
- Make sure the pressure lid is properly and well closed before you start cooking.
- Attention: Never close and/or weigh down the valves from the outside.
- Do not use the pressure lid in the oven.
- Position the pot so that the safety valve points away from the user and also from frequently used walkways.
- Do not cook foaming, swelling or similar foods in pressure cooking mode to prevent the valves from getting sticky. These include jam and oatmeal.
- Shake the pot gently before each opening to minimize the risk of scalding due to steam bubbles.
- Keep your hands, head and body as far away from the escaping steam as possible.
Maximum filling quantities for pressure cooking mode
Note the maximum filling quantities for pressure cooking mode.
Less than ⅔ for foods that do not become enlarged or swell, such as meat, vegetables, etc.
Less than ½ for foods that do become enlarged and swelling, such as rice, lentils, beans, etc.
Before first use
- Remove all transport safety and packaging parts and keep them away from children – the danger of suffocation!
- The pressure cooker should be cleaned before first use and after prolonged periods of non use. When doing so, follow our instructions on cleaning and maintenance.
- Make sure that all valves can move freely and are not sticky or blocked. Make sure the silicone ring is intact and has no fractures, cracks or holes.
- Be sure to read the safety and operating instructions carefully and contact customer service if you have any questions.
- Clean the pot the first time by halffilling it with water, closing it with the pressure lid and cooking at level 1 for 30 minutes. Drain the water and dry the pot.
Technical Data
Dimensions (W/D/H):
44.5 x 24.5 x 16.5 cm (944169), 44.5 x 24.5 x 21 cm (944151)
Weight:
approx. 2.7 kg (944169),
approx. 2.9 kg (944151)
Diameter: 22 cm
Capacity: 4 l (944169); 6 l (944151)
Pressure level: 60 kPa (level 1), 100 kPa (level 2)
Stove types: electric, induction, gas under 1.5 kW
Materials: stainless steel, glass, silicone, plastic
Features: stainless steel pressure cooker Accessories: glass lid with steam outlet, steamer
Changes and errors in features, technology, colours, and design are reserved and subject to change without notice.
Using the pressure cooker safely
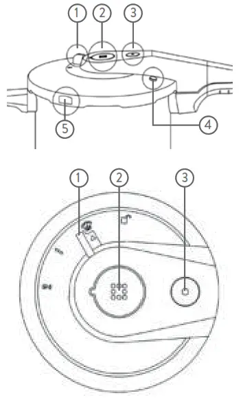
Product description 
| 1. Pressure lid | 7. Silicone ring |
| 2. Regulator | 8. Lower handle |
| 3. Pressure valve | 9. Pot |
| 4. Upper handle | 10. Side handle |
| 5. Safety valve | 11. Safety window |
| 6. Pressure indicator and closing valve | |
The pressure lid and valves are explained simply
To make you feel safe when using pressure cooking mode, we have integrated several safety mechanisms into the pressure lid.
This ensures that the pot builds up pressure safely, keeps the pressure at a safe level and can safely release the pressure. 
1. Regulator
You set the different modes that you operate the pressure cooker in with the regulator.
a. Set the regulator to the lock symbol
to open the lid or replace the lid properly.
b. If necessary, set the regulator to level 1 until the steam subsides and then to the steam symbol
to let the steam escape. Don’t be alarmed the steam escapes with a loud hiss.
c. Set the regulator to level 1 to close the lid and cook at the low level. Note that steam can already start escaping when you shift down from level 2 to level 1.
d. Set the regulator to level 2 to cook at the higher level.
2. Pressure valve
Steam normally escapes through this valve to release the pressure inside the pot or when the pressure inside exceeds the safe level.
3. Pressure indicator and closing valve
When pressure is built up, a small yellow pin emerges from the lid, the pressure indicator. It shows you that and how much pressure is built up. If one ring is visible, you are cooking at level 1 with 60 kPa. If 2 rings are visible, you are cooking at the hotter level 2 with 100 kPa. If the indicator continues to increase, the heat supply is too strong, and you need to regulate the temperature, or one of the valves is blocked.
As soon as the pressure rises to 4 kPa, the closing valve engages. Now you can’t open the pot lid without first setting the regulator to the steam symbol and releasing steam.

4. Safety valve
When the pressure valve is clogged, sticky or blocked, the steam escapes through the safety valve.
5. Safety window
If the pressure and safety valve are clogged, sticky or blocked, the pressure will push the silicone ring through this opening so that steam can escape here.
Putting on the pressure lid
- Make sure that all valves are clean and can move freely and that the safety window is not blocked. Insert the silicone ring.
- Put on the lid so that the symbol on the lid are above the symbol on the pot .
You close the lid in a clockwise motion so that the upper and lower handles form one unit.
- Close the lid over the regulator and set the level needed.
Cooking in pressure cooking mode
- If required according to the recipe, brown meat, onions and similar ingredients in the open pot without a lid. Put the rest of the ingredients and liquids in the pot; secure the lid. Set the desired level.
- Heat the pot at the highest level to quickly build up pressure. Keep an eye on the pressure indicator. It is normal for some steam to escape initially. As soon as 4 kPa are reached, and the closing valve engages, no more steam should escape.
- Once the pressure indicator reaches the desired level, you should turn down the heat. Note whether the pressure indicator remains at the desired level or whether it drops and adjusts the heat if necessary.
- When the time is up, turn off the stove.
- Depending on the food prepared, there are 3 ways of releasing the pressure inside the pot.
a. For jacket potatoes and foods that swell or expand (e.g. legumes, grains):Let the pot cool down on its own until the pressure indicator has completely disappeared inside the lid.
b. For stews, vegetables, meat and fish dishes, and dishes with short cooking times:
Move the regulator to the steam symbol. Warning: The valve immediately starts emitting steam vertically upwards with a loud hissing sound. Keep all body parts away from
the steam valve. Wait until no more steam escapes, and the pressure indicator has completely disappeared inside the lid.
c. For soups, rice, pasta, puddings and cakes:
Cool the pot faster by carefully moving it into the sink and running cold water over the lid with the tap until the pressure indicator has completely disappeared inside the lid.
Make sure that no water flows directly over or into the valves. - Shake the pot gently before each opening to minimize the risk of scalding due to steam bubbles.
- Turn the controller down in stages (Level 2 then Level 1, then ).
Warning: The valve can still emit steam. - Turn the regulator to the lock symbol and carefully remove the lid by sliding the upper handle counterclockwise away from the lower handle. The pot cannot be opened until the pressure inside has dropped completely.
Warning: If liquid sputters from the steam valve when steam is vented, turn the level back up, wait 58 minutes and try to release the steam again. Alternatively, you can cool the pot using Method 5c. Steam cooking in pressure cooking mode
For example, cook vegetables, fish and poultry with the steamer.
- Prepare the ingredients and place them in the steamer.
- Insert the steamer in the pot.
- Fill the pot with water up to just below the steamer. The ingredients should not come into direct contact with water. Note that the minimum filling quantity does not apply here.
- Use the pressure cooker as described in the “Cooking in pressure cooking mode” section.
Basic cooking tips
- The cooking time begins as soon as the recommended cooking level is reached (pressure indicator).
- Note that dishes that need to be stirred frequently are not suitable for the pressure cooker.
- It’s preferable to choose shorter cooking times.
- Level 1 (cooking temperature of 110 °C) is generally suitable for vegetables, fruit and fish.
- Level 2 (cooking temperature of 119 °C) is generally suitable for beef, pork, lamb, game, soups and stews, legumes and cereals.
Cleaning and care
The pressure cooker should be cleaned and dried as follows after each use. Insufficient or improper care of the pressure cooker can impair its functionality and safety.
The pot and pressure lid should not be cleaned in the dishwasher. The glass lid and steamer can be cleaned in the dishwasher.
- Remove any cooking residues and leftover food. Do not use steel wool or a knife, to avoid scratching the pot. Note that using cooking utensils can result in light scratches that are considered normal signs of use.
- Rinse the pot and lid with clean water and dry them both well.
- Do not store food in the pot.
Cleaning the valves and the silicone ring
Cleaning the silicone ring
- Remove the silicone ring after each use and clean it thoroughly by hand with a mild detergent.
- Dry off the silicone ring and allow it to air dry.
- Put the silicone ring back into the lid and store the lid upside down on the pot so that the silicone ring is not crushed.
- Keep the pressure cooker and its accessories in a cool, wellventilated place.
Note that the silicone ring can become discolored. This has no effect on its functionality, and therefore it does not need to be replaced. Depending on the frequency of use, replace the silicone ring every 12 years, unless it is obviously damaged. If it has cracks, fractures or holes, replace it immediately. Use only original parts.
Cleaning the valves
- Remove the pressure valve.

- Clean leftover food and debris from the valves.
- If necessary, use a needle to remove residue from the steam outlets and rinse with water.
Troubleshooting
Please perform the following steps if the pressure cooker is not working properly:
- Check that you have followed the operating instructions precisely and correctly.
- Check whether the table displayed below offers feasible solutions.
| Problem | Solution |
| Pressure does not build up. | There is no liquid in the pot. |
| Steam escapes during cooking without it being intended to do so. | The heat is too high. Adjust the heat or take the pot off the stove. |
Steam or liquid is leaking from the underside of the pressure lid.![]() | The silicone ring is damaged or dirty. Clean or replace the silicone ring. |
| The lid cannot be closed properly. | The lid has become warped, or the regulator is not on the lock symbol . |
Steam and liquids suddenly shoot out of the safety valve.![]() | The closing valve is dirty, or the 0-rings of the valve are damaged. Clean the valve or replace the 0-rings. |
| During cooking, the silicone ring suddenly emerges from the safety window, and steam escapes. ![]() | The other valves are dirty or blocked, or the silicone ring is outdated. Immediately switch off the energy source and replace the silicone ring if necessary. |
Should your pressure cooker show defects beyond these, please contact a professional repair service. Do not try to repair the pressure cooker yourself.
Replacement parts
Depending on the intensity of use, the silicone ring should be replaced every 12 years, but at the latest when it becomes fractured and cracked. You can reorder the silicone ring under item number 944297.
You can reorder the pressure valve under item number 944298.
www.springlane.de
Customer service
In principle, our products have a legal warranty duty of 2 years. Further claims can only be processed in conjunction with a proof of purchase. Wearing parts exclude any warranty claims, when usual abrasion has occurred. The durability is determined by the respective handling and use of the products and is thus variable.
For questions concerning handling and the functionality of our products, please contact our customerservice:
Free hotline for Germany/Austria only: 0800 270 70 27
From other EU countries:
+49 211 749 55 10
(Different costs may apply.)
EMail: [email protected]
Disposal/Environmental protection
Our products are manufactured to high-quality standards and are designed for long service life. Regular maintenance and care will help to extend service life. If the appliance is defective and can no longer be repaired, it must not be disposed of in the normal household waste.
Take the appliance to a designated disposal point for recycling electrical or electronic equipment. Through professional disposal and recycling, you make an important contribution to protecting our environment.
Springlane GmbH herewith declares that the product complies with the essential CE requirements on the issuing date. The complete declaration of conformity can be accessed at https://www.springlane.de/bedienungsanleitungen.

ArtikelNr.: 944559 (4l), 944560 (6l)
Stand: November 2020
Copyright ©
Springlane GmbH, Reisholzer Werftstraße 25a, 40589 Düsseldorf, Germany
Service Hotline: 0800 270 70 27
EMail: [email protected] | Internet: www.springlane.de























