
SI 258 Travel Steam Iron
Instruction Manual 
Dear customer, thank you for purchasing our product. Please read the operating instructions carefully before putting the appliance into operation and keep these instructions including the warranty, the receipt, and, if possible, the box with the internal packing.
GENERAL SAFETY INSTRUCTIONS
- The appliance is designed exclusively for private use and for envisaged purposes. This appliance is not fit for commercial use.
- Never use the appliance if its power cord or plug is damaged, if it does not work properly if it fell down and was damaged and is leaking. In this case, take the appliance to a special service to check its safety and proper function.
- This product can be used by children at the age of 8 years and older and people with reduced physical or mental abilities or lack of experience and knowledge if they are supervised or if they were instructed regarding the use of the appliance in a safe way and if they understand possible risks. Children must not play with the appliance. User cleaning and maintenance must not be performed by children if they are younger than 8 years and unsupervised. Children younger than 8 years must be kept out of reach of the appliance and its power cord.
- Iron and its supply keep out of reach of children under 8 years (when is plugged into power or cool down).
- Use and place the iron on a stable surface.
- When putting the iron on a stand, make sure that the surface that the stand is placed on is stable.
- Keep it away from sources of heat, direct sunlight, humidity (never dip it into any liquid), and sharp edges. Do not use the appliance with wet hands. If the appliance is humid or wet, unplug it immediately. Do not put it in water.
- When cleaning or putting it away, switch off the appliance and always pull out the plug from the socket (pull on the plug, not the cable) if the appliance is not being used and remove the attached accessories.
- To protect children from the dangers posed by electrical appliances, make sure that the cable is hanging low and that children do not have access to the appliance.
- Check the appliance and the cable for damage on a regular basis. Do not use the appliance if it is damaged.
- Do not try to repair the appliance on your own. Always contact an authorized technician. To avoid exposure to danger, always have a faulty cable be replaced only by the manufacturer, by our customer service or by a qualified person with a cable of the same type.
- Pay careful attention to the following “Special Safety Instructions for this unit“. SPECIAL SAFETy INSTRUCTIONS FOR THIS UNIT
- Remove any sticker or protective cover from the soleplate before using the iron.
- Use for the first time on an old piece off baritone sure the sole plate and water tank are completely clean.
- When first used someday our may be emitted, after a short while, however, this will cease.
- Use iron only for its intended use.
- To protect against the risk of electric shock, do not immerse the iron in water or other liquids.
- The iron should always be turned to a minimum before plugging or unplugging from the outlet. Never pull the cord to disconnect from the electrical outlet instead, grasp the plug, and pull to disconnect.
- Do not touch hot surfaces. High temperatures are generated during use which could cause burns.
- Always use the handle and warn others (especially children) of the possible dangers of burns from steam, hot water or the soleplate, especially when ironing vertically.
- Always disconnect iron from electrical outlet when not in use.
- Store the unit out of reach of children.
- Do not allow the power cord to hang down over edges where it can be reached by children.
- Always switch off by the temperature dial, then unplug the appliance from the outlet:
– before filling with water or emptying it.
– before leaving it unattended
– before cleaning and maintenance —unless otherwise specified in this booklet.
– immediately after use. - The iron is not to be used if it has been dropped, if there are visible signs of damage or if it is leaking.
- If iron drops or leaks it should not be used anymore.
- Never iron or dampen cloths while wearing them.
- Do not use the appliance outdoors or in bathrooms.
- To avoid a circuit overload, do not operate another high wattage appliance on the same circuit.
- If an extension cord is absolutely necessary, a 5-ampere cord should be used. Cords rated for less amperage may overheat. Care should be taken to arrange the cord so that it cannot be pulled or tripped over.
- Do not use chemical additives, scented substances or decalcifiers. Failure to comply with the above-mentioned regulations leads to the loss of guarantee.
- The device must be connected into a grounded outlet.
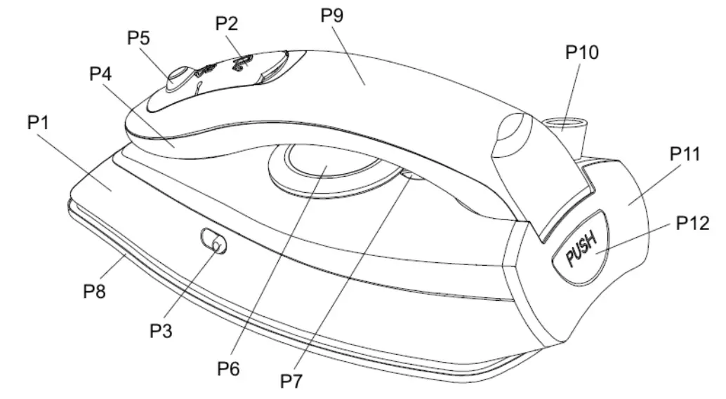
DESCRIPTION OF THE CONTROLS
P1 …………………..Skirt
P2 …………………..Filling cover.
P3……………….. Steam selector knob
P4 ……………………Handle
P5……………….. A surge of steam Button
P6…………………… Temperature dial
P7…………………. Control light + Heating indicator
P8 ………………….Stainless steel soleplate
P9………………. Water tank
P10…………….. Cord bushing
P11………………….. Back cover
P12………….. Release Button

Instructions for Use
The product has many functions such as temperature regulating, dry ironing, variable steam, bursting steam, etc. When using the iron for the first time, you may notice a slight emission of smoke and hear some sounds made by the expanding plastics. This is quite normal and it stops after a short time. We also recommend passing the iron over an
ordinary cloth before using it for the first time.
SETTING THE TEMPERATURE
First sort items to be ironed, according to the International Textile Care Labeling Code.
Use
- Stand the iron on its heel and turn the temperature dial to a minimum. Plug the cord into an electrical outlet.
- Select the temperature setting required by rotating the temperature dial so that the desired setting is aligned with the heating indicator P7 – fig.1.
- The control light will glow showing that the iron is heating up. When it goes out, the iron has reached the selected temperature and is ready for use. The light will glow and go out as the thermostat maintains the selected temperature.
IMPORTANT:
The steam iron incorporates a thermal safety fuse to protect steam iron from overheating. However, the iron should not be left unattended while it is connected to an electrical outlet. Special care should always be taken when there are children in the home.
FILLING WITH WATER
- First, ensure that the iron is disconnected from the electricity supply before filling it with water.
- Slowly pour the water into the reservoir using the special filling beaker and take care not to go over the maximum level (about 40ml), fig. 2.
- Push firmly to close the water filling inlet cover.
- During the ironing process, always ensure there is sufficient water in the water tank.
DRY-IRONING
Turn the steam selector to position
this and shuts off the steam flow, should there be any water in the tank. Select the temperature setting most suitable for the fabric to be ironed. Once the temperature has been reached, ironing may commence. warning: for delicate fabrics, we recommend moistening the fabric beforehand by putting a damp cloth between the iron and the fabric. To avoid staining.
STEAM-IRONING
As per the indications on the temperature dial and table A (see section „Setting the temperature“) that steam-ironing is only possible at higher ironing temperatures.
– Plug into the mains supply and switch it on.
– Set the temperature dial at the required position within the steam area ( or ) and wait until the heating indicator light has gone out.
– Set the steam selector to the position
. You can then begin steam ironing.
SURGE OF STEAM
The Surge of Steam provides an extra burst of steam which is ideal for removal of stubborn creases and wrinkles during STEAM or DRY ironing.
– Turn the temperature setting to the hottest setting within the steam area and wait until the heating indicator light goes out.
– Lift the iron slightly above the surface of the fabric, press the Surge of Steam button down firmly and then release it during ironing (Fig.3).
An intense „burst“ of steam penetrates deep into the fabric. For optimum steam quality, leave an interval of at least four seconds between pressing the Surge of a Steam button.
warning: the shot-steam function can only be used at high temperatures. Stop the emission when the plate temperature control light (P7) comes on, then start ironing again only after the light has gone off.
ADVICE FOR GOOD IRONING
- We recommend using the lowest temperatures with fabrics that have unusual finishes (sequins, embroidery, flush, etc.).
- If the fabric is mixed (e.g. 40% cotton 60% synthetics), set the thermostat to the temperature of the fiber requiring the lower temperature.
- If you don’t know the composition of the fabric, determine the suitable temperature by testing on a hidden corner of the garment. Start with a low temperature and increase it gradually until it reaches the ideal temperature.
- Never iron areas with traces of perspiration or other marks: the heat of the plate fixes the stains on the fabric, making them irremovable.
- To avoid marking silk, woolen or synthetic garments shiny, iron them inside out.
- To avoid marking velvet garments shiny, iron in one direction (following the fiber) and do not press down on the iron.
- The heavier the washing machine is loaded, the more garments come out creased. This also happens when the spin-drying revolutions are very high.
- Many fabrics are easier to iron if they are not completely dry.
- For example, silk should always be ironed damp.

CLEANING AND MAINTENANCE
AFTER USE
- Set the steam selector knob to

- Disconnect from the mains supply.
- Open the water filling inlet cover.
- Invert the iron and shake the iron to empty the water tank (fig.4), and then stand the iron in an upright position to allow to cool.
- Always store the iron (with water emptied from the water tank) on its heel rest, not on the soleplate. Even the smallest amount of moisture will cause corrosion and staining of the soleplate if the iron is stored with the soleplate facing downwards.
- Any deposits, starch residue, or size left on the plate can be removed using a damp cloth or an unabrasive liquid detergent.
- The plastic parts can be cleaned with a damp cloth and then wiped over with a dry cloth.
- Press the button and turn the handle to the low position (Fig. 5).
CARE AND CLEANING
- Disconnect from the main supply by removing the plug.
- Certain fabric finish residues may build up on the soleplate, these may be removed by cleaning with a rough cloth soaked in a vinegar water solution. Dry with a cloth.
- Do not use abrasives or scouring pads to clean the soleplate. Keep the soleplate smooth: avoid hard contact with metal objects. Do not scratch or damage the surface of the soleplate.
- Wipe the outside housing with a damp cloth and polish with a dry one. Do not use abrasives or harsh cleaners as they may damage the surface of the iron.
- Avoid scratching the plate with steel wool or metallic objects.
- To clean steam holes – simply use a damp cloth to wipe away any build-up of lint or starch from inside steam holes.
Troubleshooting
| Problem | Possible cause | Solution |
| The iron is plugged in but the soleplate is cold. | There is a connection problem. | Check the main cord, the plug, and the wall socket. |
| The iron does not produce any stream. | There is not enough water in the water tank. | Fill the water tank. |
| The stream control has been set to positron | Set the stream control to a higher position. | |
| The iron is not hot enough. | Select an ironing temperature that is suitable for steam ironing. Put the iron on its heel and wait until the amber pilot has gone out before you start ironing. | |
| Water droplets drip onto the fabric. | The cap of the filling opening has not been closed properly. | Close the cap properly. You will hear a click |
| Flakes and impurities come out of the soleplate during ironing. | You have been using hard water, which has caused scale flakes to develop inside the soleplate. | Use the self-clean function a few times. |
TECHNICAL SPECIFICATIONS
– Travel steam iron
– Stainless steel soleplate
– Soleplate with many holes – 293 holes
– Variable steam 0-21 g/min
– Horizontal steam 10 g/min
– Temperature indicator light
– Dry/steam ironing
– 40 ml water tank
– Overheating safety protection
– Color: white/blue
– Power drain 1000 W
– Power supply 230 V ~ 50 Hz
– Size: 20,5 x 9 x 11 cm
– weight: 0,72 kg
We reserve the right to change technical specifications.
WARNING: Do not use this product near water, or in wet areas to avoid fire or injury of electric current. Always turn off the product when you don’t use it or before a revision. There aren’t any parts in this appliance that are reparable by consumers. Always appeal to a qualified authorized service. The product is under dangerous tension.
Old electrical appliances used batteries and accumulators disposal
This symbol appears on the product, on the product accessories or on the product packing means that the product must not be disposed of as household waste. When the product/ battery durability is over, please, deliver the product or battery (if it is enclosed) to the respective collection point, where the electrical appliances or batteries will be recycled. The places, where the used electrical appliances are collected, exist in the European Union and in other European countries as well. By proper disposal of the product, you can prevent possible negative impacts on the environment and human health, which might otherwise occur as a consequence of improper manipulation with the product or battery/ accumulator. Recycling of materials contributes to the protection of natural resources. Therefore, please, do not throw the old electrical appliances and batteries/ accumulators in the household waste. Information, about where it is possible to leave the old electrical appliances for free, is provided at your local authority, at the store where you have bought the product. Information, on where you can leave the batteries and accumulators for free, is provided to you at the store, at your local authority.
Licensed by Hyundai Corporation, Korea.
















