PXV2410 LCD Monitor
User Guide
PXV2410 LCD Monitor
The information contained in this document is subject to change without notice. This document contains proprietary information that is protected by copyright. All rights are reserved. No part of this document may be reproduced, translated to another language or stored in a retrieval system, or transmitted by any means, electronic, mechanical, photocopying, recording, or otherwise, without prior written permission. Windows is a registered trademark of Microsoft Inc. Other brand or product names are trademarks of their respective holders.
FOR YOUR SAFETY
Before operating the monitor, please read this manual thoroughly. This manual should be retained for future reference.
FCC Class B Radio Frequency Interference Statement WARNING: (FOR FCC CERTIFIED MODELS)
NOTE: This equipment has been tested and found to comply with the limits for a Class B digital device, pursuant to Part 15 of the FCC Rules. These limits are designed to provide reasonable protection against harmful interference in a residential installation. This equipment generates, uses and can radiate radio frequency energy, and if not installed and used in accordance with the instructions, may cause harmful interference to radio communications. However, there is no guarantee that interference will not occur in a particular installation. If this equipment does cause harmful interference to radio or television reception, which can be determined by turning the equipment off and on, the user is encouraged to try to correct the interference by one or more of the following measures:
- Reorient or relocate the receiving antenna.
- Increase the separation between the equipment and receiver.
- Connect the equipment into an outlet on a circuit different from that to which the receiver is connected.
- Consult the dealer or an experienced radio/TV technician for help.
NOTICE:
- The changes or modifications not expressly approved by the party responsible for compliance could void the user’s authority to operate the equipment.
- Shielded interface cables and AC power cord, if any, must be used in order to comply with the emission limits.
- The manufacturer is not responsible for any radio or TV interference caused by unauthorized modification to this equipment. It is the responsibilities of the user to
correct such interference.
WARNING:
To prevent fire or shock hazard, do not expose the monitor to rain or moisture. Dangerously high voltages are present inside the monitor. Do not open the cabinet. Refer servicing to qualified personnel only.
This device complies with Part 15 of the FCC Rules. Operation is subject to the following two conditions:
- This device may not cause harmful interference, and
- this device must accept any interference received, including interference that may cause undesired operation.
Disposal of waste equipment by user in private household in the European Union
This symbol on the product or on its packaging indicates that this product must not be disposed of with your other household waste. Instead, it is your responsibility to dispose of your waste equipment by handing it over to a designated collection point for the recycling of waste electrical and electronic equipment. The separate collection
and recycling of your waste equipment at the time of disposal will help to conserve natural resources and ensure that it is recycled in a manner that protects human health and the environment. For more information about where you can drop off your waste equipment for recycling, please contact your local city office, your household waste
disposal service or the shop where you purchased the product.
PRECAUTIONS
- Do not use the monitor near water, e.g. near a bathtub, washbowl, kitchen sink, laundry tub, swimming pool or in a wet basement.
- Do not place the monitor on an unstable cart, stand, or table. If the monitor falls, it can injure a person and cause serious damage to the appliance. Use only a cart or stand recommended by the manufacturer or sold with the monitor. If you mount the monitor on a wall or shelf, use a mounting kit approved by the manufacturer and follow the kit instructions.
- Slots and openings in the back and bottom of the cabinet are provided for ventilation. To ensure reliable operation of the monitor and to protect it from overheating, be sure these openings are not blocked or covered. Do not place the monitor on a bed, sofa, rug, or similar surface. Do not place the monitor near or over a radiator or heat register. Do not place the monitor in a bookcase or cabinet unless proper ventilation is provided.
- The monitor should be operated only from the type of power source indicated on the label. If you are not sure of the type of power supplied to your home, consult your dealer or local power company.
- The monitor is equipped with a three-pranged grounded plug, a plug with a third (grounding) pin. This plug will fit only into a grounded power outlet as a safety feature. If your outlet does not accommodate the three-wire plug, have an electrician install the correct outlet, or use an adapter to ground the appliance safely. Do not defeat the safety purpose of the grounded plug.
- Unplug the unit during a lightning storm or when it will not be used for long period of time. This will protect the monitor from damage due to power surges.
- Do not overload power strips and extension cords. Overloading can result in fire or electric shock.
- Never push any object into the slot on the monitor cabinet. It could short circuit parts causing a fire or electric shock. Never spill liquids on the monitor.
• Do not attempt to service the monitor by yourself; opening or removing covers can expose you to dangerous voltages and other hazards. Please refer all servicing to qualified service personnel. - To ensure satisfactory operation, use the monitor only with UL listed computers which have appropriate configured receptacles marked between 100 – 240V AC, Min. 5A.
- The wall socket shall be installed near the equipment and shall be easily accessible.
- Do not operate the product over 16 hours per day.
- Please confirm the distribution system in building installation shall provide the circuit breaker rated 120/240V, 20A (maximum).
Warning :
Stability Hazard.
The product may fall, causing serious personal injury or death. To prevent injury, this product must be securely attached to the floor/wall in accordance with the installation instructions. A product may fall, causing serious personal injury or death. Many injuries, particularly to children, can be avoided by taking simple precautions such as:
- ALWAYS use cabinets or stands or installation methods recommended by the manufacturer of the product set.
- ALWAYS use furniture that can safely support the product.
- ALWAYS ensure the product is not overhanging the edge of the supporting furniture.
- ALWAYS educate children about the dangers of climbing on furniture to reach the product or its controls.
- ALWAYS route cords and cables connected to your product so they cannot be tripped over, pulled or grabbed.
- NEVER place a product in an unstable location.
- NEVER place the product on tall furniture (for example, cupboards or bookcases) without anchoring both the furniture and the product to a suitable support.
- NEVER place the product on cloth or other materials that may be located between the product and supporting furniture.
- NEVER place items that might tempt children to climb, such as toys and remote controls, on the top of the product or furniture on which the product is placed.
If the existing product is going to be retained and relocated, the same considerations as above should be applied.
SPECIAL NOTES ON LCD MONITORS
The following symptoms are normal with LCD monitor and do not indicate a problem.
NOTES AND CLEANING
- Due to the nature of the fluorescent light, the screen may flicker during initial use. Turn off the Power Switch and then turn it on again to make sure the flicker disappears.
- You may find slightly uneven brightness on the screen depending on the desktop pattern you use.
- The LCD screen has effective pixels of 99.99% or more. It may include blemishes of 0.01% or less such as a missing pixel or a pixel lit all of the time.
- Due to the nature of the LCD screen, an after image of the previous screen may remain after switching the image, when the same image is displayed for hours. In this case, the screen is recovered slowly by changing the image or turning off the Power Switch for hours.
- When the screen becomes black or flashing, or cannot illuminate any more, contact your dealer or service center to replace parts. Don’t repair the screen by yourself!
- To keep the monitor looking new, periodically clean it with a soft cloth. Stubborn stains may be removed with a cloth lightly dampened with a mild detergent solution. Never use strong solvents such as thinner, benzene, or abrasive cleaners, since these will damage the cabinet. As a safety precaution, always unplug the monitor before cleaning it.
- Do not scratch the screen with hard things as it may cause permanent damage.
- Do not allow liquids into monitor as it will result in component damage.
BEFORE YOU OPERATE THE MONITOR
FEATURES
- 24″ Wade IPS Monitor
- Recommended Resolution: 1920 x 1080 @ 60Hz
- Built in Webcam with Windows Hello
- HDMI, Displayport, and VGA Inputs
- Ergonomic Design
- Space Saving, Compact Case Design
- Integrated 2W speakers
- USB 3.2 Gen 1 x 2 Hub (1 supports fast charge BC1.2)
Use extreme caution when unpacking your monitor as the desk stand is spring- loaded. Failure to follow the instructions below may lead to physical harm.
- Lay the monitor flat on an even surface
- Remove Styrofoam
- Remove the bag.
PACKAGE LIST
The product package should include the following items:

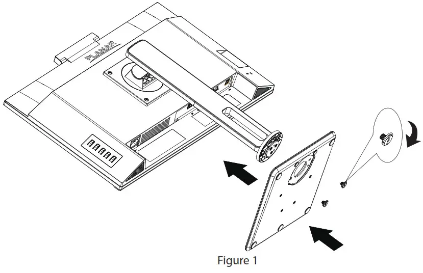
INSTALLATION INSTRUCTIONS
Attach the base organizer.

CONTROLS AND CONNECTORS
POWER CORD
Power Source:
- Make sure that the power cord is the correct type required in your area.
- This monitor has an internal universal power supply that allows operation in either 100/120V AC or 220/240V AC voltage area (No user adjustment is required.)
- Connect the AC-power cord into the monitor’s power input socket. The AC-power cord may be connected to either a wall power outlet or the power outlet socket on your PC, depending on the type of power cord supplied with your monitor.
SIGNAL CABLE
Connecting the Signal Cable : Plug one end of the signal cable to the LCD monitor and the other end to a computer or a video source (VGA, HDMI or DP).
Caution: If the AC outlet is not grounded (with three holes), install the proper grounding adapter (not supplied).

| 1. | Power Cable | 6. | Headphone Cable |
| 2. | DP Cable | 7. | USB Type B cable |
| 3. | HDMI Cable | 8. | USB Cable |
| 4. | VGA Cable | 9. | USB Cable |
| 5. | Audio Cable |
Webcam
The built in webcam is equipped with advanced sensors for Windows Hello facial recognition. It conveniently logs you into your Windows devices in less than 2 seconds, 3 times faster than a password.
To enable Windows Hello™ webcam, connect your USB cable from your PC to the “USB UP” port of this monitor. The webcam with Windows Hello is ready to work as long as the Windows Hello setting in Windows10 is complete. Refer to Windows official website for the settings: https://support.microsoft.com/help/4028017/windows-learn-aboutwindows-helloand-set-it-up
Note
Please always go to Windows official website to access the latest information. Windows 10 is required for setting up Windows Hello: facial recognition. Any edition lower
or MacOS, webcam can work but without facial recognition. With Windows 7 the driver is required to activate this webcam.
| Operating System | Windows Hello | Webcam |
| MAC OS | No | Yes |
| Win 7/8/8.1 | No | Yes |
| Win 10 | Yes | Yes |

| 1. | Microphone |
| 2. | IR of Face identification |
| 3. | 2.0 Megapixel Webcam |
| 4. | Webcam activity light |
USB Connection
Connect one end of a USB cable to a monitor and the other end to your computer.
Note: To utilize the USB Type A ports, ensure your computer is connected to the Type B.
To comply with International energy standards, the USB hub/ports of this display are disabled during Standby and Off modes. Connected USB devices will not work in this state.
To permanently put the USB function in “ON” state, please go to OSD Menu, then select “USB standby mode”, and switch it to “ON” state. In OSD–>Extra–>USB Standby Power–>On/Off Turning off the monitor via power switch will power Off all the USB ports.
ADJUSTING THE VIEWING ANGLE
- For optimal viewing it is recommended to look at the full face of the monitor, then adjust the monitor’s angle to your own preference.
- Hold the stand so you do not topple the monitor when you change the monitor’s angle.
- You are able to adjust the monitor’s swivel from -30° to 30°.
- You are able to adjust the monitor’s tilt from -5° to 20°.
- You are able to adjust the monitor’s pivot from -90° to 90°.

NOTES
- Do not touch the screen when you change the angle. It may cause damage or break the screen.
- Careful attention is required not to catch your fingers or hands when you change the angle.
OPERATING INSTRUCTIONS
GENERAL INSTRUCTIONS
The control buttons are located at the back of the monitor (See Figure 4). Press the power button to turn the monitor on or off. By changing these settings, the picture can be adjusted to your personal preferences.
- The power cord should be connected.
- Connect the video cable from the monitor to the video card.
- Press the power button to turn on the monitor. The power indicator will light up.

| 1. | OSD On / Off / Exit Selection |
| 2. | Scroll Up / Adjust Increase / Blue Light Reducer / Volume |
| 3. | Scroll Down / Adjust Decrease / ECO |
| 4. | Input select / Confirm selection |
| 5. | Power On / Off |
FRONT PANEL CONTROL
- Power Button:
Press this button to switch ON/OFF monitor’s power. - Power Indicator:
Blue — Power on mode.
Orange —Power saving mode. - [1]: OSD / Exit:
Activates OSD menu or exit selection.
: Volume / Blue Light Reducer:
Activates the volume control when the OSD is OFF or navigate through adjustment icons when OSD is ON or adjust a function when function is activated.
Blue Light Reducer hot key: When the OSD is OFF, press and hold the up key for 3 seconds will be Blue Light Reducer function.
: ECO
Activates the ECO control when the OSD is OFF or navigate through adjustment icons
when OSD is ON or adjust a function when function is activated.- [2]: Input Select / Enter:
When the OSD is OFF, pressing [2] button will call out input select. Use the up/down arrow to select input. Press [2] to confirm selection.
OSD Lock Function: All 4 buttons are locked except Power button. Hold the [1] button
for 5 seconds to lock/unlock. Power & OSD Lock Function: All 5 buttons including the Power button are locked. Hold the Power key for 5 seconds to lock/unlock.
NOTES
- Do not install the monitor in a location near heat sources such as radiators or air ducts, or in a place subject to direct sunlight, or excessive dust or mechanical vibration or shock.
- Save the original shipping carton and packing materials, as they will come in handy if you ever have to ship your monitor.
- For maximum protection, repackage your monitor as it was originally packed at the factory.
HOW TO ADJUST A SETTING
- Press the [1] button to activate the OSD window.
- Press
or
to navigate through the functions. Once the desired function is highlighted, press the [2] button to activate it. If the function selected has a sub-menu, press
or
again to navigate through the sub-menu functions. Once the desired function is highlighted, press [2] button to activate it. - Press
or
to change the settings of the selected function. To exit and save, select the [1] function. - If you want to adjust any other function, repeat steps 2-3.

ADJUSTING THE PICTURE
| Main Menu Item | Main Menu Icon | 1st Sub Menu Item | Description |
| Luminance | Contrast | Adjusts contrast levels. | |
| Brightness | Adjusts backlight levels. | ||
| Eco Mode | Picture Adjustment, Standard: Brightness = 90, Contrast = 50. Brightness, Contrast Adjustable | ||
| Text: Brightness = 20, Contrast = 50. Brightness, Contrast Grayed. | |||
| Internet: Brightness = 40, Contrast = 50. Brightne ss, Contrast Grayed. | |||
| Game: Brightness = 60 Contrast = 50, Brightness, Contrast Grayed. | |||
| Movie: Brightness = 80, Contrast = 50, Brightness, Contrast Grayed. | |||
| Sports: Brightness = 100, Contrast = 50, Brightness, Contrast Grayed. | |||
| DCR | Dynamic contrast ratio. | ||
| Image Setup | Image Ratio | Select Image Aspect Ratio. | |
| OD | Overdrive Adjustment. . | ||
| Color Range | Select color range only for HDMI. | ||
| Clock | Adjust picture Clock to reduce Vertical-Line noise. | ||
| Phase | Adjust Picture Phase to reduce Horizontal-Line noise. | ||
| H. Position | Adjust the horizontal position of the OSD. | ||
| V. Position | Adjust the vertical position of the OSD. |
| Main Menu Item | Main Menu Icon | 1st Sub Menu Item | Description |
| Color Temp. | Warm | Recall Warm Color Temperature . | |
| Normal | Recall Normal Color Temperature . | ||
| Cool | Recall Cool Color Temperature . | ||
| User | Adjust R.G.B levels as desired. User-R:Red Gain from Digital-register. User-G:Green Gain from Digital-register. User-B:Blue Gain from Digital-register. | ||
| sRGB | Recall sRGB Color Temperature | ||
| Blue Light Reducer | (15% reduction) – VIDEO – Ideal for watching videos (30% reduction) – WEB BROWSING – Ideal for web browsing (50% reduction) – READING – Ideal for reading (70% reduction)- LOW LIGHT – Ideal for low ambient lighting environments | ||
| OSD Setup | H. Position | Adjust the horizontal position of the OSD. | |
| V. Position | Adjust the vertical position of the OSD. | ||
| Timeout | Adjust the OSD timeout. | ||
| Language | Set OSD display language . | ||
| Extra | Input Select | Select input. | |
| DDC/CI | Select DDC/CI On / Off. | ||
| USB Standby Power | ON/OFF | ||
| Reset | Set Monitor to default status. | ||
| Information | Show the resolution, H/V as above format including all video timing. |
PLUG AND PLAY
Plug & Play DDC2B Feature
This monitor is equipped with VESA DDC2B capabilities according to the VESA DDC STANDARD. It allows the monitor to inform the host system of its identity and, depending on the level of DDC used, communicate additional information about its display capabilities. The DDC2B is a bidirectional data channel based on the I²C protocol. The host can request EDID information over the DDC2B channel.
THIS MONITOR WILL APPEAR TO BE NON-FUNCTIONAL IF THERE IS NO VIDEO INPUT SIGNAL. IN ORDER FOR THIS MONITOR TO OPERATE PROPERLY, THERE MUST BE A VIDEO INPUT SIGNAL.
This monitor meets the Green monitor standards as set by the Video Electronics Standards Association (VESA) and The Swedish Confederation Employees (NUTEK). This feature is designed to conserve electrical energy by reducing power consumption when there is no video-input signal present. When there is no video input signal this monitor, following a time-out period, will automatically switch to an OFF mode. This reduces the monitor’s internal power supply consumption. After the video input signal is restored, full power is restored and the display is automatically redrawn. The appearance is similar to a “Screen Saver” feature except the display is completely off. The display is restored by pressing a key on the keyboard, or clicking the mouse.
USING THE RIGHT POWER CORD :
The accessory power cord for the Northern American region is the wallet plug with NEMA 5-15 style and is UL listed and CSA labeled. The voltage rating for the power cord shall be 125 volts AC.
Supplied with units intended for connection to power outlet of personal computer: Please use a cord set consisting of a minimum No. 18 AWG, type SJT or SVT three conductors flexible cord. One end terminates with a grounding type attachment plug, rated 10A, 250V, CEE-22 male configuration. The other end terminates with a molded-on type connector body, rated 10A, 250V, having standard CEE-22 female configuration.
Please note that power supply cord needs to use VDE 0602, 0625, 0821 approval power cord in European counties.
TECHNICAL SUPPORT (FAQ)
| Problem & Question | Possible Solution |
| Power LED is not on | * Check if the Power Switch is in the ON position. * Power Cord should be connected. |
| No Plug & Play | * Check if the PC system is Plug & Play compatible. * Check if the Video Card is Plug & Play compatible. * Check if the D-15 plug pin of Video Cable is bent. |
| Picture is fuzzy | * Adjust the Contrast and Brightness Controls. |
| Picture bounces or a wave pattern is present in the picture | * Move electrical devices that may cause electrical interference. |
| The power LED is ON (Amber) but there’s no video or no picture. | * Computer Power Switch should be in the ON position. * Computer Video Card should be snugly seated in its slot. * Make sure monitor’s video cable is properly connected to the computer. * Inspect monitor’s video cable and make sure none of the pins are bent. * Make sure computer is operational by hitting the CAPS LOCK key on the keyboard while observing the CAPS LOCK LED. The LED should either turn ON or OFF after hitting the CAPS LOCK key. |
| Missing one of the primary colors (RED, GREEN, or BLUE) | * Inspect the monitor’s video cable and make sure that none of the pins are bent. |
| Picture has color defects (white does not look white) | * Adjust RGB color or select color temperature. |
| Poor brightness or contrast | * When the brightness of the screen lowers after being used for a certain period and the function of the display is affected, send it to our authorized service center for repair. |
| No power for USB hub | * Make Sure USB standby is set to On. |
| Horizontal or vertical disturbances on the screen | * Adjust CLOCK and PHASE. |
ERROR MESSAGE & POSSIBLE SOLUTION
NO SIGNAL:
- Check that the signal-cable is properly connected, if the connector is loose, tighten the connector’s screws.
- Check the signal-cable’s connection pins for damage.
INPUT NOT SUPPORT:
Your computer has been set to unsuitable display mode, set the computer to display mode given in the following table.
APPENDIX
SPECIFICATIONS
| LCD Panel | Driving system | TFT Color LCD |
| Size | 60.45 cm(23.8″) | |
| Pixel pitch | 0.2745 (H) x 0.2745 (V) mm | |
| Input | Video | Digital |
| H-Frequency | 30 – 85 kHz | |
| V-Frequency | 48 – 76 Hz | |
| Display Colors | 16.7 M | |
| Max. Resolution | 1920 x 1080 @ 75Hz | |
| Plug & Play | DDC 1/ 2B / CI or VESA DDC2B™ | |
| Power Consumption | Power On(typ.) | ≤ 15 W |
| Power Saving | ≤ 0.5 W | |
| Power Off | ≤ 0.3 W | |
| Input Connector | 20-pin Displayport 19-pin HDMI 15-pin D-SUB USB Type-B 2 x USB Type A Audio In | |
| Input Video Signal | 1xDisplayPort 1.2 1xHDMI 1.4 1xD-SUB 1xUSB Type-B | |
| Output Connector | 1xHeadphone out | |
| Speaker | 2W x 2 | |
| Built in Webcam | 2.0 megapixel FHD camera with microphone and LED indicator (Windows Hello) | |
| USB | USB B 3.2 (Gen 1) x 1 (Upstream (5Gbps) USB A 3.2 Gen 1 x 2 (Downstream w/1 fast charge BC 1.2) | |
| Power Source | 100~240VAC,50/60Hz | |
| Environmental Considerations | Operating Temp: 0°C to 40°C Non-Operating Temp.: -20°C to 60°C Operating Humidity: 10% to 85% | |
| Dimensions (W x H X D) | 539.5 mm x 520.8 mm x 228.9 mm | |
| Weight (N.W.) | 4.9 kg | |
FACTORY PRESET TIMING TABLE
| Preset HDMI/Displayport/VGA | ||||
| Standard | Resolution (Hz) | HDMI | DP | VGA |
| VGA | 640×480@60 | V | V | V |
| VGA | 640×480@67 | V | V | V |
| VGA | 640×480@72 | V | V | V |
| VGA | 640×480@75 | V | V | V |
| DOS | 720×400@70H | V | V | V |
| SVGA | 800×600@56 | V | V | V |
| SVGA | 800×600@60 | V | V | V |
| SVGA | 800×600@72 | V | V | V |
| SVGA | 800×600@75 | V | V | V |
| XGA | 1024×768@60 | V | V | V |
| XGA | 1024×768@70 | V | V | V |
| XGA | 1024×768@72 | V | V | V |
| XGA | 1024×768@75 | V | V | V |
| SXGA | 1280×800@60 | V | V | V |
| SXGA | 1280×1024@60 | V | V | V |
| SXGA | 1280×1024@70 | V | V | V |
| SXGA | 1280×1024@75 | V | V | V |
| WXGA+ | 1440×900@60 | V | V | V |
| WXGA+ | 1440×900@75 | V | V | V |
| WSXGA+ | 1680×1050@60 | V | V | V |
| HD | 1280×720@60Hz | V | V | V |
| HD | 1366×768@60Hz | V | V | V |
| HD+ | 1600×900@60Hz | V | V | V |
| FHD | 1920×1080@60Hz | V | V | V |
| FHD | 1920×1080@75Hz(RB) | V | V | V |
Video Timing Resolution | |||
| Standard | Resolution (Hz) | HDMI | DP |
| 480p | 640×480 P59.94/60Hz(4:3) | V | V |
| 480p | 720×480 P59.94/60Hz(4:3) | V | V |
| 480p | 720×480 P59.94/60Hz(16:9) | V | V |
| 576p | 720×576 P50Hz(4:3) | V | V |
| 576p | 720×576 P50Hz(16:9) | V | V |
| 720p | 1280×720 P50Hz(16:9) | V | V |
| 720p | 1280×720 P59.94/60Hz(16:9) | V | V |
| 1080p | 1920×1080 P50Hz(16:9) | V | V |
| 1080p | 1920×1080 P59.94/60Hz(16:9) | V | V |
CONNECTOR PIN ASSIGNMENT
20 – Pin Color Display Signal Cable
| PIN NO. | DESCRIPTION | PIN NO. | DESCRIPTION |
| 1 | ML_Lane 3 (n) | 11 | GND |
| 2 | GND | 12 | ML_Lane 0 (p) |
| 3 | ML_Lane 3 (p) | 13 | CONFIG1 |
| 4 | ML_Lane 2 (n) | 14 | CONFIG2 |
| 5 | GND | 15 | AUX_CH(p) |
| 6 | ML_Lane 2 (p) | 16 | GND |
| 7 | ML_Lane 1 (n) | 17 | AUX_CH(n) |
| 8 | GND | 18 | Hot Plug Detect |
| 9 | ML_Lane 1 (p) | 19 | Return DP_PWR |
| 10 | ML_Lane 0 (n) | 20 | DP_PWR |
![]()
| PIN NO. | DESCRIPTION | PIN NO. | DESCRIPTION |
| 1. | TMDS Data 2+ | 11. | TMDS Clock Shield |
| 2. | TMDS Data 2 Shield | 12. | TMDS Clock- |
| 3. | TMDS Data 2- | 13. | CEC |
| 4. | TMDS Data 1+ | 14. | Reserved (N.C. on device) |
| 5. | TMDS Data 1 Shield | 15. | SCL |
| 6. | TMDS Data 1- | 16. | SDA |
| 7. | TMDS Data 0+ | 17. | DDC/CEC Ground |
| 8. | TMDS Data 0 Shield | 18. | +5V Power |
| 9. | TMDS Data 0- | 19. | Hot Plug Detect |
| 10. | TMDS Clock+ |
![]()
| PIN NO. | DESCRIPTION | PIN NO. | DESCRIPTION |
| 1. | Red | 9. | +5V |
| 2. | Green | 10. | Detect Cable |
| 3. | Blue | 11. | Ground |
| 4. | Ground | 12. | DDC-Serial Data |
| 5. | Ground | 13. | H-Sync |
| 6. | R-Ground | 14. | V-Sync |
| 7. | G-Ground | 15. | DDC-Serial Clock |
| 8. | B-Ground |
WALL MOUNTING (OPTIONAL)
Refer to the instructions that come with the base mounting kit. To convert your display from a desk-mounted to a wall-mounted display, do the following:
- Verify that the power button is turned Off, then disconnect the power cord.
- Remove the four screws attaching the base (screw dimension: M4 x 12mm).
- Attach the mounting bracket from the VESA compatible wall mounting kit (100 mm x 100 mm distance),VESA Mounting Screw M4x15mm.
- Attach the display to the wall, following the instructions in the wall-mounting kit.
NOTE: For use only with wall mount bracket with minimum weight/load: 26.5lb (12kg.)
![]()
PLANAR SUPPORT
Cables and Accessories
To find cables and accessories for your Planar monitor, touch screen or other Planar products visit our online store at www.PlanarOnline.com
Technical Support
Visit Planar at http://www.planar.com/support for operations manuals, touch screen drivers, warranty information and access to Planar’s Technical Library for online troubleshooting. To speak with Planar Customer Support please have you model and serial number available and dial:
Planar Support
Tel: 1-866-PLANAR1 (866-752-6271) or +1 503-748-5799 outside the US.
Hours: 24 hours a day, 7 days a week.
Toll or long distance charges may apply.
European Product Database for Energy Labeling (EPREL)
PXV2410 Registration number: 1124522
Planar Systems, Inc.
Customer Service
24×7 Online Technical Support: http://www.planar.com/support
Planar Address: 1195 NE Compton Drive, Hillsboro, OR 97006 USA
Tel: 1-866-PLANAR1 (866-752-6271), or +1 503-748-5799 outside the United States, Hours: 24 hours a day, 7 days a week
©2021 Planar Systems, Inc.
Planar is a registered trademark of Planar Systems, Inc.
Other brands and names are the property of their respective owners.
Technical information in this document is subject to change without notice. ![]()



















