KERBL 1766 Hot Air Dehorner Air Buddex

Warnings – General
- Your appliance contains pressurised, inflammable gas. You should therefore treat it with care.
- Keep the appliance out of the reach of children

- Do not insert the gas canister near naked flames. Only Kerbl Gas should be used. No other fuels are permitted.
- Excessive gas flow, ignition or a red to black-pulsing catalytic converter can occur during ignition or if the regulator is set too high. It is important to ignite the dehorner while the tip is pointing away from the face and body.
- Ensure that the flames go out before setting the appliance down. Caution: Hot gases at 580 °C are emitted from the outlet nozzle. Do not leave the appliance unsupervised.
- Do not drop it.
- Do not use if the appliance is damaged.
- Do not expose the appliance to temperatures above +50 °C and avoid prolonged exposur to direct sunlight.
- Do not pierce or burn.
- Do not refill, ignite or use in the proximity of flammable or combustible materials.
- Do not attempt to open the appliance, adjust it or repair it yourself. Products of this type are not designed for maintenance by their users. This does not include the parts listed under 5.0
- Do not inhale any of the vapours given off during use.
- Dispose of the appliance in accordance with local regulations.
- The regulations governing the transport of hazardous materials prohibit the carriage of butane or other flammable gas products on passenger aircraft. Do not pack this or any other product containing flammable gas in your hold or hand luggage.
Inserting the gas canister
- Ensure that the On/Off switch is in the “Off” position before replacing the gas canister.
- Insert the gas canister into the handle.
- Turn it clockwise until it sits firmly in place (tight).
- To remove the gas canister, turn it anti-clockwise until it releases.
- Note: the gas canister must only be inserted or removed if the dehorner is held vertically with the tip pointing upwards
Ignition sequence
NOTE: Upon ignition, flames can be emitted from the tip of the Buddex. These go out once the Buddex heats up. Please be aware that butane does not flow at 0 °C. If ignition is required at outdoor temperatures below 12 °C, attempt to ignite the appliance inside warmer buildings or in a vehicle and then take it to the place where the work is being carried out
- Always point the dehorner away from the face and body.
- Turn the gas regulator to high and listen for “hissing” of the gas. Press the ignition button.
- On ignition, the “hissing” of the gas changes to a clearly audible “roar”. This indicates that the gas flow has been ignited. Repeat the process if required until the sound changes.
- Place the dehorner vertically in the storage box while it is warming up. If the dehorner overheats or flares, turn the regulator clockwise slightly (-). Experience will teach you the correct setting for an efficient dehorning procedure.
- Do not leave the appliance unsupervised.
Dehorning
NOTE: The procedure and sequences required for dehorning vary from country to country, so please observe the legal regulations in your country. Our recommendations are based on the legal principles and recommendations in Germany
- The best time for dehorning is during the 1st and 2nd week of life. Dehorning should be carried out around midday in order to give the calf sufficient time for digestion after the morning feed and recovery before the evening feed.
- Administer the calming and pain-relieving medication (sedative and analgesic) around 10 – 15 minutes before dehorning. IMPORTANT: Note the package leaflet for the medication used!
- Carefully shave the horn buds to expose them.
- Heat up the AirBuddex for around 60 seconds before dehorning.
- Place the AirBuddex for the FIRST time in the centre of the horn bud and destroy the tissue for around 10 seconds.
- Remove the AirBuddex from the horn bud and remove the cell membrane within the destroyed area. Do not use the AirBuddex to remove destroyed skin cells.
- Place the AirBuddex for the SECOND time just above the centre of the same horn bud and leave it in place for around 10 seconds. (Repeat steps 4.5 to 4.7 for the second horn bud.)
- Switch the AirBuddex off and check the dehorned areas.
- Treat the wound with wound spray or blue spray and lay the calf in a prone position. Protect the calf from sun, rainfall and extreme cold or draughts.
TIP: If you are dehorning several calves, we recommend carrying out the individual steps in groups of three animals. In other words, sedate and give pain relief to three calves. Then shear the horn buds clear on these three calves. Then dehorn these three calves one after the other, etc.

Go here to the video
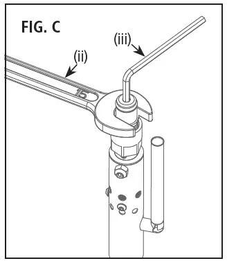
Replacing the spare nozzle

- Unscrew the burner using an 18 mm universal open-end wrench and remove it.
- Hold the base of the burner with a 15 mm open-end wrench (ii) and unscrew the gas nozzle with the O-seal using a 4 mm Allen key (iii).
- Screw the new gas nozzle in and tighten it. Take care not to tighten it too much.
- Reinsert the burner and secure it with the 18 mm universal open-end wrench and moderate force to establish a tight connection.
Technical specifications
- Length: 310 mm
- Weight: 675 g
- Heating time: 60 seconds
- Working temperature: adjustable up to 450 °C
- Service life: approx. 120 minutes
- Gas: butane canister
Kerbl UK Ltd
Lands End Way Oakham, Rutland LE15 6RF, UK
- Phone +44 1572 722558
- Fax +44 01572 757614
- [email protected]
- www.kerbl.co.uk




















