InterFlo Water Filter
BOX CONTENTS

TOOLS RECOMMENDED FOR INSTALLATION:
- Variable speed drill with 7/32” bit
- Adjustable wrench
- Measuring tape
- Level
- Phillips head screwdriver
- Pencil
Note: We recommend using an approved or certified professional if drilling is required.
The installation instructions on the following pages detail a standard installation on a main cold water faucet line. Due to the nature of the filtration block contained in the cartridge, the application of the InterFlo cartridge may affect the pressure and flow rate of the main cold water faucet line on which it is installed.
In instances where pressure and flow rate drops must be avoided, it is recommended that the InterFlo cartridge be installed and connected to a separate faucet. Please discuss options with your water treatment dealer to find the solution that is best for you.
INSTALLATION GUIDE
INSTALLATION OPTIONS
- Vertical
- Horizontal wall mount
- Horizontal floor mount
INSTALLATION STEPS
- Attach System Head to Cartridge to help determine under sink placement.

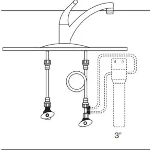
- Locate a suitable area under the sink to mount the system, noting that at least three (3) inches of clearance from the base of the cartridge is needed for easy cartridge replacement. The System Head must be installed less than three (3) feet from the cold-water inlet valve.
After determining placement, remove Cartridge from System Head. Place System Head in desired mounting location and use a level and a pencil to mark all four (4) screw holes.- After penciling in the mounting placement, use a 7/32” drill bit to drill holes for plastic anchors.Carefully tap anchors into the drilled hole with a hammer.

- Using a Phillips head screwdriver, mount the System Head and Cartridge Mounting Bracket using the provided screws. Ensure the bracket is mounted toward the end of the system sump for maximum support.

- Place Cartridge into bracket and connect to System Head. Twist to lock into place.

- Turn off cold water supply by hand-rotating the shutoff handle until fully closed. Using an adjustable wrench, disconnect the cold water line. Attach Dual Port Adapter to shutoff valve and re-attach cold water line to the Dual Port Adapter.

- Connect 3/8” tubing to the bottom port. Measure tubing to system inlet (marked “IN”) and cut to length. Repeat this step for the top port and outlet (marked “OUT”).
- Use 3/8” quick connect elbows, if necessary.

- Once tubing is installed, turn on COLD water kitchen faucet. With faucet on, slowly turn on the cold water supply.
- Flush cartridge for 15 minutes or until water is clear of carbon fines.
CARE & MAINTENANCE / PERFORMANCE DATA
IF-14 (100327665)
Replacement cartridge IF-14-R (100327692)
Rated service flow 2.0 gpm (7.57lpm)
Max capacity 7900 gallons (29,904 l)
Min working pressure 10 psi (137.85 kph)
Max working pressure 125 psi (551.58 kph)
Min operating temperature 35 ºF (4.44 ºC)
Max operating temperature 100 ºF (32.22 ºC)
To clean your filter unit, wipe down the exterior with a damp cloth.
Safeguards
- Use only cold water with filter.
- If you experience a hose connection leak, disconnect and re-seat the hose.

Testing Performed under NSF/ANSI Standards 42 and 53 and in accordance with the California Department of Health Services
Drinking Water Treatment Device Program. This system has been tested according to NSF/ANSI 42 and 53 for reduction of the substances listed below. The concentration of the indicated substances in water entering the system was reduced to a concentration less than or equal to the permissible limit for water leaving the system, as specified in NSF/ANSI 42 and 53.


Filter is only to be used with cold water.
Filter usage must comply with all state and local laws.
Testing was performed under standard laboratory conditions, actual performance may vary.
Systems certified for cyst reduction may be used on disinfected waters that may contain filterable cysts.
Read owner’s manual for general installation conditions and needs, as well as manufacturer’s limited warranty.
- All contaminants reduced by this filter are listed.
- Not all contaminants listed may be present in your water.
- Does not remove all contaminants that may be present in tap water.
System Tested and Certified by IAPMO R&T lab and IAPMO R&T against NSF/ANSI Standards 42 and 53. Please refer to Performance Data Sheet for specific contaminant reductions.
For use with municipally treated water only. Do not use with water that is microbiologically unsafe or of unknown water quality without adequate disinfection before or after the system. Systems certified for cyst reduction may be used on disinfected waters that may contain filterable cysts.
LIMITED 1 YEAR WARRANTY
WHAT IS COVERED:
This warranty covers defects in materials or workmanship in manufacturing of your InterFlo drinking water filter system, except as provided below.
FOR HOW LONG:
This warranty runs for 365 days from the date of purchase by a consumer (“Warranty Period”).
WHAT IS NOT COVERED:
This warranty does not cover filter cartridges and any products that were not installed in compliance with the instructions or that have been abused or operated incorrectly. The limited warranty stated herein is in lieu of any and all warranties, express or implied, whether written or oral, including but not limited the implied warranties of fitness for a particular purpose or the implied warranty of merchantability. The manufacturer shall not be liable for any incidental, consequential, special or contingent damages arising directly or indirectly from any defect or the use of the system. Owner shall be responsible for all labor and any other expenses related to the removal, repair or installation of the filtration system or any component part. Finally, this warranty is voided if the product is used with parts that are not genuine manufacturer parts.
This includes, but is not limited to: replacement filters, faucets, and diverter valves.
RETURN POLICY ON DEFECTIVE UNITS:
All defective parts must be returned to your dealer, along with the equipment serial number and date of original installation. Defective parts will be sent back to the manufacturer with a PREPAID label and replacement parts will be returned to the customer by FREIGHT COLLECT.
HOW STATE LAW APPLIES:
Some states do not allow limitations on how long an implied warranty lasts or the exclusion or limitation of incidental or consequential damages, so the above limitations and exclusion may not apply to you. This warranty gives you specific legal rights, and you may also have other rights which vary from state to state.
FURTHER EXCLUSIONS AND LIMITATIONS ON WARRANTY:
This warranty is null and void unless the InterFlo cartridge system was purchased and installed from an approved dealer. No dealer, agent, representative, or other person is authorized to extend or expand this limited warranty.
InterFlo is a trusted brand distributed exclusively through an authorized network or water treatment professionals
Please contact your local installing dealer for additional support or to order replacement cartridges.
InterFlo Water Filter User Manual – Optimized PDF
InterFlo Water Filter User Manual – Original PDF

INSTALLATION STEPS
After determining placement, remove Cartridge from System Head. Place System Head in desired mounting location and use a level and a pencil to mark all four (4) screw holes.




















