INSTRUCTION GUIDE
DH992 Non-Electric Mechanical Door Chime with Viewer
Congratulations on a wise purchase!
Carlon’s Non-Electric Door Chime is designed for mounting on doors or walls from 3/4˝ to 4-3/4˝ thick. When assembled, the push button with nameplate and viewer are outside and the chime base and cover are on the inside.
NAMEPLATE
Remove name card from back of nameplate by pulling from the open end. Write name and slide card back into name card slot.
INSTRUCTIONS
- Place nameplate template (Figure #1) on outside of door positioning 3/8″ diameter hole for push button shaft approximately 48″ – 54″ above bottom of door.
Note: Make sure template is parallel to edge of door. - Mark screw and 3/8″ diameter hole locations. Drill 3/8″ diameter hole through door. Note: Make sure template is parallel to edge of door.
- Assemble push button shaft to button by simply pressing the end of the shaft with knob into button slot.
- Insert assembled button shaft through 3/8″ hole.
- Place nameplate over button and mount with enclosed screws.
- Place base plate template (Figure #2) on inside of door, aligning 3/8″ hole on plate with 3/8″ hole drilled in door.
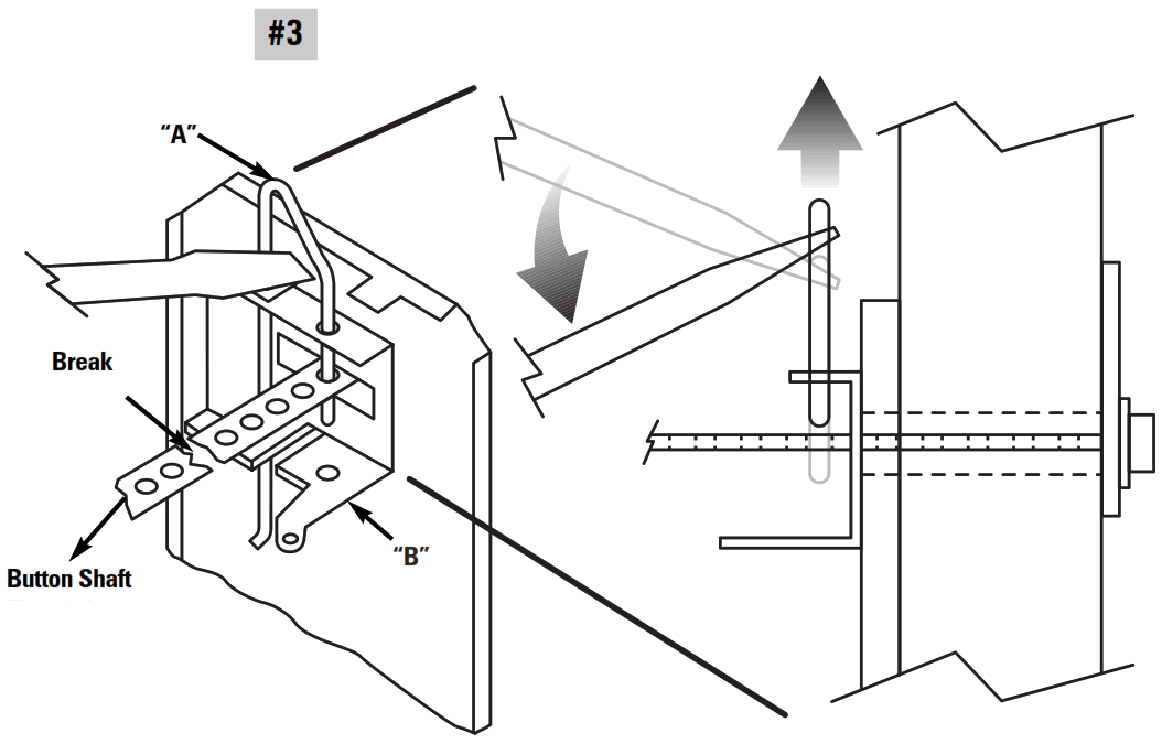
Note: Make sure template is parallel to edge of door. Mark screw locations. - With screwdriver, pry up pin “A” (Figure #3) to allow push button shaft to pass through hinge “B”.
Top Dessus Parte superior

- Place chime base over shaft and mount chime base with enclosed screws.
- Push button shaft against nameplate to ensure button is fully extended.
- Push pin “A” down through button shaft and into hole in hinge “B” until seated.
Note: Hinge “B” may need to be pried forward slightly to allow pin “A” to pass through holes in button slot. - Test chime.
- Break off button shaft at desired length and replace chime cover.
VIEWER
Mark on door where you want viewer positioned. Drill a 9/16″ hole through door. Unscrew viewer and place peep hole end (magnifying piece) through the front of door. Place other end through back of door. Turn clockwise to tighten.
LIMITED WARRANTY
The product you have purchased is guaranteed against defects in workmanship and materials for the period stated on the package. Warranties implied by law are subject to the same time period limitation. Some states do not allow limitations on how long an implied warranty lasts, so this time limitation may not apply to you.
If the product fails due to a manufacturing defect during normal use, return the product and dated sales receipt to the store where purchased for replacement OR send the product and the dated sales receipt to:
Lamson & Sessions
25701 Science Park Drive
Cleveland, OH 44122 USA
Attn: LHP Customer Service
Not Covered – Batteries, light bulbs, and other expendable items are not covered by this warranty. Repair service, adjustment and calibration due to misuse, abuse or negligence are not covered by this warranty. Unauthorized service or modification of the product or of any furnished components will void this warranty in its entirety. This warranty does not include reimbursement for inconvenience, installation, set-up time, loss of use, postage, unauthorized service, or other products used in conjunction with, but are not supplied by, Lamson & Sessions.
All requests for replacement must include a dated sales receipt (copies accepted). LAMSON & SESSIONS IS NOT LIABLE FOR LOST PROFITS, INDIRECT, SPECIAL, EXEMPLARY, INCIDENTAL OR CONSEQUENTIAL DAMAGES INCLUDING WITHOUT LIMITATION ANY SUCH DAMAGES DUE TO IMPROPER WIRING OR MISUSE OF THE PRODUCT. As some states do not allow the exclusion or limitation of incidental or consequential damages, the above limitation and exclusion may not apply to you.
This warranty gives you specific legal rights, and you may also have other rights which vary from state to state.

25701 Science Park Drive
Cleveland, Ohio 44122
www.lamson-sessions.com
Made in China
©2006 LAMSON&SESSIONS
060623 IS186
Top Dessus Parte superior



















