Référence : DOD196
Grille-pain
Version : v.1.0
User Manual
DOD196 2 Slot Toaster

Thank you for choosing a Livoo product!
Your blender, your barbecue, and your headphones are not just objects, they are extensions of yourself, allowing you to get closer to your friends and family, to bring them together, to laugh and to share experiences. Livoo’s aim is to help you live your life to the fullest, whatever wishes you have throughout the year. Winter raclette, summer barbecue. Or the other way around. It’s up to you. Take advantage of this freedom for feel good moments every day.
That’s why we’re constantly innovating and creating clever products full of zest, but most of all, accessible.
Find our entire collection on our website www.livoo.en.
Livoo, your daily companion till social networks

Safety Instructions
Please, take time to read well the instruction sheet before the first use and keep them for a future use.
A misuse of the appliance can damage it or hurt the user. Assure that you use the appliance for the use for which it is designed. We refuse any responsibilities as for the damages by an incorrect use or a bad manipulation.
- The appliance is intended for household use.
All other using is forbidden. Don’t use outdoor. - Before plugging in check that the voltage of your wall outlet correspond to the rated voltage manner.
- The appliance should only be connected to an earthed socket.
- This appliance can be used by children aged from 8 years and above and persons with reduced physical, sensory or mental capabilities or lack of experience and
knowledge if they have been given supervision or instruction concerning use of the appliance in a safe way and understand the hazards involved. - Children shall not play with the appliance.
- Cleaning and user maintenance shall not be made by children unless they are older than 8 years and supervised.
- Keep the appliance and its cord out of reach of children less than 8 years.
- Never leave the appliance unsupervised when in use.
- Unplug the appliance when not in use or when you clean it.
- Never used the appliance :
– If the power cord is damaged
– In case of bad operation
– It has been damaged in any manner
– It has been submerged in water
– If you dropped it - If the supply cord is damaged, it must be replaced by the manufacturer, its service agent or similarly qualified persons (*) in order to avoid a hazard.
- Never immerse the base of your appliance in water or any other liquid for any reason whatsoever. Never place it into the dishwasher.
- Regarding the instructions for cleaning surfaces in contact with food, thanks to refer to the below paragraph “cleaning” in the manual.
- To reduce the risk of electric shock, never operate this product with wet hands.
- Do not let cord hang over edge of table or counter or touch hot surface.
- Never unplug the appliance by pulling the cord.
- Unwind the cord of its flat to avoid the superheating of the appliance.
- Do not place an appliance on or near a hot gas or on a heated oven.
- The appliance is not intended to be operated by means of external timer or separate remote control system.
- It is absolutely necessary to keep this appliance clean at all times as it comes into direct contact with food.
- Place the appliance on a flat, stable, clean and heat-resistant work surface.
Caution, hot surface. The temperature of accessible surfaces may be high when the appliance is in operation.- This appliance is intended to be used in household and similar applications such as:
• staff kitchen areas in shops, offices and other working environments
• farm houses
• by clients in hotels, motels and other residential type environnents
• bed and breakfast type environments
(*) Competent qualified electrician: after sales department of the producer or importer or any person who is qualified, approved and competent to perform this kind of repairs in order to avoid all danger. In any case you should return the appliance to this electrician.
Technical Specifications
Power: 220-240V ~ 50-60Hz 750-850W
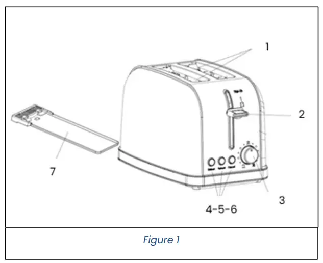
Drawing of the device
| 1 | Bread slots |
| 2 | Lever |
| 3 | Browning control button |
| 4 | Defrost button |
| 5 | Reheat button |
| 6 | Cancel button |
| 7 | Crumb tray |
Use of the device
First time use
Remove all packaging materials.
Clean the toaster with a damp cloth.
Make sure there is enough space between the toaster and walls or other appliances, as the toaster is hot when in use.
Before toasting bread for the first time, run it empty two or three times to burn off the manufacturing residues.
When this is done, the lever (2) will automatically lift. You can now start toasting bread.
Toasting your bread (Figure 1)
Prepare the toaster as described in the section “First time use”.
Place the slices of bread in the slots (1).
Set the desired heat level (3):
Level 1: Toasting of very light bread
Level 7: Toasting of very drak bread
For golden toast, set your toaster to one of the intermediate positions.
Press the lever down until it locks into place. The toaster will start to toast.
You can interrupt the toasting cycle at any time by pressing the stop button(6).
When the bread is ready, it is automatically ejected. The appliance switches off automatically.
To make it easier to remove the toast slices, the toaster has a lift function. Press the toast lever upwards to remove the toast.
Defrosting
The “defrost” function first defrosts the bread and then grill it.
Place the bread slices in the slots.
Press the defrost button (4) and repeat the above steps.
Reheating your bread:
Your toaster allows you to reheat your toast if it has cooled too quickly.
Put it back in the toaster.
Place the bread slices in the slots.
Press the button to reheat the bread (5) and then repeat the above steps.
Tips :
Empty the crumb tray (7) frequently. Crumbs can build up on the tray and catch fire if it is not emptied regularly.
Do not touch hot surfaces. Use the handles or knobs.
Bread can burn, so do not operate the appliance near or under flammable materials, such as curtains.
Do not toast or heat buttered or jam-covered bread.
Do not toast bread which are not of an appropriate size or which are deformed.
Do not attempt to remove bread during toasting.
The toaster lever must be raised before the appliance is switched on or off.
Cleaning and maintenance
Allow the appliance to cool down before cleaning and unplug it.
Do not immerse the appliance in water.
Wipe the toaster with a damp cloth and a mild detergent. Do not use abrasive agents.
To remove slices of bread stuck to the grids, unplug the toaster, turn it over and shake it lightly. Never try to remove them with sharp metal objects.
Remove crumbs and small pieces of bread from the crumb tray regularly.
To do this, remove the crumb tray (7) and empty it. Wipe it with a damp cloth, dry it well and put it back in the appliance.
Correct disposal of the unit (Electrical and Electronic Equipment).
(Applicable in the European Union and the rest of Europe that have adopted separate collection systems countries). The European Directive 2012/19/EU on Waste Electrical and Electronic Equipment (WEEE), requires that old household electrical appliances must not be disposed of in the normal household waste stream. Old appliances must be collected separately in order to optimize the recovery and recycling of the materials they contain and reduce the impact on human health and the environment. The symbol of the crossed out dustbin is marked on all products to remind the obligations of separate collection. Consumers should contact their local authority or retailer for information concerning the correct disposal of their product.
- Non contractual illustration
- Product information is subject to change without prior notice.
LIVOO
BP 61071
67452 Mundolsheim – FRANCE
www.livoo.fr
Caution, hot surface. The temperature of accessible surfaces may be high when the appliance is in operation.

















