SONY ICD-BX140 Mono Digital Voice recorder

Welcome to your new Sony IC recorder!
This is the Quick Start Guide, which provides you with instructions on the basic operations of the IC recorder.
Please read it carefully. We hope you enjoy using your new Sony IC recorder.
Check the supplied items.
- IC Recorder (1)
- Quick Start Guide
- LR03 (size AAA) alkaline batteries (2)
Parts and controls
- Built-in microphone
- (headphone) jack
- Operation indicator
- Display window
- FOLDER button
- MENU button
- PLAY/ENTER button (*)
- (review/fast backward) button
- (stop) button
- (microphone) jack (PLUG IN POWER) (*)
- VOL (volume) –/+ button (*)
- DIVIDE button
- ERASE button
- REC/PAUSE (record/pause) button
- (cue/fast forward) button
- Speaker
- HOLD•POWER ON/OFF switch
- Battery compartment
- Strap hole (A strap is not supplied.)
* These buttons and the jack have a tactile dot. Use it as a reference point for operations, or to identify each terminal.
Let’s try out your new IC recorder
Power on.

- Slide and lift the battery compartment lid, then insert batteries with the correct polarity.
- Turn the power on.
Slide and hold the HOLD•POWER ON/OFF switch in the direction of “POWER ON/OFF” until the window display appears.
To turn the power off, slide and hold the HOLD•POWER ON/ OFF switch in the direction of “POWER ON/OFF” until “OFF” is displayed.
To prevent unintentional operations (HOLD)
Set the date and time.
When you insert batteries and turn the power on, the year section begins to flash.
- Press buttons to set the year (the last two digits of the year), and then press PLAY/ENTER. Repeat this procedure to set month, day, hour, and minute in sequence.
Record.
- Press REC/PAUSE.
Recording starts and the operation indicator lights in red.
You can pause recording by pressing REC/PAUSE. Press REC/ PAUSE again to restart recording. - Place the IC recorder so that the built-in microphone faces the direction of the source to be recorded.
- Press (stop) to stop recording. “ACCESS” appears and the recording stops.
Listen.

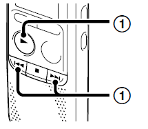
- Press PLAY/ENTER.
Playback starts and the operation indicator lights in green. - Adjust the volume by pressing VOL –/+.
- Press (stop) to stop playback.
Erase.

- When the IC recorder is in the stop mode, press and hold ERASE.
When the IC recorder is in the playback mode, press ERASE. “ERASE” is displayed. - Press ERASE.

- Press MENU.
- Press or to select a menu item for which you want to make setting, and then press PLAY/ENTER.
- Press or to select the setting that you want to set, and then press PLAY/ENTER.
- Press (stop) to exit the menu mode.
Additional features
You can also view the help guide on the following Sony IC Recorder customer support home page: http://rd1.sony.net/help/icd/b14/uc/
Details of these additional features for recording, playback, and editing are included in the help guide.
- MODE (Recording mode)
- SENS (Microphone sensitivity)
- LCF (Low cut filter)
- VOR (Voice Operated Recording)
- REC-OP (Adding a recording)
- DPC (Digital Pitch Control)
- N-CUT (Noise cut)
- EASY-S (Easy search)
- CONT (Continuous play)
- LOCK (Protecting a file)
- ALARM
- DIVIDE (Dividing a file)
Precautions
On power
Operate the unit only on 3.0 V DC. Use two LR03 (size AAA) alkaline batteries.
On safety
Do not operate the unit while driving, cycling or operating any motorized vehicle.
On handling
- Do not leave the unit in a location near heat sources, or in a place subject to direct sunlight, excessive dust, or mechanical shock.
- Should any solid object or liquid fall into the unit, remove the battery and have the unit checked by qualified personnel before operating it any further.
- If you have any questions or problems concerning your unit, please consult your nearest Sony dealer.
Specifications
Capacity (User available capacity *1*2)
4 GB (approx. 3.50 GB = 3,758,096,384 Byte)
*1 A small amount of the built‑in memory is used for file management and therefore not available for user storage.
*2 When the built‑in memory is formatted with the IC recorder.
Dimensions (w/h/d) (not incl. projecting parts and controls)
Approx. 38.5 mm × 115.2 mm × 21.3 mm (1 9/16 × 4 5/8 × 27/32 inches)
Mass
Approx. 72 g (2 1/2 oz) including two LR03 (size AAA) alkaline batteries
Operating temperature
5 °C – 35 °C (41 °F – 95 °F)
Battery life (When using LR03 (SG) (size AAA) alkaline batteries (*3))
- SHQ (Super high quality mode)
Recording: Approx. 26 h.
Playback through speaker: Approx. 13 h.
Playback using the headphones: Approx. 32 h. - HQ (High quality mode)
Recording: Approx. 28 h.
Playback through speaker: Approx. 14 h.
Playback using the headphones: Approx. 34 h. - SP (Standard play mode)
Recording: Approx. 45 h.
Playback through speaker: Approx. 16 h.
Playback using the headphones: Approx. 48 h. - LP (Long play mode)
Recording: Approx. 30 h.
Playback through speaker: Approx. 16 h.
Playback using the headphones: Approx. 50 h.
*3 Measured values acquired under our measurement conditions.
These values may decrease depending on the usage conditions.
Trademarks
- MPEG Layer-3 audio coding technology and patents licensed from Fraunhofer IIS and Thomson.
- All other trademarks and registered trademarks are trademarks or registered trademarks of their respective holders. Furthermore, “™” and “®” are not mentioned in each case in this manual.
WARNING
Do not expose the batteries (battery pack or batteries installed) to excessive heat such as sunshine, fire or the like for a long time.
CAUTION
Risk of explosion if battery is replaced by an incorrect type.
Dispose of used batteries according to the instructions.
FOR UNITED STATES CUSTOMERS. NOT APPLICABLE IN CANADA, INCLUDING IN THE PROVINCE OF QUEBEC.
For the customers in the United States
The following FCC statement applies only to the version of this model manufactured for sale in the USA. Other versions may not comply with FCC technical regulations.
INFORMATION
This equipment has been tested and found to comply with the limits for a Class B digital device, pursuant to Part 15 of the FCC Rules. These limits are designed to provide reasonable protection against harmful interference in a residential installation. This equipment generates, uses and can radiate radio frequency energy and, if not installed and used in accordance with the instructions, may cause harmful interference to radio communications.
However, there is no guarantee that interference will not occur in a particular installation. If this equipment does cause harmful interference to radio or television reception, which can be determined by turning the equipment off and on, the user is encouraged to try to correct the interference by one or more of the following measures:
– Reorient or relocate the receiving antenna.
– Increase the separation between the equipment and receiver.
– Connect the equipment into an outlet on a circuit different from that to which the receiver is connected.
– Consult the dealer or an experienced radio/TV technician for help.
This device complies with part 15 of the FCC Rules. Operation is subject to the following two conditions: (1) this device may not cause harmful interference, and (2) this device must accept any interference received, including interference that may cause undesired operation.
You are cautioned that any changes or modifications not expressly approved in this manual could void your authority to operate this equipment.
Please access the following support home page to get the support information about your IC recorder:
For customers in the U.S.A.:
http://www.sony.com/recordersupport
For customers in Canada:
http://www.sony.ca/ElectronicsSupport






















