![]()
Instructions for Mounting Warning
A correct mounting is extremely important and this is not the responsibility of SMS Smart Media Solutions AB. Faulty mounting may result in injury to persons or damage to equipment. SMS will not be responsible in any way if the product has been mounted incorrectly. Mounting fittings are not included with the product for reasons of safety, since the properties and bearing strength of walls/ceilings are specific for each case. Suitable mounting fittings must be selected based on the material of the wall/ceiling. Obtain advice from a specialist in the field or from a specialist shop concerning the choice of mounting fittings. It is the responsibility of the installer to ensure that the wall/ceiling can support at least four times the combined weight of the screen/projector and bracket. The maximum load for this product is given in the table in these installation instructions. The instructions for installation and use of the screen/projector must also be followed with respect to the location and attachment of the screen/projector.
Guarantee terms and conditions
- SMS guarantees that a product that SMS has determined to be defective as a result of deficient manufacture or material will be repaired or – if necessary – replaced, without cost, on condition that a claim is made within the period of warranty, which is 5 years. The guarantee does not apply for normal wear and tear.
- In the event of a claim being made under the terms of the warranty, the product and the original purchase receipt are to be returned to SMS. The name of the supplier and the date of purchase must be clearly legible on the receipt. The owner is to pay the cost of returning the product to SMS, while SMS is to pay the cost of returning the product subsequently to the owner.
- The guarantee provided by SMS does not apply under the following conditions:
- if the product has been drilled, mounted and/or used in any way that is not in accordance with the instructions for use, or if it has been mounted using inappropriate mounting fittings.
- if the product has been modified or repaired by anyone other than SMS.
- if the defect has arisen as a result of external factors (that are not associated with the product), such as lightning strike, water damage, fire, mechanical scratching, storage at extreme temperatures, weather conditions, solvents or corrosive agents, faulty use, or carelessness.
- if the product has been used for equipment other than that specified on the packaging.
ASSEMBLY INSTRUCTIONS
YOU WILL NEED![]()
NOT INCLUDED
NUMBER OF PERSONS REQUIRED![]()
LIST OF PARTS
![]()
![]()
![]()
![]()
SCREW LIST
- S1 Screw M6x12 16x
- S2 Screw M4x10 2x
K1 SCREW KIT![]()
![]()
INTALLATION
![]()
![]()
![]()
![]()
![]()
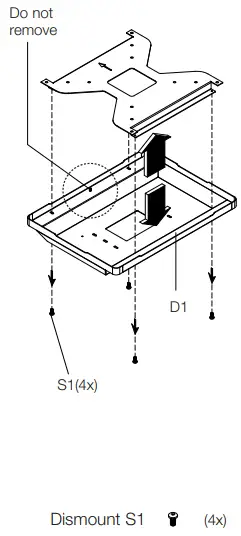
Dismount vesa bracket from plate
![]()
Mount plate on main stand
6b![]()
![]()
To secure stand on floor
![]()
![]()
![]()
Mount bracket on display
![]()
![]()
Mount display on frame
![]()
![]()
PRODUCT DIMENSIONS
SMS Smart Media Solutions AB
Hästholmsvägen 32, 5th floor, SE-131 30 Nacka, Sweden
www.smartmediasolutions.se
SMS Icon Navigator Grey Instruction

















