AirPro P250071 Ceiling Fan

Limited Lifetime Warranty
Progress Lighting fan motors are warranted to the original purchaser to be free of electrical and/or mechanical defects for so long as the original purchaser owns the fan. Pull chain switches, reverse switches, capacitors and metal finishes are warranted to be free from defects in materials or workmanship for a period of 1 year from the date of purchase. Warping of wooden or plastic blades is not covered by this warranty nor is corrosion and/ or deterioration of any finishes for fans installed within ten miles of any sea coast. Extended warranties for ENERGY STAR® qualified products may apply.
Progress Lighting ceiling fans with built-in LED light sources, when properly installed and under normal conditions of use, are warranted to be free from defects in material and workmanship which cause the light sources to fail to operate in accordance with the specifications for (i) five (5) years from the date of purchase on the LED Light modules and electrical components for fans used in single family residences, and (ii) three (3) years from the date of purchase on the LED Light modules and electrical components for fans used in multi family or commercial applications. LED bulbs supplied by Progress Lighting carry no warranty other than manufacturer’s warranty. Non-LED bulbs carry no warranty.
With proof of purchase, the original purchaser may return the defective fan to the place of purchase during the first 30 days for replacement. After 30 days, the original purchaser MUST contact Progress Lighting at (864) 678-1000 for repair or replacement which shall be determined in Progress Lighting’s sole discretion and shall be purchaser’s sole and exclusive remedy.
Labor and Shipping Excluded. This warranty does not cover any costs or fees associated with the labor (including, but not limited to, electrician’s fees) required to install, remove, or replace a fan or any fan parts. This warranty shall not apply to any loss or damage resulting from (i) normal wear and tear or alteration, misuse, abuse or neglect, or (ii) improper installation, operation, repair or maintenance by original purchaser or a third party, including without limitation improper voltage supply or power surge, use of improper parts or accessories, unauthorized repair (made or attempted) or failure to provide maintenance to the fan.
THE FOREGOING WARRANTIES STATE PROGRESS LIGHTING’S ENTIRE WARRANTY OBLIGATION AND ORIGINAL PURCHASER’S SOLE AND EXCLUSIVE REMEDY RELATED TO SUCH PRODUCTS PROGRESS LIGHTING IS NOT RESPONSIBLE FOR DAMAGES (INCLUDING INDIRECT, SPECIAL
INCIDENTIAL OR CONSEQUENTIAL), DUE TO PRODUCT FAILURE, WHETHER ARISING OUT OF BREACH OF WARRANTY, BREACH OF CONTRACT, OR OTHERWISE. THIS WARRANTY IS GIVEN IN LIEU OF ALL OTHER WARRANTIES, WHETHER EXPRESSED OR IMPLIED, INCLUDING THOSE OF MERCHANTABILITY, FITNESS FOR A PARTICULAR PURPOSE OR NONINFRINGEMENT.
Some states do not allow limitations on how long an implied warranty lasts or the exclusion or limitations of incidental or consequential damages, so the above limitations and exclusions may not apply to you. This warranty gives you specific rights and you may have other rights which vary from state to state
READ AND SAVE THESE INSTRUCTIONS
- To reduce the risk of electric shock, insure electricity has been turned off at the circuit breaker or fuse box before beginning.
- All wiring must be in accordance with the National Electrical Code ANSI/NFPA 70-1999 and local electrical codes. Electrical installation should be performed by a qualified licensed electrician.
- CAUTION: To reduce the risk of personal injury, use only the screws provided with the electrical box.
- The outlet box and support structure must be securely mounted and capable of reliably supporting 35 lbs. (15.9 kg). Use only cUL Listed outlet boxes marked “Acceptable for Fan Support of 35 lbs. (15.9 kg) or less.”
- CAUTION: The fan must be mounted with a minimum of 7 feet clearance from the trailing edge of the blades to the floor.
- Do not wait for the fan to stop before pressing the reverse button. The fan will not reverse direction if the fan is not moving.
- Avoid placing objects in path of the blades.
- To avoid personal injury or damage to the fan and other items, be cautious when working around or cleaning the fan.
- Do not use water or detergents when cleaning the fan or fan blades. A dry dust cloth or lightly dampened cloth will be suitable for most cleaning.
- After making electrical connections, spliced conductors should be turned upward and pushed carefully up into electrical box. The wires should be spread apart with the grounded conductor and the equipment-grounding conductor on one side of the electrical box and ungrounded conductor on the other side of the electrical box.
- Electrical diagrams are for reference only. Light kits that are not packed with the fan must be UL Listed and marked suitable for use with the model fan you are installing. Switches must be UL General Use Switches. Refer to the instructions packaged with the light kits and switches for proper assembly.
- All set screws must be checked and retightened where necessary before installation.
- WARNING: To reduce the risk of fire or electric shock, this fan should only be used with fan speed control part no. DR-5R, manufactured by DAWNSUN ELECTRONIC TECHNOLOGY CO LTD ZHONGSHAN.
- Suitable for use in damp locations

Unpack your fan and check the contents. You should have the following items
- Mounting Bracket (inside canopy)
- 6” Ball/Downrod Assembly (hanger pin and locking pin pre-attached)
- Canopy with Canopy Ring (attached)
- Decorative Motor Collar Cover
- Fan Motor Assembly
- Blades (3)
- Transmitter and Receiver
- Extension Lead Wire
- a. Blade attachment hardware (10 screws)
- b. Electrical hardware and balancing kit (1 plastic wire connector, blade balancing kit)
Installing Your Fan
Tools Required
Phillips screw driver or straight slotted screw driver, adjustable wrench, step ladder, and wire cutters.

Mounting Options
If there isn’t an existing electrical box, then read the following instructions. Disconnect the power by removing fuses or turning off circuit breakers.
Secure the electrical box directly to the building structure. Use appropriate fasteners and building materials. The electrical box and its support must be able to fully support the moving weight of the fan (at least 35 lbs.). Do not use plastic electrical boxes.
Figures 1, 2, and 3 are examples of different ways to mount the electrical box.



Note: You may need a longer downrod to maintain proper blade clearance when installing on a steep, sloped ceiling. The maximum angle allowable is 20˚. If the canopy touches the downrod, turn the canopy 180˚ before attaching the canopy to the mounting plate.

To hang your fan where there is an existing fixture but no ceiling joist, you may need an installation hanger bar as shown in Figure 4.
Attaching the Fan Blades


- Remove the three screws from the top of fan motor assembly , then take off the top housing (Figure 5)
- Attach the blades to the fan motor assembly by aligning the notches on the blades with alignment post on the flywheel and put the blade on to the flywheel, secure with screws and tighten it. Repeat these steps for remaining blades. (Figure 6)
- Put the top housing onto the fan motor assembly secure with the screws and tighten it .(Figure 7)
- Make sure all the screws are firmly tightened.
Hanging the Fan
REMEMBER to turn off the power. Follow the steps below to hang your fan properly.
NOTE: This fan is recommended for standard ceiling mount using the downrod provided with this fan. When using standard ceiling installation with the 6 inch downrod provided, the distance from the ceiling to the bottom of the fan blades will be approximately 11 inches
Standard Ceiling Mounting
- Remove the canopy ring from the canopy by turning the ring counter-clockwise until it unlocks. (Figure 8)
- Remove the mounting bracket from the canopy by loosening the four screws on the top of the canopy. Remove the two non-slotted screws and loosen the slotted screws. This will enable you to remove the mounting bracket. (Figure 9)
- Remove the hanger pin and locking pin from downrod assembly.
- Place downrod over canopy and canopy ring ,slide the motor collar cover onto the downrod. Connect the extension lead wires to the lead wires from motor. Make sure the quick connectors are clasped firmly. Route the wires through the ball/down rod assembly. (Figure 1)

- Loosen, but do not remove, the set screws on the collar on the top of the motor housing.
- Align the holes at the bottom of the downrod with the holes in the collar on top of the motor housing. (Figure 10)
Carefully insert the hanger pin through the holes in the collar and downrod. Be careful not to jam the hanger pin against the wiring inside the downrod. Insert the locking pin through the hole near the end of the bolt until it snaps into its locked position, as noted in the circle inset of Figure - Re-tighten the set screws on the collar on top of the motor housing.
- Make sure the grommet is properly installed in the collar cover, then slide the collar cover on the downrod until it rests on the motor housing. Be sure that the canopy and the collar cover are both oriented correctly.
- Proceed to “Installing the Fan” section.
WARNING
FAILURE TO PROPERLY INSTALL SET SCREWS AS NOTED IN STEP 7 COULD RESULT IN FAN LOOSENING AND POSSIBLY FALLING.

Installing Fan to the Electrical Box
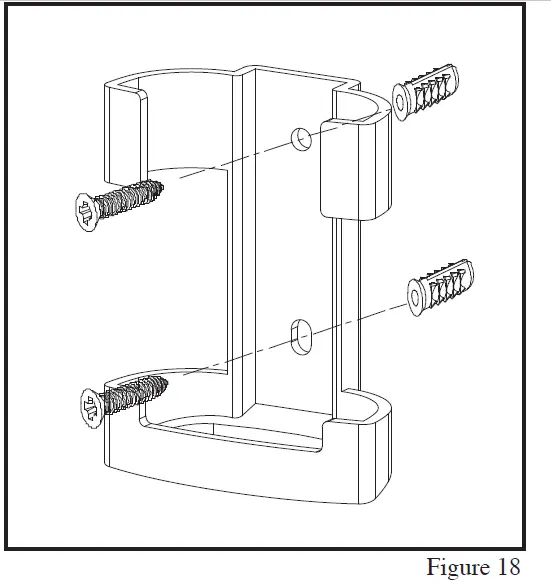
- Pass the 120-volt supply wires through the center hole in the ceiling mounting bracket as shown in Figure 11.
- Install the ceiling mounting bracket on the electrical box by using the mounting screws provided with the electrical box. Note that the flat side of the mounting bracket is toward the electrical box. (Figure 11)
- Tighten the two screws on the electrical box securely.
- Carefully lift the fan assembly up to the ceiling mounting bracket. Make sure the tab on the mounting bracket is properly seated in the groove in the hanger ball. (Figure12)

Installing the Receiver into the Mounting Bracket
- Position the house supply wires to one side of the slide-on mounting bracket; position the fan wires to the opposite side.
- Insert the narrow end of the receiver (as shown, flat side toward ceiling) into the slide-on mounting bracket until it rests on top of the ball/downrod assembly. (Figure 13)

Wiring the Receiver to the Household Wiring
- Connect the green wire to the household ground wires using a wire connecting nut.
- Connect the receiver black wire to the household black wire using a wire connecting nut.
- Connect the receiver white wire to the household white wire using a wire connecting nut.
Wiring the Fan to the Receiver
- If using the 6 in. ball downrod assembly provided, wire the receiver to the fan wires by connecting the molded adaptor plug from this receiver with the molded adaptor of the fan motor assembly together. (Figure 14)
- If you wish to use longer downrod, you can use the extension lead wire (66 in.) provided by connecting the molded adaptors together.

Finishing the Fan Installation
STANDARD CEILING MOUNTING
- Align the locking slots of the ceiling canopy with the two screws in the mounting plate. Push up to engage the slots and turn clockwise to lock in place. Immediately tighten the two mounting screws firmly.
- Install the remaining two mounting screws into the holes in the canopy and tighten firmly.
- Install the decorative canopy ring by aligning the ring’s slots with the screws in the canopy. Rotate the ring clockwise to lock in place. (Figure 15)

Blade Balancing
All blades are grouped by weight. Because materials vary in density, the fan may wobble even though the blades are weight matched. The following procedure should correct most fan wobble. Check after each step
- Check that all blade screws are secure.
- Most fan wobble problems are caused when blade levels are unequal. Check this level by selecting a point on the ceiling above the tip of one of the blades. Measure from a point on the center of each blade to the point on the ceiling. Measure this distance as shown in Figure 16. Rotate the fan until the next blade is positioned for measurement. Repeat for each blade. Measurements deviation should be within 1/8”. Run the fan for 10 minutes.
- Make sure that canopy is tightened securely to ceiling mounting bracket and that the ceiling mounting bracket is tightened securely to the electrical box.
- Interchanging two adjacent blades can redistribute the weight and possibly result in the smoother operation.
- Use the enclosed Blade Balancing Kit if the blade wobble is still noticeable.

Preparing the Remote Control
NOTE: The remote control has already been paired to the ceiling fan for your convenience. If you have two of the same model fans in your home , please follow the steps below to control each fan independently.
- Remove the battery cover by pressing firmly on the arrow and sliding the cover off.
- Install two 1.5V AAA batteries (included).
- Slide the dip switch in the battery compartment to the “1” setting.
- Confirm that the power to the fan is off at either the wall switch or breaker box.
- Return power to the fan at the wall switch or breaker box.
- Press and release the “Learn” button located in the remote’s battery compartment within 30 seconds of turning on the power.
- If pairing is successful, the fan’s light kit will flash and the blades will begin to spin.
- Replace the battery cover on the remote control.

Mounting the remote control holder
NOTE: Screw wall anchors are included for extra support. The included screws are designed to screw easily into the wall. If you would like a more permanent or secure hold, install the wall anchors prior to attaching the wall cradle to the wall.
- Position the wall cradle in the desired position and attach it to the wall using the included wall cradle screws.

Remote Control
Timer:
While the fan is on press 2h – turns on a 2 hour run timer.
While the fan is on press 4h – turns on a 4 hour run timer.
While the fan is on press 8h – turns on a 8 hour run timer.
Comfort Breeze (speeds 1-3):
Press and release this button to enable the Breeze function, this will change your fan speed randomly (between speeds 1-3), simulating a relaxing breeze.
Comfort Breeze (speeds 4-6):
Press and release this button to enable the Breeze function, this will change your fan speed randomly (between speeds 4-6), simulating a relaxing breeze.
Fan speed:
Press and release 1: turns the fan speed to 1.
Press and release 2: turns the fan speed to 2.
Press and release 3: turns the fan speed to 3.
Press and release 4: turns the fan speed to 4.
Press and release 5: turns the fan speed to 5.
Press and release 6: turns the fan speed to 6.
Summer Mode – (Forward):
Changes direction of ceiling fan forward.
Winter Mode – (Reverse):
Changes direction of ceiling fan to reverse.
Power:
Turns fan On/Off.

Warm weather – (Forward) A downward air flow creates a cooling effect as shown in Figure 20. This allows you to set your air conditioner on a higher setting without affecting your comfort.
Cool weather – (Reverse) An upward air flow moves warm air off the ceiling are as shown in Figure 21. This allows you to set your heating unit on a lower setting without affecting your comfort.

Care of Your Fan
Here are some suggestions to help you maintain your fan.
- Because of the fan’s natural movement, some connections may become loose. Check the support connections, brackets, and blade attachments twice a year. Make sure they are secure. (It is not necessary to remove fan from ceiling.)
- Clean your fan periodically to help maintain its new appearance over the years. Do not use water when cleaning, this could damage the motor, or possibly cause an electrical shock. Use only a soft brush or lint-free cloth to avoid scratching the finish. The plating is sealed with a lacquer to minimize discoloration or tarnishing. Warning – Make sure the power is off before cleaning your fan.
- You can apply a light coat of furniture polish to the wood for additional protection and enhanced beauty. Cover small scratches with a light application of shoe polish.
- There is no need to oil your fan. The motor has permanently lubricated sealed ball bearings
Troubleshooting
Fan will not start
- Check main and branch circuit fuses or breakers
- Check line wire connections to the fan and switch wire connections in the switch housing. CAUTION: Make sure main power is off.
- Check batteries in the transmitter. Does the red LED light come on? Are you standing close enough to the fan? (Normal range is 10-20 feet.) Are the dip switch settings the same on the transmitter (hand unit) and receiver? REMEMBER TO TURN OFF POWER SUPPLY BEFORE CHECKING THE DIP SWITCH SETTINGS IN RECEIVER.
Fan sounds noisy
- Make sure all motor housing screws are snug.
- Make sure the screws that attach the fan blade bracket to the motor hub are tight.
- Make sure wire nut connections are not rattling against each other or the interior wall of the switch housing.
CAUTION: Make sure power is off. - Allow a 24-hour “breaking in” period. Most noises associated with a new fan disappear during this time.
- If using the Ceiling Fan light kit, make sure the screws securing the glassware are tight. Check that the light bulb is also secure.
- Make sure the canopy is a short distance from the ceiling. It should not touch the ceiling.
- Make sure your electrical box is secure and rubber isolator pads were used between the mounting bracket and electrical box.
Specifications

This equipment has been tested and found to comply with the limits for a Class B digital device, pursuant to Part 15 of the FCC Rules. These limits are designed to provide reasonable protection against harmful interference in a residential installation. This equipment generates, uses and can radiate radio frequency energy and, if not installed and used in accordance with the instructions, may cause harmful interference to radio communications.
However, there is no guarantee that interference will not occur in a particular installation. If this equipment does cause harmful interference to radio or television reception, which can be determined by turning the equipment off and on, the user is encouraged to try to correct the interference by one or more of the following measures:
- Reorient or relocate the receiving antenna.
- Increase the separation between the equipment and receiver.
- Connect the equipment into an outlet on a circuit different from that to which the receiver is connected.
- Consult the dealer or an experienced radio/TV technician for help.
CAUTION:
Any changes or modifications not expressly approved by the grantee of this device could void the user’s authority to operate the equipment. This device complies with Part 15 of the FCC Rules. Operation is subject to the following two conditions: (1) This device may not cause harmful interference, and (2) this device must accept any interference received, including interference that may cause undesired operation.



















