SEACHOICE 50-52041 Electric Marine Jack 1500-LB Capacity

WARNING
Read carefully and understand all ASSEMBLY AND OPERATION INSTRUCTIONS before operating. Failure to follow the safety rules and other basic safety precautions may result in serious personal injury.
SAVE THESE INSTRUCTIONS
Item# 50-52041
INTENDED USE
- This Electric Marine Swivel Jack attaches to the side of straight trailer tongue of a boat, power sport or equipment trailer. The swivel trailer jack allows the user to move level and hitch the trailer with ease. It swivels to a horizontal position during transportation.
- The 7-way connector plugs into your vehicle connector to let you lift or lower the jack with the push of a button, no hard wiring required.
- The plastic connector storage bracket holds your 7-Way connector firmly in place to protect from weather, dirt and damage.
- Your jack is equipped with a new one-piece Industrial design cover increasing waterproof coverage. Improved LEDs lights illuminate area in front of jack for superior nighttime visibility.
TECHNICAL SPECIFICATIONS
| Property | Specification |
| Item# | 50-52041 |
| Type | 12V DC |
| Lift Capacity (lbs.) | 1,500 |
| Support Capacity (lbs.) | 2,250 |
| Clearance: Bracket to Jack Top (in.) | 18 |
| Length of Travel (in.) | 10 |
| Length Retracted (in.) | 15 (Measured from ground to center of mounting point) |
| Length Extended (in.) | 25 (Measured from ground to center of mounting point) |
| Jack Tube Size (in.) | 2 |
| Crank Type | Includes manual crank handle |
| Ground Support | Plastic Wheel |
| Mount Type | Swivel mounting plate |
| Construction | Steel |
| Mount Type | Fits 2in. mounting holes |
| Mount Height (in.) | 15 |
Tools and Components Required
- Two Brackets (included)
- Four M10 Lock nut (included)
- Four Flat Washers (included)
- Four M 10 x 100 Hex bolts (included}
- 9/16in. Wrench (owner supplied, not included)
- Torque Wrench (owner supplied, not included)
- Wire Cutters (owner supplied, not included}
- Wire Strippers (owner supplied, not included)
- Crimpers or Soldering Iron (owner supplied, not included)
GENERAL SAFETY RULES
WARNING
- Read and understand all instructions. Failure to follow all instructions listed below may result in serious injury.
- The warnings, cautions, and instructions discussed in this instruction manual cannot cover all possible conditions or situations that could occur. It must be understood by the operator that common sense and caution are factors which cannot be built into this product, but must be supplied by the operator.
IMPORTANT SAFETY CONSIDERATIONS
CAUTION
- Do not allow persons to operate or assemble this electric jack until they have read this manual and have developed a thorough understanding of how the electric jack works.
JACK USE AND CARE
- Do not modify the jack in any way. Unauthorized modification may impair the function and/or safety and could affect the life of the equipment. There are specific applications for which the jack was designed.
- Always check for damaged or worn out parts before using the jack. Broken parts will affect the jack operation. Replace or repair damaged or worn parts immediately.
- Store idle jack. When jack is not in use, store it in a secure place out of the reach of children. Inspect it for good working condition prior to storage and before re-use.
- Disconnect the battery from the trailer jack if it does not require power for several days. This will prevent the battery from discharging.
- Do not force the trailer jack. Do not attempt to lift more than the maximum lifting capacity of 1500-lb.
- This Marine electric trailer jack has been designed to attach to the side of a straight tongue trailer.
- Never attempt to adjust the footpad or solid caster when there is any load on the jack. When using the footpad or solid caster, make certain the supplied pin is fully inserted through both sides of the inner tube and the drop tube before using the jack.
Main Parts of Trailer Jack
| Reference | Subassembly |
| 1 | Hand Crank Handle |
| 2 | Light Switch |
| 3 | Extend / Retract Motor Switch |
| 4 | Connector Storaqe Bracket |
| 5 | Bracket |
| 6 | M10 Lock nut |
| 7 | Flat Washer |
| 8 | M10 x 100 Hex bolts |
| 9 | Plastic Wheel |
| 10 | 7-wav connector |

INSTALLATION INSTRUCTIONS
Before installation, compare the lift capacity of the electrical jack with your trailer to ensure safe operation of the jack.
- Park the trailer on a level surface, block the tires of the trailer and support trailer tongue.
- This Marine electric trailer jack has been designed to attach to the side of a straight tongue trailer.
- Disconnect the trailer battery ground trailer.
- Place the trailer jack against the tongue and position the swivel plate on the opposite side of the tongue.
- Align the holes in the mounting bracket with holes in the swivel plate.
- Insert the 4 bolts through the mounting bracket and swivel plate. Push bolts through the top and bottom bolt holes on the right side.
- Slide a mounting plate over both bolt ends on the right side. Secure with locknuts, torque to 25 ft. lbs.
- Repeat with a mounting plate on the left side.
- Adjust the jack’s position if necessary. The swivel plate should be square with the trailer tongue.
- Tighten each nut evenly to secure the trailer jack in place.
- Connect the unit. Wire lead from the jack directly to the positive (+) terminal of the battery. This unit has a built-in circuit breaker which automatically trips and resets. Reconnect the battery ground cable.-This includes a 7-way connector; just simply connect the 7-pin connector to the towing vehicle, no hard wiring required.
- Check for proper installation, by pressing the motor switch UP for extending the jack and DOWN for retracting the jack. Also check that the light switch turns on the LED light situated under the top cover of the jack.
WARNING
- When using an extension wire, DO NOT use a wire smaller than #10 gauge.
OPERATION
- Park the trailer on a level surface and block the wheels.
+Tip: For nighttime hookups, turn the light switch (#2) ON to illuminate your work area. - Twist the swivel trailer jack until it is vertical. Move the jack back and forth until lock the swivel trailer jack unto position.
WARNING
Do not stack blocks under the jack’s foot to increase the height. Stacked blocks may become unstable and fall. - Extend the jack by pushing the operating switch (#3) UP.
Note: Under heavy use, the internal circuit breaker may open, causing the motor to switch off. In this case, release the operating switch, and wait 15 seconds for the breaker to reset before resuming operation. - Retract the jack by pushing the operating switch (#3) DOWN.
Note: The jack will stop automatically at the end of the extension or retraction stroke. If you attempt to extend or retract the jack and it does not respond, it may be at the end of the stroke. If the jack fails to respond, try operating it in the opposite direction. If it will not operate in either direction refer to the troubleshooting guide. - After checking for proper operation, then that it swivels and locks into the horizontal position.
Troubleshooting
Refer to below troubleshooting guide if the device does not function properly or parts are missing. If unable to do so, have a qualified technician service the device.
| Failure | Possible Cause | Corrective Action | ||||||
|
Motor will not operate |
No or low voltage | Check battery & electrical connections. Must have minimum of 10 VDC. If the battery is low, plug the trailer cable into the tow vehicle, and start the tow vehicle to provide power to the jack. | ||||||
|
Poor Ground | Clean area between the jack mounting plate and coupler, and ensure paint has been removed by the star washers. Direct metal-to-metal contact must exist between mounting components to ensure good electrical contact. | |||||||
| Open Manual Reset Circuit Breaker | Reset the breaker by pressing the button on the breaker. | |
| Loose wires on ON/OFF switch | Secure wire connections | |
| ON/OFF switch faulty | Replace switch | |
| Light doesn’t work | Loose wires on the ON/OFF switch | Secure wire connection |
| Bad light bulb | Replace bulb. |
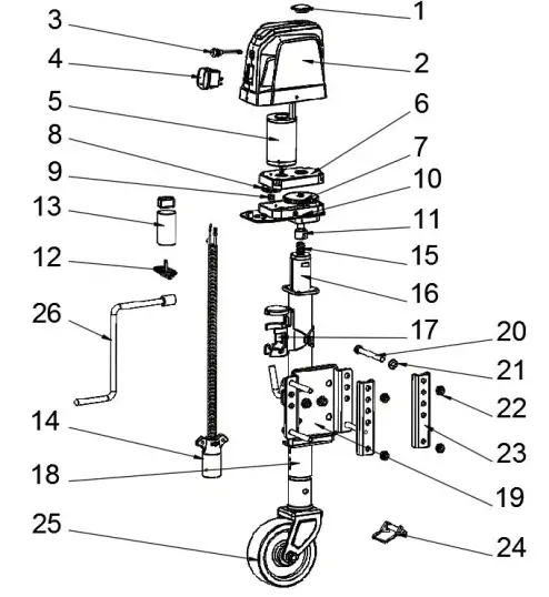
ENLARGED ELECTRIC JACK PARTS VIEW
PARTS LIST
| Part Number | Part Description | Qty. |
| 1 | Crank Rubber Lid | 1 |
| 2 | Plastic Housing | 1 |
| 3 | LED Light Switch | 1 |
| 4 | Extend / Retract Motor Switch | 1 |
| 5-10 | Gear Motor box assembly | 1 |
| 11 | Drive Shaft | 1 |
| 12 | LED Light | 1 |
| 13 | 12A Automatic Thermal Protection | 1 |
| 14 | 7-Way Connector | 1 |
| 15 | ACME Screw | 1 |
| 16 | Inner Tube | 1 |
| 17 | Plastic Connector Storage Bracket | 1 |
| 18 | Outer Tube | 1 |
| 19 | Swivel Mounting Plate | 1 |
| 20 | M10 x 100 Hex bolts | 4 |
| 21 | Flat Washers | 4 |
| 22 | M10 Lock nut | 4 |
| 23 | Bracket | 2 |
| 24 | Lock Pin | 1 |
| 25 | Plastic Wheel | 1 |
| 26 | Hand Crank Handle | 1 |
Limited 1 year Warranty
We makes every effort to assure that this product meets high quality and durability standards, and warrants to the original purchaser that this product is free from defects in materials and workmanship for the period of one years from the date of manufacture, provided that installation and use of the product is in accordance with product instructions.
This warranty does not apply to damage due directly or indirectly, to misuse, abuse, negligence or accidents, repairs or alterations outside our facilities, criminal activity, improper installation, normal wear and tear, or to lack of maintenance. We shall in no event be liable for death, injuries to persons or property, or for incidental, contingent, special or consequential damages arising from the use of our product. Some states do not allow the exclusion or limitation of incidental or consequential damages, so the above limitation of exclusion may not apply to you. THIS WARRANTY IS EXPRESSLY IN LIEU OF ALL OTHER WARRANTIES, EXPRESS OR IMPLIED, INCLUDING THE WARRANTIES OF MERCHANTABILITY AND FITNESS.




















