tp-link Tapo C720 Smart Floodlight Camera User Guide
Before You Start
WARNING: Risk of Electric Shocks
- Disconnect power at the fuse or circuit breaker before installing.
- Verify that the power supply voltage is correct. Connect fixture to a 110-240 VAC 50/60 Hz power source.
- Always follow code standards when installing wired connections.
- Install only on a UL-listed junction box or on a wall with a Neutral wire and a Line wire.
- An all-pole mains switch shall be incorporated in the electrical installation of the building. And the contact separation of the switch shall not be less than 3 mm.
- You can always find detailed wiring and mounting instructions in the Tapo app.
If you are unfamiliar with basic electrical wiring, please consult a licensed electrician.
NOTICE
- Do not install near combustible or flammable surfaces.
- Do not connect this light fixture to a dimmer switch or timer
Mounting Options
You can mount your Tapo floodlight camera vertically on a wall or overhang under an eave. Make sure the area has a strong Wi-Fi signal.

Connect Wires and Install Floodlight Camera
*Wire colors vary by region. If you are unfamiliar with basic electrical wiring, please consult a licensed electrician.
Take care to avoid electric shocks.
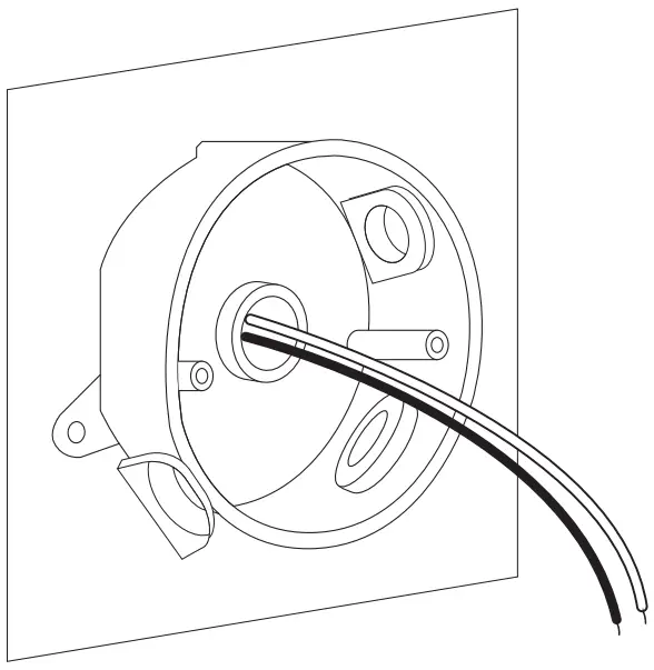
Option 1: Install on an existing junction box
The floodlight camera can be mounted on a junction box on a wall or under an eave.
- Turn off the circuit breaker. Make sure the power is off by turning your light on and off a few times.
Take care to avoid electric shocks.
- Remove the existing floodlight camera and disconnect wires from the junction box.

- Route the wires through the bracket.

- Connect the Neutral wire (usually white/blue) and the Line wire (usually black/brown/red) to the bracket. Secure the wires with a screwdriver.
Note: To identify wire colors, you can refer to
https://www.tp-link.com/support/faq/3474/
- Attach the bracket to the junction box with screws.

- Align the mounting posts on the bracket with the holes on the floodlight camera.
Secure the floodlight camera to the bracket with screws and insert the screw caps into the screw holes.
- Adjust the camera and light position to the desired angles.

- Turn on the circuit breaker.
Option 2: Install with existing electrical wires
Install where the Neutral wire and Line wire are available.
- Turn off the circuit breaker. Make sure the power is off by turning your light on and off a few times.

- Route the wires through the mounting template and place the template. Drill two holes where indicated.

- Route the wires through the bracket.

- Connect the Neutral wire (usually white/blue) and the Line wire (usually black/brown/red) to the bracket. Secure the wires with a screwdriver.
Note: To identify wire colors, you can refer to
https://www.tp-link.com/support/faq/3474/
- Use the screws to affix the bracket over the anchors.

- Align the mounting posts on the bracket with the holes on the floodlight camera.
Secure the floodlight camera to the bracket with screws and insert the screw caps into the screw holes.
- Adjust the camera and light position to the desired angles.

- Turn on the circuit breaker.
Set Up Floodlight Camera
- DOWNLOAD APP
Get the Tapo app from the App Store or Google Play.



- SET UP CAMERA
Tap the button in the app and select your model. Follow the app instructions to set up your floodlight camera.
Appearance
Front
- Floodlights
- Camera Lens
- System LED
- Motion Sensor
- Light Sensor
- Microphone
Side
- Speaker
- Reset button
- Camera Adjustment Knob
- microSD Card Slot
RESET Button
While the camera is powered on, press and hold the RESET button for at least 5 seconds until the System LED blinks red. The camera will reset and reboot.
microSD Card Slot
Loosen the screws and insert a microSD card. Initialize it on the Tapo app for local recording. *microSD card not included.
System LED Indication
| Solid red | Starting up |
| Blinking red and green | Ready for setup |
| Blinking red slowly | Connecting to Wi-Fi |
| Solid amber | Connected to Wi-Fi |
| Solid green | Connected to TP-Link cloud server |
| Blinking red quickly | Camera resetting |
| Blinking green quickly | Camera updating |
FAQ (Frequently Asked Questions)
Q1: How can I identify the wires?
A: Wire colors vary by region. The Neutral wire is usually white/blue, while the Line wire is usually black/brown/red.
You can refer to https://www.tp-link.com/support/faq/3474/ for detailed information.
If you are unfamiliar with basic electrical wiring, please consult a licensed electrician.
Q2: What can I do if my floodlight camera cannot power on after wiring?
A1: Make sure you have turned on the circuit breaker.
A2: Check if the System LED is on. If it is off, turn off the circuit
breaker and check the wiring.
A3: Refer to https://www.tp-link.com/support/faq/3475/ for
detailed instructions.
Q3: What if there is no existing junction box or electrical wires?
A: Floodlight cameras require high power supply and should be installed in a location with a weatherproof junction box or electrical wires.
If you do not have a current energy source or are uncomfortable dealing with electrical wiring, have an expert electrician do the job.
- Keep the device away from fire or hot environments. DO NOT immerse in water or any other liquid.
- Do not disassemble, repair or modify the product.
- Do not use the device where wireless devices are not allowed.
- Do not use the product if the casing has been broken. Danger of electric shock.
- Never touch the product with wet hands.
- It is NOT recommended to expose this product to heavy rain or any type of moisture.
- Do not place near automatically controlled devices such as fire alarms. Radio waves emitted from this product may cause such devices to malfunction resulting in an accident.
- Observe restrictions on using wireless products in fuel depots, chemical plants or when blasting operations are in progress.
- Do not use liquid to clean the product. Only use a dry cloth.
- Never put metal objects inside the product. If a metal object enters the product turn off the circuit breaker and contact an authorised electrician.
- This product is not intended to be used when providing medical care. Consult the manufacturer of any personal medical devices, such as pacemakers or hearing aids to determine if they are adequality shielded from external RF (radio frequency) energy.
- Do not use this product in health care facilities. Hospitals or health care facilities may be using equipment that could be sensitive to external RF energy.
- The product should be kept free from excessive smoke, dust or high temperature and vibration.
- Avoid direct sunlight for better performance.
- Do not place heavy objects on top of the product.
- This product may interfere with other electronic products such as TV, radios, personal computers, phones or other wireless devices.
- Operating Temperature: -20 °C ~ 45°C (-4°F ~ 113°F)
Please read and follow the above safety information when operating the device. We cannot guarantee that no accidents or damage will occur due to improper use of the device.
Please use this product with care and operate at your own risk.
TP-Link hereby declares that the device is in compliance with the essential requirements and other relevant provisions of directives 2014/53/EU, 2009/125/EC, 2011/65/EU and (EU) 2015/863.
The original EU declaration of conformity may be found at
https://www.tapo.com/en/support/ce/
TP-Link hereby declares that the device is in compliance with the essential requirements and other relevant provisions of the Radio Equipment Regulations 2017. The original UK declaration of conformity may be found at
https://www.tapo.com/support/ukca/![]()
Need some help?
Visit https://www.tapo.com/support/ for technical support, the user guide, FAQs, warranty & more








































