BLUARIAP True Wireless Stereo

Dual-ear mode: Initial use of headsets
When using the headsets for the first time, take the left and right headsets out of the charging box, remove the film, and put the two headsets back to the charging box. The blue indicators of the two headsets are on, and the headsets are activated.
Basic Operations
Auto power-on/off: When the headset is taken out of the charging box, the headset is automatically powered on and the TWS connection is successfully established, accompanied by a voice prompt. The headset will be automatically powered off if pairing is not completed in 3 minutes. When the headset is put into the charging box, the headset is automatically powered off and enters the charging state, accompanied by a voice prompt.
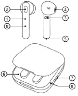
Product overview
- Headsets
- Multifunction key
- Charging contacts
- Sound hole
- Microphone
- Charging box
- Charging interface
- Indicator light

Connection
When taken out from the charging base, the headsets are automatically powered on, and enters pairing status. Search for the pairing target name on your mobile phone, tap Connect, and an electronic prompt tone rings.

Apparel
Please follow the diagram to penetrate the earphone into the ear, press the R<> right ear and LRR<> ear correspondence. Please rotate the headset slightly and adjust to a comfortable angle to ensure that the headset is stable and tight to prevent the headset from falling off.

- Hang-up: During a call, press the MFB button on the left/right channel headphone once. A beep is prompted.
- Rejecting a call: When a call comes in, double press the MFB button on the left/right channel headphone. A beep is prompted.
- Audio transfer: During a call, long press the MFB button on the left/right channel headphone, and release until a beep is prompted. Repeat this operation to transfer the audio between your phone and headset.
- Answering a call: When a call comes in, press the MFB button on the left/right channel headphone once.
Auto redial: In standby or music state, double-click the MFB key on the left or right headset. The auto redial function is enabled, accompanied by a “Beep” sound. Click the MFB key again. The redial function is canceled, accompanied by a “Beep” sound. - Music playing/pausing: When the headset is playing music, press the MFB button on the left/right channel headphone once to pause. Repeat this operation to restart playing.
- Automatic re-connection: After the earphone are powered on, they are actively re-connected to the last paired one devices.
- Three-way call: During a call, if another call comes in, – Press the MFB button on the left/right channel headphone once to hang up the current call and answer the incoming call. – Double press the MFB button on the left/right channel headphone to keep the current call (A) and answer the incoming call (B). Double press the MFB button again to switch between calls A and B. – During a three-party call, press the MFB button on the left/right channel headphone once to hang up the current call.
- iOS battery level display: After the earphone is connected to the iOS, the battery level of the earphone can be displayed.
- Power-off: Press MFB for about 5s (After the TWS pairing mode is completed, any earphone is powered off, the other earphone is powered off at the same time), accompanied by a “Power-off” voice prompt, If the headset is not connected to the mobile phone, both earpieces will be powered off; if the headset is connected to the mobile phone, only one earpiece will be powered off.
- Enabling/Disabling voice control: In standby or music state, press and hold the MFB key on the left or right headset for about 2 second. The voice control function is enabled, accompanied by a “Beep” sound. You can repeat this operation to disable the voice control function.
- Anti-lost alarm: When the headset is far away from you or is abnormally disconnected, a voice prompt can be heard. 5 minutes later, the headset will be automatically powered off.
Charger and Battery
Before using any charger to charge this earphone, check whether the specifications of the charger meet requirements. The recommended output voltage of the charger is DC5V+/-0.25V, and the recommended output current is 100 mA to 500 mA. An over-high charging voltage may damage the earphone.
Warning:
Use the recommended charger whenever possible. Use of other types of chargers may violate the warranty terms of the equipment and results in danger. If the charging cable is delivered with the earphone, connect the cable to a CCC-certified charger or computer to charge the earphone.
Charging the Battery
The earphone use embedded charging battery that cannot be removed. Do not attempt to remove the battery from the earphone or the charging box; otherwise, the earphone may be damaged. If the earphone is not used in a long time, keep it in a cool and well-ventilated place, and charge the earphone once every two months.
- When the LED indicator connected earphone flash red with a voice “please charge”, put the earphone into the charging box. Otherwise the earphone will power off automatically.
- If both the earphone and charging box are out of power, insert the cable of the charger into the Micro-USB port on the charging box, and plug the charger into the AC socket. The charging box and earphone will be charged simultaneously.
- The earphone is charged through two metal contacts during charging in the box, and the indicator blinks blue while charging. The full charge takes about two hours. The indicator goes off when the earphone is fully charged. Then you can take out your earphone for use. When the charging box is being charged, the four indicators blink blue in sequence. The full charge takes about two hours. The four indicators become steady blue when the charging box is fully charged. Then you can disconnect the charger from the socket and charging box.
- A fully charged battery of earphone can provide about 3hours of talk time, or 70 hours of standby time. The actual talk time and standby time may vary with cell phones, settings, use methods, and environment.
FCC Caution
This device complies with part 15 of the FCC Rules. Operation is subject to the following two conditions:
- This device may not cause harmful interference, and
- this device must accept any interference received, including interference that may cause undesired operation.
Any Changes or modifications not expressly approved by the party responsible for compliance could void the user’s authority to operate the equipment.
Note: This equipment has been tested and found to comply with the limits for a Class B digital device, pursuant to part 15 of the FCC Rules. These limits are designed to provide reasonable protection against harmful interference in a residential installation. This equipment generates uses and can radiate radio frequency energy and, if not installed and used in accordance with the instructions, may cause harmful interference to radio communications.
However, there is no guarantee that interference will not occur in a particular installation. If this equipment does cause harmful interference to radio or television reception, which can be determined by turning the equipment off and on, the user is encouraged to try to correct the interference by one or more of the following measures:
- Reorient or relocate the receiving antenna.
- Increase the separation between the equipment and receiver.
- Connect the equipment into an outlet on a circuit different from that to which the receiver is connected.
- Consult the dealer or an experienced radio/TV technician for help.
The device has been evaluated to meet general RF exposure requirement. The device can be used in portable exposure condition without restriction.



















