contacta STS-K035 Speech Transfer System
Contacta has a policy of continuous product development, and therefore small specification changes may not be reflected in this manual. Images, labels, packaging, accessories and product colours are subject to change without notice.
Product Overview
Speech transfer systems provide assistance for clear communication where normal speech is impaired by use of glass, a security screen or other similar barriers.
There is a hearing loop facility included, providing additional assistance for hearing device wearers.
Components
General Components
- Installation and User Manual
- Amplifier
- Hearing Loop Sticker
- IEC Lead
- Power Supply
- Hearing Loop Aerial
- Mounting Bracket

Fixing Kit:
- Adhesive Clip x 10
- No.6 x 1/2” Countersunk Screws x 15
- P-Clips x 6
Speaker & Microphone Components
There will also be one of the following speaker and microphone kits:
- Bridge Bar Kit (see page 4)
- Surface Mounted Kit (see page 4)
- Flush Mounted Kit (see page 5)
- Slimline Bridge Bar Kit (see page 5)
- Curved Microphone Kit (see page 6)
- Dual Overhead Speaker Kit (see page 6)
Speaker and Microphone Kits
Bridge Bar Kit – STS-K001L-G/B
(For installation see page 9)
- Staff Microphone
- Bridge Bar

Surface Mounted Kit – STS-K002L-G/B
(For installation see page 11)
- Staff Microphone
- Surface Mounted Speaker and Microphone

Flush Mounted Kit – STS-K003L
(For installation see page 12)
- Staff Microphone
- Flush Speakers and Microphone

Slimline Bridge Bar Kit – STS-K060
(For installation see page 14)
- Staff Microphone
- Slimline Bridge Bar

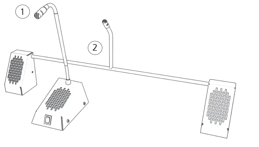
Curved Microphone Kit
STS-K035-B/B-RH/G-RH/G-LH
(For installation see page 16)
- Staff Microphone
- Curved Speaker and Microphone

Dual Overhead Speaker Kit – STS-K015-01
(For installation see page 17)
- Staff Microphone
- Recessed Bridge Bar
- Dual Overhead Speakers

Installation Instructions
We recommend that installation is carried out by a qualified engineer, adhering to relevant standards.
Check the contents of the box to familiarise yourself with the components.
The staff microphone and amplifier should be installed on the staff side of the counter. The customer speaker and microphone kits should be installed on the customer side of the counter.
Follow all relevant instructions in the following order:
- Speaker & Microphone Kit Installation.
- a. Staff Side Installation (see page 8).
- b. Customer Side Installation (see page 9).
- Hearing Loop Installation (see page 18).
- Amplifier Setup (see page 19).
- Using the System (see page 21).
Recommended Tools
A basic toolkit recommended to install the system will include:
- Screwdrivers (Flat or Blade 2.5mm and Phillips Head PH2)
- Battery or Mains Drill
- Drillbits: 2mm, 3mm, 5mm and 7mm
- Allen Key Set
- Cable Tacking Gun (10mm)
- Wire Cutters/Strippers
- Pliers
- Tape Measure
- Pencil or Marker Pen
- Torch
- Cable Ties
- Electrical Insulation Tape
- Trunking
There may be a need for a router when installing the Flush Mounted Kit, and a hacksaw for the Bridge Bar Kit or Slimline Bridge Bar Kit.
Speaker & Microphone Kit Installation
Staff Side Installation 
- Place the staff microphone on the staff side of the counter top, ensuring that it does not cause an obstruction and is as close to staff as possible.
- Place the amplifier under the staff counter, ensuring that it will not obstruct staff when they are sitting.
- Mark the four fixing points for the amplifier under the counter.
- Drill and fix the amplifier in place using the supplied screws.
- Use the cable management hole in the counter to run the staff microphone cable back to the amplifier. If there is not already a cable management hole, drill in a suitable location near the rear of the counter.
- Install the amplifier’s power supply close to a power socket outlet using the supplied mounting bracket and fixing screws.
Amplifier Connections
After all relevant components have been installed, connect all green plugs to the sockets at the rear of the amplifier following the layout detailed below. 
If removing any green connectors for feeding cables through holes, ensure all are refitted at the correct polarity before connection to the amplifier. It is recommended to take photos as a record before taking any cables apart. This is to ensure proper reconnection; incorrect wiring may impact performance.
Customer Side Installation
Bridge Bar Kit
- Place the bridge bar on the counter top in a central location over the pass-through tray.
- Disassemble the speaker pods by undoing the screws and removing the housing.

- If the bridge bar needs to be narrowed, calculate the width required (minimum: 450mm) with the following steps:
- Locate the allen grub screws on the mounting bracket and loosen them to allow the brackets to slide along the tube.
- Slide the brackets inwards until the desired width is obtained. Ensure the microphone stem is an equal distance from both brackets.
- If necessary, use a hacksaw to cut the bridge bar to the counter’s required length. Be careful to avoid any damage to wiring.
- Ensure the brackets are in the desired location and re-tighten the grub screws.
- Place the mounting brackets adjacent to either side of the pass-through. They should be approximately 2-3mm away from the screen.
- Mark the four fixing points and two cable management holes to be drilled.
- Ensure there will be access to retrieve the cables, then drill the holes.
- Fix the speaker pods to the counter and feed the wiring through the cable management holes.
- Refit the housing using the screws previously removed.
- Route all the cabling neatly to the amplifier location on the staff side.

Surface Mounted Kit
- Place the speaker and microphone pods on the customer side of the counter top.
- Disassemble the speaker and microphone pods by undoing the screws and removing the housing.
- Place the mounting brackets adjacent to either side of the pass-through tray, at least 2-3mm away from the screen.
- Mark the four fixing points and two cable holes to be drilled.
- Ensure there will be access to retrieve the cables and drill the holes.

- Fix the speaker and microphone pods to the counter, and feed the wires through the cable management holes.
- Refit the housing with previously removed screws.
- Route all cabling neatly to the amplifier location on the staff side.

Flush Mounted Kit
- Check that there is at least 50mm of free space below the customer side of the counter top for the speaker and microphone pods.
- Ensure there is access to the wiring under the counter once installed.
- Mark the cut-out dimensions in the diagram below onto the counter top twice, adjacent to either side of the pass-through tray. The recommended distance between each cut-out marking is 500mm.

- Use a router to cut out two areas for the flush mounted speaker and microphone pods, routed to a depth of 1.5mm.

- Mark the four fixing points per cut out and drill the holes.
- Run the cables from the pods through the counter top.

- Secure both pods to the counter using the screws provided.
- Route all the cabling neatly to the amplifier location on the staff side.

Slimline Bridge Bar Kit
- Place the bridge bar on the counter top in a central location, positioned over the pass-through tray.
- Disassemble the speaker pods by undoing the screws and removing the housing.
- Place the mounting brackets on the counter top an equal distance to the centre of the pass-through tray.
- Place the stainless steel bridge bar strip between the brackets with each end laying slightly inside the brackets.
- If the bridge bar needs to be narrowed, use a hacksaw to cut it to the required length.
- Mark the four fixing points and two cable management holes to be drilled.

- Ensure there will be access to retrieve the cables and then drill the pilot holes for the fixing screws.
- Test the complete assembly by placing it in its intended position, ensuring it sits flat against the surfaces.
- Place the microphone assembly on the glass screen using the bridge bar strip as a positioning guide, ensuring the microphone stem is vertical.
- Lay the microphone cable in the groove on the back of the bridge bar strip and feed it back to one of the brackets.
- Carefully adhere the bridge bar strip to the screen frame, ensuring the microphone cable stays in its groove.
- Feed the wiring through the cable management holes.
- Refit the housing using the screws previously removed.
- Route all the cabling neatly to the amplifier location on the staff side.

Curved Microphone Kit
- Place the microphone and speaker unit on the customer side of the counter top.
- Disassemble the customer pod by undoing the screws and removing the housing.
- Place the mounting bracket on the counter:
- If the microphone stem curves to the left, place the pod to the right of the pass-through tray; if the stem curves to the right, place it to the left.
- Ensure the microphone is positioned centrally over the pass-through tray.

- Mark the four fixings holes and the cable management hole.
- Ensure there will be access to retrieve the cables and then drill the holes.
- Fix the customer pod to the counter and feed the wiring through the cable hole.
- Refit the housing using the screws previously removed.
- Route all the cabling neatly to the amplifier location on the staff side.

Dual Overhead Speaker Kit
- Install the overhead speakers:
- Find a location on the staff side directly above the pass-through tray. Ensure there is sufficient space and no glass behind the drilling location.

- Check the cable route to the amplifier situated under the counter. Ensure there is access through the counter top and suitable cable length. If neccesary, drill a cable hole through the rear of the counter or extend cables.
- Mark 2x fixing points to attach the overhead speakers.
- Drill pilot holes and attach the speaker bracket assembly using supplied screws.
- Route the cable from the speaker back to the amplifier in a neat and tidy fashion, using cable containment where required.
- Repeat the above steps on the customer side of the counter.
- Find a location on the staff side directly above the pass-through tray. Ensure there is sufficient space and no glass behind the drilling location.
- Position the bridge bar unit on the customer side of the counter top, in a central location over the pass-through tray.
- Ensure the microphone and bridge bar are flat against the screen.
- Mark the 2 fixing points and 1 cable hole ready for drilling.
- Drill fixing points and a cable hole and attach the assembly with the supplied screws.

- Feed wiring through the cable hole back to the amplifier.
- Attach the bridge bar cover using the provided fixing points and screws, carefully avoiding damage to wiring.
Hearing Loop Installation
The aerial should be fixed under the desk-top or counter centrally on the customer side, one half mounted horizontally under the counter and the other half mounted vertically, facing the customer (as in the first scenario below).
Position the aerial under the counter using either the provided P-clips or another fixing method of your choice. See the diagram below for recommended positioning.
A is the optimum layout for a counter hearing loop.
B and C are acceptable only if A is not possible and the layout is aligned so that the magnetic field will be directed towards user’s head heights.
Ensure all hearing loop signage is displayed clearly.
Amplifier Setup
Our amplifier provides full open duplex communication and is compatible with all of our speech transfer systems. It features individual displays for staff or customer adjustments and individual fault lights for easy fault diagnosis
Overview of Front Panel Buttons 
Engineer’s Mode
Before entering engineers mode, cycle the power. To do this either:
- Switch the power off at the wall socket and back on again, or,
- Remove the power connector and re-insert it
To enter engineers mode, simultaneously press and release the following buttons within 20 seconds of cycling the power:
- Settings button
- Volume In increase button
- Volume Out increase button
The on/off and settings buttons in engineers mode operate as follows:
Move to the next setup area
Save and exit engineers mode
Please note:
- Save and exit engineers mode after making any adjustments.
- The amplifier will automatically exit engineers mode without saving if no buttons are pressed for 2 minutes.
Setup Areas
Whilst in engineers mode, there are 3 editable setup areas. You will always enter setup area 1 first. The green Volume In LED bar will flash to indicate which setup area you are in.
Setup Area 1: Maximum Volume Adjustment (LED 1 flashes) 
Setup Area 2: Ducking Adjustment (LED 2 flashes) 
Setup Area 3: Hearing Loop Drive Adjustment (LED 3 flashes) 
If the amplifier does not have a loop attached, turn off the red loop fault LED 8 by adjusting the drive down to off.
Please note:
- If the amplifier detects an error in its settings memory it will restore itself to factory default settings.
Using the System
When powered and in normal operational mode the amplifier will display Volume In LED 1 as steady green.
When the amplifier is switched off using the On/Off button, audio is muted and LEDs are not illuminated; press any button to turn the amplifier on again.
To adjust the staff volume level:
- Press and hold the Volume In (+) or (-) buttons to increase or decrease the level. The corresponding LED bar will show the volume setting.
To adjust the customer volume level: - Press and hold the Volume Out (+) or (-) buttons to increase or decrease the level. The corresponding LED bar will show the volume setting.
For best possible performance:
- Ensure the customer and staff volumes are turned completely down.
- Adjust staff volume (Volume In) to a comfortable level.
- Increase customer volume (Volume Out) until feedback is heard.
- Decrease customer volume (Volume Out) until feedback is just eliminated.
Once you have followed the above steps: 
- The staff microphone is best positioned as close to the staff member as possible.
- Check the amplifier is fully functional by ensuring the red ‘fault’ light is NOT displaying.
If there is insufficient volume even after you have
adjusted the volume controls, enter engineers mode and raise max volume settings. Exit engineers mode and repeat initial setup. The system is now ready to use.
Fault Diagnosis LEDs 
- Volume In LED 8 will stay red if there is a fault with the staff microphone.
- Volume Out LED 8 will stay red if there is a fault with the customer microphone.
- Volume In LED 8 will flash red if there is a fault with the loop (i.e. a broken aerial).
Factory Default Settings
To return the amplifier the factory default settings:
- Unplug the power supply and then reconnect it.
- Press the On/Off button and Volume In (-) button together, then release.
- The Volume In LED bar will have all LEDs illuminated, while the Volume Out LED bar will display the firmware revision number in a fixed pattern of LEDs. This indicates that default settings have been restored.
Troubleshooting
| Symptom | Possible Fault | Action |
| There is no power detected through the amplifier (and there is power at the socket). | 1) Power jack not plugged in or faulty.
2) Plug fuse has blown.
3) Faulty power supply unit.
4) Faulty amplifier. | 1) Check power jack is firmly plugged in.
2) Replace fuse. If it blows again, replace the power supply unit.
3) Replace the power supply unit.
4) Replace amplifier. |
| The red LED is illuminated on front panel. | 1) Constant red LED: Staff or customer microphone fault.
2) Red LED comes on after speech: Induction loop fault. | 1) Ensure microphone is wired correctly and firmly plugged in. Try alternative microphone to ensure port is working.
2) Ensure induction loop connector is wired correctly and firmly plugged in. |
| I can’t hear audio through the induction loop. | 1) Induction loop or microphone is disconnected.
2) Loop tester has a fault. | 1 ) Check instructions for correct connections and, if possible, check the hearing device with a known working hearing loop.
2) Ensure loop tester has a new set of batteries. |
| I can hear interference through speakers (buzzing / whistling / hissing). | 1) Unscreened or poorly earthed third party equipment is being used in close proximity.
2) Internal volume gain set to high.
3) Incorrect power supply being used. | 1) Switch off any third party equipment to identify the source of interference.
2) Access the amplifier engineers mode to adjust the internal settings.
3) Ensure that our grounded power supply unit is connected. |
| Amplifier goes into feedback. | 1) Internal volume gain set to high.
2) Microphone positioned too close to speaker. | 1) Access the amplifier engineers mode to adjust the internal settings.
2) Move the microphone to a location further from the speaker. |
| Unit does not go into power saving mode. | 1) Ambient noise in area is too high. | 1) Switch off any air con systems, desktop fans and or computers to reduce ambient noise. |
If no action is successful please seek assistance from your distributor or a Contacta installer.
Contact your local distributor for further information. www.contacta.co.uk










































