OWNER’S MANUAL
SB37BT
AMPLIFIED SOUND-BAR WITH
BT AND USB PLAYER![]()

![]()
SB37BT
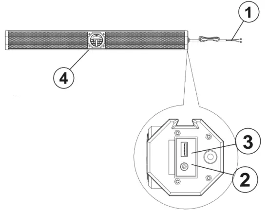
KNOWING YOUR SB37BT

- Main Power Wire
- 3.5mm Aux-Input
- USB Jack
- Control Panel
PACKAGING INCLUDES
1x SB37BT Soundbar
1x Remote Control
3x Tube clamp adjustable 1.5″ to
2.25″ diameter
6x NBR pad
1 set of screws and stop washers
NOTE: The stainless steel hardware supplied with your soundbar has been chosen to resist rust and corrosion. If the particular hardware supplied will not work for your installation purposes, please be sure to use only appropriate marine grade (stainless steel) mounting hardware.
BT OPERATION

PAIRING & DISCOVERING A NEW BT CONNECTION
- Long Press the Power Button 5 until the Soundbar Turns On
- The SB37BT Will automatically go in to paring mode:
ANDROID AND IOS USERS:
A. Go into settings menu of your device
B. Enter the BT Menu
C. Turn On BT and press SCAN
D. “SB37BT” Will now be displayed under AVAILABLE
DEVICES
E. If Prompted, enter pass code: “0000” - If SB37BT is not seen, repeat tha above steps to “refresh” the “device list”
- When the connection is successful, you are now ready to stream music from your favorite media player to the SB37BT
BT STREAMING

MULTIFUNCTION CONTROLLER BT OPERATION
- Use this PLAY/PAUSE button 8 to Play or Pause the music from your device.
- Use this NEXT11 Button to select the next track or song on your playlist.
- Use this PREVIOUS 6 Button once to restart the song that is playing, or press again to go back to the previous song in your playlist.
VOLUME CONTROL
- press the VOL+10 Button to raise the volume or you can also use the volume control on your connected device.
- To lower the volume press7 the VOLUME DOWN button or use your device’s controls
TIPS
For maximum audio performance, depending of your type of music, you can change the EQ presets from your remote control to avoid distortion at hi-level of volume
AUX INPUT

AUX-IN OPERATION
- Long press the Power Button 5 until the Soundbar Turns On
- Use a 3.5mm Jack cable from your device and connect it to the AUX-IN 2 jack connector located behind the rubber cover on one side of the soundbar.
- The AUX mode is activated once the jack connector is in. now you can adjust the volume for your preference and play audio from your device.
TIPS
it is recommended to set the volume at a minimum 75% level before get distortion from your device and only use the volume control from the soundbar as a Master.
USB PLAYER

USB CONTROLS OPERATION
- Long press the Power Button until the Soundbar Turns On
- Insert a USB Flash Drive on the USB Port that is located behind the rubber cover at one side of the soundbar, once inserted the audio files start playing automatically
- Press the PLAY/PAUSE button to Play or Pause the Audio Files from your USB.
- Use this NEXT Button to select the next track or song on your USB playlist.
- Use this PREVIOUS Button once to restart the song that is playing, or press again to go back to the previous song in your USB playlist.
TIPS
The USB Player only Accepts MP3 and WMA Formats, also can be use as a 1 amp charger Port
REMOTE CONTROL

REMOTE CONTROL OPERATION
- Make sure that the battery it is installed and the battery protector has been removed.
- The remote control needs to be pointed to the IR sensor (12) in the Soundbar to operates.
- press the desired function on the remote control: Power ON/OFF (1), Mode (2), EQ presets (3), Next (4), Vol- (5), Play/Pause (6), Vol+ (7), Previous (8), Folder down (9), Folder up (10)

INSTALLATION
READ BEFORE INSTALLATION
- Be sure to carefully read and understand the instructions before attempting to install this soundbar.
- For safety, disconnect the negative battery terminal from the battery prior to beginning the installation.
- For easier assembly, we suggest you have all your tools in hand- Drill, Allen set, Crimp, Soldering iron, Wire Strippers, Heat-shrink, etc.
- Use high-quality “Waterproof’ connectors for a reliable installation and to minimize signal or power loss.
- Think before you drill! Be careful not to cut or drill into gas tank, fuel lines, brake or hydraulic lines, vacuum lines or electrical wiring when working on any vehicle.
- Never run wires near fuel lines or power (if possible). Running the wires inside the hull or car area provides the best protection.
- Avoid running wires over or through sharp edges. Use rubber or plastic grommets to protect any wires routed through metal, especially on the Roll Cage.
- Make sure that the mounting clamp is tight before leaving the Vehicle.

INSTALLATION EQUIPMENT
– 5mm Allen Key
– Wrench Set
INSTALLATION
BEGINNING MOUNTING
Step 1: Remove the soundbar from the packaging and ALL hardware.
Step 2: Find a GOOD location that allows for easy wiring of the Soundbar (Power Wire)-PLUS does NOT impair your movement around the location.
Step 3: Using 5mm Allen Key spin out the screw that holds the top clamp (if was mounted)
Step 4: Use one of the supplied nuts (F) and insert this on the clamp base (E), then slide the clamp base into the soundbar holder channel to the desire location.
Step 5: Take the base clamp (D) and align it to the base clamp (E) hole and secure it with the short screw (C) using a 5mm Allen key.
Step 6: Wrap the rubber pad around the pipe and lock the top clamp (B).
Step 7: Align the Clamp (B) with the base clamp (D) and use the supplied screws (A) to tight down the clamps using a 5mm Allen Key.
Step 8: Do the same procedure on each clamp supplied, you may need an extra help from somebody to hold up the Soundbar during the Clamp installation.
Step 9: Onces you tight very well all screws you can run the Power wire to the battery location, use zip ties to secure the cable away from elements that can damage it. This is it!! enjoy your new SB37BT Soundbar.
IMPORTANT
For water resistance purposes remove any USB or Auxiliary Cables and be sure to put the rubber caps or covers in place before using this soundbar in wet locations or when washing your vehicle.
CAUTION
Using other mounting methods may void this warranty
WIRING INSTALLATION

DIMENSIONS

TROUBLESHOOTING
| TROUBLE | CAUSE | SOLUTION |
| Unit will not turn on | The fuse is blown | Check/Replace the fuse |
| Main acc switch not engaged | Turn switch to on position | |
| No sound is heard | Device volume is low/muted | Turn the volume level up |
| Cannot pair BT | The BT Function of the device is not enabled | Refer to the user manual of the device for how to enable the BT Funtion |
| The audio quality is poor after connection with a BT Enabled device | The BT Reception is Poor | Move the device closer to the audio system or remove any obstacle between the device |
| Unit has become unresponsive | Power glitch or interference | Disconnect power for 10 seconds to reset |
SPECIFICATIONS
Nominal Size …………………………….37.8″ / 960mm
Total Watts (Peak)……………………………..1200 Watts
RMS Power @ 4 ohm ……………………..200 Watts
Max Power @ 4 ohm …………………………..400 Watts
Frequency Response ………………………………….45Hz-20KHz
Storage Temperature ………………5°F ~ 176°F (-15°C ~ 80°C)
Operation Temperature ……………………32°F ~ 140°F (0°C ~ 60°C)
Operation Voltage…………………………………….12 Volts (10~16 Volts Range)
BODY
Marine Grade Type ……………………..IPX5
Body Material………………………………
Grill Type ………………………………..Steel Mesh
Qty on Box ……………………………………………….1 pcs
Clamps …………………………..3 Set (Tube Clamp Adjustable 1.5″ ~ 2.25″)
Front Logo ………………………………………………………………… Yes / Si
RCA Line Out ………………………….. No / No
Aux Line Input ………………………….. Yes, (720mV) / Si, (720mV)
EQ | DSP / EQ | DSP ………………………… 5 Preset EQ (for BT and USB Mode)
Remote Out ……………………………….. No / No
USB Player ………………………… Yes (WMA, MP3 files) / Si (Archivos MP3, WMA)
USB Charge …………………………………………………………… Yes (1Amp)
Buttons………Yes (Power, Mode, Play/Pause,Fwd, Bwd,Vol+/Vol-)
Si (Encendido, Modo, Reproducir/Pausar, Adelante, Atras, Vol+/Vol-)
Remote Control……………………….Yes (IR Card Type) /
Illumination……………………………….Yes (Blue Backlit) /
WOOFER SPECIFICATIONS
Nominal Diameter ………………………….3″ / 76.2mm (8 Pcs)
Voice Coil Diameter …………………………..0.8″ / 20.4mm
Voice Coil Former Material ………………………………….Kapton
Cone Material …………….Spk1: PPI / Spk2: Paper / Spk1: PPI / Spk2: Papel
Surround Material ……………………………Spk1: Rubber / Spk2: Cloth
Basket Material …………………………………Steel
Magnet Material ……………………………Ferrite
Motor Diameter ……………………………..2.36″ / 60mm
TWEETER SPECIFICATIONS
Nominal Diameter ……………………………..0.94″ / 24mm (2 Pcs)
Voice Coil Diameter ……………………………………..0.8″ / 20.4mm
Type ……………………………………………………..Dome
Diaphragm Material ………………………………..Soft Dome
Magnet Material……………………………Neodymuim
Crossover …………………………………….6dB
SPECIFICATIONS
AMPLIFIER SPECIFICATIONS
Amplifier Class ………………………………………….Class A/B
Amplifier Type ……………………..Stereo Full Range
Number of Channels………………………………4
Minimum Impedance…………………………4 ohm
Signal to Noise Ratio ………………………………68dB
T.H.D. …………………………………………………1% @ 1000Hz
Channel Separation…………………………….60dB
Audio Source …………………………….BT, USB, AUX
Power Input Wire Size ……………………………….2x14ga
Recommend Fuse Size ……………………………………….15A
MAX Current Draw ………………………………..11A
Thermal Protection …………….Yes (>284°F / 140°C)
Over-Load Protection………………………………Yes / Si
Short Circuit Output Protection …………………….Yes / Si
Voltage Input Protection ………………………………….No / No
BT SPECIFICATIONS
Version ……………………………………………………………V5
Audio Protocols ……………………………A2DP
Range……………………………>33ft (10m)* / Class 2 / >33ft (10m)*
MEASUREMENTS
Overall Width………………………………………………………….37.8″ / 960 mm
Overall Height …………………………………………………3.98″ / 101 mm
Overall Depth…………………………………………………………..3.98″ / 101 mm
FOR MORE INFORMATION
PLEASE VISIT
DS18.COM
We LIKE IT LOUD


















