snom M58 SIP DECT Deskset
Important Safety Instructions
When using your telephone equipment, basic safety precautions should always be followed to reduce the risk of fire, electric shock and injury, including the following:
- This product should be installed by a qualified technician.
- This product should only be connected to the host equipment and never directly to the network such as Public Switch Telephone Network (PSTN) or Plain Old Telephone Services (POTS).
- Read and understand all instructions.
- Follow all warnings and instructions marked on the product.
- Unplug this product from the wall outlet before cleaning. Do not use liquid or aerosol cleaners. Use a damp cloth for cleaning.
- Do not use this product near water such as near a bath tub, wash bowl, kitchen sink, laundry tub or swimming pool, or in a wet basement or shower.
- Do not place this product on an unstable table, shelf, stand or other unstable surfaces.
- Slots and openings in the back or bottom of the handset are provided for ventilation. To protect them from overheating, these openings must not be blocked by placing the product on a soft surface such as a bed, sofa or rug. This product should never be placed near or over a radiator or heat register. This product should not be placed in any area where proper ventilation is not provided.
- This product should be operated only from the type of power source indicated on the marking label. If you are not sure of the type of power supplied at the premises, consult your dealer or local power company.
- Do not allow anything to rest on the power cord. Do not install this product where the cord may be walked on.
- Never push objects of any kind into this product through the slots in the handset because they may touch dangerous voltage points or create a short circuit. Never spill liquid of any kind on the product.
- To reduce the risk of electric shock, do not disassemble this product, but take it to an authorized service facility. Opening or removing parts of the handset other than specified access doors may expose you to dangerous voltages or other risks. Incorrect reassembling can cause electric shock when the product is subsequently used.
- Do not overload wall outlets and extension cords.
- Unplug this product from the wall outlet and refer servicing to an authorized service facility under the following conditions:
- When the power supply cord or plug is damaged or frayed.
- If liquid has been spilled onto the product.
- If the product has been exposed to rain or water.
- If the product does not operate normally by following the operating instructions. Adjust only those controls that are covered by the operation instructions. Improper adjustment of other controls may result in damage and often requires extensive work by an authorized technician to restore the product to normal operation.
- If the product has been dropped and the telephone base and/or handset has been damaged.
- If the product exhibits a distinct change in performance.
- Avoid using a telephone (other than cordless) during an electrical storm. There is a remote risk of electric shock from lightning.
- Do not use the telephone to report a gas leak in the vicinity of the leak. Under certain circumstances, a spark may be created when the adapter is plugged into the power outlet, or when the handset is replaced in its cradle. This is a common event associated with the closing of any electrical circuit. The user should not plug the phone into a power outlet, and should not put a charged handset into the cradle, if the phone is located in an environment containing concentrations of flammable or flame-supporting gases, unless there is adequate ventilation. A spark in such an environment could create a fire or explosion. Such environments might include medical use of oxygen without adequate ventilation; industrial gases (cleaning solvents; gasoline vapors; etc.); a leak of natural gas; etc.
- Only put the handset of your telephone next to your ear when it is in normal talk mode.
- The power adapters are intended to be correctly oriented in a vertical or floor mount position. The prongs are not designed to hold the plug in place if it is plugged into a ceiling, under-the-table or cabinet outlet.
- Use only the power cord indicated in this manual.
- For pluggable equipment, the socket outlet shall be installed near the equipment and shall be easily accessible.
- CAUTION: Keep small metallic objects such as pins and staples away from the handset receiver.
- WARNING: The product included (ITE) in this manual is to be connected only to PoE networks without routing to the outside plant.
Compliance
FCC part 15
This device complies with Part 15 of the FCC rules. Operation is subject to the following two conditions: (1) This device may not cause harmful interference, and (2) this device must accept any interference received, including interference that may cause undesired operation. This equipment has been tested and found to comply with the limits for a Class A digital device, pursuant to Part 15 of the FCC Rules. These limits are designed to provide reasonable protection against harmful interference when the equipment is operated in a commercial environment. This equipment generates, uses, and can radiate radio frequency energy and, if not installed and used in accordance with the instruction manual, may cause harmful interference to radio communications. Operation of this equipment in a residential area is likely to cause harmful interference in which case the user will be required to correct the interference at the user’s expense. Privacy of communications may not be ensured when using this phone. Warning: Changes or modifications to this equipment not expressly approved by the party responsible for compliance could void the user’s authority to operate the equipment. Caution: To maintain the compliance with the FCC’s/ISEDC’s RF exposure guideline, place the base unit at least 20 cm from nearby persons.
FCC Part 68
- This equipment complies with Part 68 of the FCC rules and the requirements adopted by the ACTA. On the back or bottom of this equipment is a label
that contains, among other information, a product identifier in the format
US:AAAEQ##TXXXX. If requested, this number must be provided to the telephone company. - An applicable certification jacks Universal Service Order Codes (USOC) for the equipment is provided (i.e., RJ45C) in the packaging with each piece of approved terminal equipment.
- A plug and jack used to connect this equipment to the premises wiring and telephone network must comply with the applicable FCC Part 68 rules and requirements adopted by the ACTA. A compliant LAN cable (RJ45) and modular plug is provided with this product. An RJ45 jack should normally be used for connecting to the SIP equipment through the LAN cable. See installation instructions for details.
- If this equipment causes harm to the telephone network, the telephone company will notify you in advance that temporary discontinuance of service may be required. But if advance notice isn’t practical, the telephone company will notify the customer as soon as possible. Also, you will be advised of your right to file a complaint with the FCC if you believe it is necessary.
- The telephone company may make changes in its facilities, equipment, operations or procedures that could affect the operation of the equipment. If this happens the telephone company will provide advance notice in order for you to make necessary modifications to maintain uninterrupted service.
- Should you experience trouble with this equipment, please contact
Snom Technology GmbH
1 (339) 227-6160 (select option 2)
for repair or warranty information. If the equipment is causing harm to the telephone network, the telephone company may request that you disconnect the equipment until the problem is resolved. - Please follow instructions for repairing if any (e.g. battery replacement section); otherwise do not alternate or repair any parts of device except specified.
- Connection to party line service is subject to state tariffs. Contact the state public utility commission, public service commission or corporation commission for information.
- NOTICE: If you have specially wired alarm equipment connected to the telephone line, ensure the installation of this product does not disable your alarm equipment.
If you have questions about what will disable alarm equipment, consult your telephone company or a qualified installer. - This equipment is hearing aid compatible.
NOTICE: According to telephone company reports, AC electrical surges, typically resulting from lightning strikes, are very destructive to telephone equipment connected to AC power sources. To minimize damage from these types of surges, a surge arrestor is recommended.
Industry Canada
This Class A digital apparatus complies with Canadian requirements:
CAN ICES-3 (A)/NMB-3(A). Cet appareil numérique de la classe A est conforme à la norme CAN ICES-3 (A)/NMB-3(A) du Canada. This device contains license-exempt transmitter(s)/receiver(s) that comply with Innovation, Science and Economic Development Canada’s license-exempt RSS(s). Operation is subject to the following two conditions: (1) this device may not cause interference, and (2) this device must accept any interference, including interference that may cause undesired operation of the device. Privacy of communications may not be ensured when using this telephone. The term ‘’IC:‘’ before the certification/registration number only signifies that the Industry Canada technical specifications were met. This product meets the applicable Innovation, Science and Economic Development Canada technical specifications.
Parts Checklist
Your telephone package contains the following items. Save your sales receipt and original packaging in the event warranty service is necessary. 
Quick Reference Guide
| 1 | Function keys |
| 2 | Soft keys |
| 3 | Navigation keys and center button |
| 4 | Setting key |
| 5 | OK key |
| 6 | Transfer key |
| 7 | Intercom key |
| 8 | Hold key |
| 9 | Mute key |
| 10 | Volume key |
| 11 | Color screen |
| 12 | Alphanumeric keypad |
| 13 | Message waiting indicator |
| 14 | Next page key |
| 15 | Cancel key |
| 16 | Message key |
| 17 | Directory key |
| 18 | Redial key |
| 19 | Call History key |
| 20 | Headset key |
| 21 | Speaker key |
Deskset Installation
This section assumes that your network infrastructure is established and that your IP PBX phone service has been ordered and configured for your location. Deskset installation involves both the backup battery and the deskset. The deskset is powered using the supplied power adapter. The deskset can be placed on a flat surface. Avoid placing the deskset too close to:
- Communication devices such as television sets, DVD players, or other cordless telephones
- Excessive heat sources
- Noise sources such as a window with traffic outside, motors, microwave ovens, refrigerators, or fluorescent lighting
- Excessive dust sources such as a workshop or garage
- Excessive moisture
- Extremely low temperature
- Mechanical vibration or shock such as on top of a washing machine or workbench
Attaching the foot stand
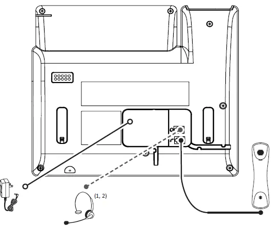
Connecting the phone
IMPORTANT INFORMATION
- Use only the power adapter supplied with this product. To order a replacement power adapter, visit our website at www.snomamericas.com .
- The power adapter is intended to be correctly oriented in a vertical or floor mount position. The prongs are not designed to hold the plug in place if it is plugged into a ceiling, under-the-table or cabinet outlet.
Registering the deskset to the base station
The deskset must be registered to the base station in order to make and receive calls. There are three methods of registration:
- Auto registration
- Manual registration (triggered via Web UI).
- Manual registration (triggered via LINK button on base).
Registering the deskset – Auto registration
- Make sure the base station is connected to power and the network.
- Press the Setting key OR the User Settings function key. The User Settings screen appears.
- Press or to scroll down to Registration and press OK. The Registration screen appears.
- With This device selected, press OK. The “This device” screen appears.
- Press or to scroll down to Auto Registration and press OK. The desk set displays:

The desk set displays:
The desk set displays “Consult the phone administrator to provision the device IPEI to the base.” Press IPEI to display the phone’s IPEI and serial number. Give these numbers to your phone administrator.
Registering the desk set – Manual registration (triggered via Web UI)
- Make sure the base station is connected to power and the network.
- Press the Setting key OR the User Settings function key. The User Settings screen appears.
- Press or to scroll down to Registration and press OK. The Registration screen appears.
- With This device selected, press OK. The “This device” screen appears.
- Press or to scroll down to The base Web UI and press OK. The deskset displays:

- Open the phone’s Web UI in a web browser.
- On the Web UI, click Status and then click Registration.
- Press the # key on the deskset to begin registration. The deskset displays “Registering… Please Wait.”
- If you are promted to enter a PIN, enter the PIN and then press OK. The default PIN is 0000. If registration is successful:
- If the deskset displays “Device not registered to base station.”, press Reg. Place the deskset in the charger again for a few seconds, remove it and try the registration steps again.
- If the deskset displays “Out of range. Searching for base…”, move the deskset closer to the base, and try the registration steps again.
- If the deskset displays the idle screen, it means the desk set was already registered to another base. To register the desk set to a different base, try the registration steps again.
Registering the deskset – Manual registration (triggered via LINK button on base)
- Make sure the base station is connected to power and the network.
- Press the Setting key OR the User Settings function key. The User Settings screen appears.
- Press or to scroll down to Registration and press OK. The Registration screen appears.
- With This device selected, press OK. The “This device” screen appears.
- With The base LINK key selected, press OK. The handset displays:

- Press and hold the LINK button on the base station for four seconds. The (power) and (SIP) LEDs flash green.
- Press the # key on the desk set to begin registration. The desk set briefly displays “Press the WPS button on your Hub. The desk set displays “Registering… Please Wait.”
- If you are promted to enter a PIN, enter the PIN and then press OK. The default PIN is 0000. If registration is successful:
- If the deskset displays “Device not registered to base station.”, press Reg. Place the deskset in the charger again for a few seconds, remove it and try the registration steps again.
- If the deskset displays “Out of range. Searching for base…”, move the deskset closer to the base, and try the registration steps again.
- If the deskset displays the idle screen, it means the desk set was already registered to another base. To register the desk set to a different base, try the registration steps again.
Deregistering the deskset
Before using the deskset with a different base station, you must deregister the deskset from the base station to which it is currently registered.
To deregister the deskset:
- Press the Setting key OR the User Settings function key. The User Settings screen appears.
- Press or to scroll down to Registration and press OK. The Registration screen appears.
- Press or to scroll down to Deregistration and press OK. The “Dereg. HS” screen appears, showing the list of registered handsets. Your handset is indicated by ÛÛ.
- Press or to select the handset you want to deregister, and press SELECT.
- Enter the PIN and press OK to begin deregistration. The default PIN is 0000. The message “Handset is deregistered” appears and the phone beeps.
Maintenance
Taking care of your telephone
• Your base station and cordless deskset contain sophisticated electronic parts, so you must treat them with care.
• Avoid rough treatment.
• Place the handset down gently.
• Save the original packing materials to protect your products if you ever need to ship them.
Avoid water
You can damage your cordless telephone if it gets wet. Do not use the handset in the rain, or handle it with wet hands. Do not install the base station and deskset near a sink, bathtub or shower.
Electrical storms
Electrical storms can sometimes cause power surges harmful to electronic equipment. For your own safety, take caution when using electric appliances during storms.
Cleaning your telephone
• Your products have a durable plastic casing that should retain its luster for many years. Clean it only with a soft cloth slightly dampened with water or a mild soap.
• Do not use excess water or cleaning solvents of any kind.
Remember that electrical appliances can cause serious injury if used when you are wet or standing in water. If the telephone base should fall into water, DO NOT RETRIEVE IT UNTIL YOU UNPLUG THE POWER CORD FROM THE WALL, then pull the unit out by the unplugged cord.
Technical Specifications
| RF frequency band | 1921.536–1928.448 MHz |
| Channels | 5 |
| Operating temperature | 32–104 °F (0–40 °C) |
| Power requirements
| Power adapter: VT05EUS05100 Input: 100~240V AC 50/60Hz 0.15A Output: 5.0 V DC @ 1A |
| Connectors | Two RJ9-4P4C (handset, headset) |
| Bluetooth range | Up to 10m |
























