Razor HOVERTRAX 2.0 Smart Balancing Electric Scooter Owner’s Manual

INTRODUCTION
This manual will help you understand, afely use the Razor® Hovertrax™ 2.0. It is important that you adhere to all safety warnings and cautions that appear throughout and that you use good judgment when riding, so keep reading!
A SPECIAL TECHNOLOGY, WITH NEW CONCEPTS FOR CONTROL AND SAFETY
As is obvious the first time you see it, the Razor Hovertrax is different from things you may have ridden before. No handlebars. No front or rear wheel. No brake. The Razor Hovertrax 2.0 is such a product, and it moves, which means if you are interested in riding it you should be interested in learning how to do that properly – and if you are interested in minimizing the risk of falling off or being injured, you should be very interested in focusing on how to ride this product as safely as possible. Helping you do that is the goal of this manual and other warnings.
THIS HOVERTRAX 2.0, LIKE RAZOR’S OTHER EXISTING HOVERTRAX PRODUCTS MOVES AND YOU MUST UNDERSTAND AND FOLLOW THE INSTRUCTIONS IN ORDER TO MAXIMIZE YOUR FUN AND MINIMIZE RISKS OF INJURY PRESENTED BY RIDING THIS MOVING PRODUCT.

MOVEMENT OF THE RAZOR HOVERTRAX 2.0 IS CONTROLLED BY THE ANGLE OF THE FOOT PLATFORMS, WHICH IS DETERMINED BY PRESSURE APPLIED BY THE RIDER’S FEET ON THE PLATFORMS.
Different? Well, yes, the Hovertrax 2.0 is “different.” It is an electrically motorized, computerized, gyroscopically-balance- assisted, independently articulated, dual-platform two-wheeled personal mobility system. If that sounds unlike any bicycle, scooter, RipStik, roller skate or water ski you have ever used, you’re on the right track. However, the Razor Hovertrax 2.0 does not operate “magically”, and it does not fly, float or disappear. Its movements are not controlled remotely, or by the rider’s brainwaves or earnest good wishes, and it has neither a steering wheel, nor a brake, nor external stabilizers of any kind. Yet it can go, stop, turn and back up – and all of this is controlled solely by the rider’s feet moving at angles relative to the ground.
THIS IS CRUCIAL TO RECOGNIZE AND TO REMEMBER AT ALL TIMES. The angle of your feet – forward, level or rearward – on each foot platform is how Hovertrax 2.0 receives, processes and executes instructions from the rider. This will affect the operation of the RazorHovertrax 2.0 far more than leaning or “shifting body weight” alone.
WARNING: Read this manual – including both “Safety Warnings” (pages 2-3) and “How to Operate” (pages 7-10) and learn to ride safely!
SAFETY WARNINGS
WARNING: Whenever you ride the Hovertrax 2.0 you risk serious injury or death from collisions, falls or loss of control. To ride safely, YOU MUST READ AND FOLLOW THE INSTRUCTIONS AND WARNINGS IN THIS MANUAL.
WARNING: Riding any electric product can be a hazardous activity. Certain conditions may cause the equipment to fail without fault of the manufacturer. Like other electric ride-on products, the Razor Hovertrax 2.0 can and is intended to move, and it is therefore possible to lose control, fall off and/or get into dangerous situations that no amount of care, instruction or expertise can eliminate. If such things occur you can be seriously injured or die, even when using safety equipment and other precautions. RIDE AT YOUR OWN RISK AND USE COMMON SENSE.
WARNING: Failure to read and understand “How to Operate” section of this manual (pages 7-10) increases risk of injury due to falls or other incidents.
WARNING: NOT FOR RIDERS UNDER AGE 8 OR HEAVIER THAN 176 LB (80 KG). DO NOT EXCEED THE WEIGHT LIMIT OF 176 lb
(80 kg) – including backpacks and other items that might be carried. Exceeding the weight limit could injure the rider and damage the Razor Hovertrax 2.0. Rider weight alone also does not necessarily mean a person’s size is appropriate to fit or maintain control of the Razor Hovertrax 2.0. Keep this product away from small children and remember that this product is intended for use only by persons who are, at a minimum, completely comfortable and competent while operating the product.
Razor recommends that children under the age of 8 not be permitted to use this product. This recommendation is based not just on age or weight or height – it reflects consideration of expected maturity and skills as well as physical size. The recommended rider age of 8 years or older is only an estimate and can be affected by the rider’s size, weight, or skills – not every rider 8 years old or older will be suited to the product. Certainly, any rider unable to fit comfortably on the Razor Hovertrax 2.0 should not attempt to ride it, but a parent’s decision to allow his or her child to ride this product should be based on the child’s maturity, skill, and ability to follow rules. Razor emphasizes that adults are strongly advised not to disregard Razor’s recommendations or permit younger children to ride the Razor Hovertrax 2.0.
Because products, like the Razor Hovertrax 2.0, can and do present potential hazards plainly associated with their use, it is well recognized THE NEED FOR EXERCISE OF PARENTAL RESPONSIBILITY IN SELECTING RIDING PRODUCTS APPROPRIATE TO THE AGE OF A RIDER, OR PARENTAL SUPERVISION IN SITUATIONS IN WHICH CHILDREN OF VARIOUS AGES MAY HAVE ACCESS TO THE SAME RIDING PRODUCTS, IS IMPORTANT.
Not every product is appropriate for every age or size of rider, and recommendations are intended to reflect the nature of the hazards and the expected mental or physical ability, or both, of a rider to cope with the hazards.
Persons with any mental or physical conditions that may make them susceptible to injury, impair their physical dexterity or mental capabilities to recognize, understand, and follow safety instructions, and to be able to understand the hazards inherent in a product’s use, should not use or be permitted to use products inappropriate for their abilities. Persons with heart conditions, head, back or neck ailments (or prior surgeries to these areas of the body), or pregnant women, should be cautioned not to operate this product.
CHECK AND MAINTAIN RAZOR HOVERTRAX 2.0
WARNING: Always inspect the Razor Hovertrax 2.0 prior to use. Properly inspecting and maintaining your product can reduce the risk of injury. Before use, check to confirm that any and all guards or covers are in place and in serviceable condition. Check that the parts are functioning properly, that the tires are not damaged or worn excessively. The Razor Hovertrax 2.0 should be maintained and repaired in accordance with the manufacturer’s specifications, using only the manufacturer’s authorized replacement parts, and should not be modified from the manufacturer’s original design and configuration. Replace worn or broken parts immediately. Always check the battery charge before using the Razor Hovertrax 2.0. Do not ride the Razor Hovertrax 2.0 when its battery is low, as indicated by a solid red indicator light or unintended shaking of the wheels during operation. The Razor Hovertrax 2.0 may stop operating and cause you to fall. Use only Razor Hovertrax 2.0 charger.
WARNING: Check local laws and regulations to see where and how you may use your Razor Hovertrax 2.0 legally. Follow all applicable laws for vehicles and pedestrians.
SAFETY GUIDELINES FOR CONTINUED USE:
An important message to all users
Periodically review this information and make sure that you understand all warnings, cautions, instructions and safety topics. Do not let others ride the Razor Hovertrax 2.0 until they have read this manual. Any type of wheeled activity can be hazardous. Wheels can, and are intended to move and it is therefore possible to get into dangerous situations and/or lose control and/or fall off. In such situations serious injury or death could occur. Always be aware of the activity around you. Use the Razor Hovertrax 2.0 in areas free from fixed or moving hazards. Watch your surroundings for pedestrians, animals and riders of other wheeled devices.
WARNING: Only use the Razor Hovertrax 2.0 indoors or on completely smooth surfaces. Avoid obstacles and slippery surfaces, which could result in a loss of balance or traction and cause a fall. See the section on Terrain for more guidelines.
WARNING: Do not lift the Razor Hovertrax 2.0 off the ground when the product is turned on. Do not turn on the Razor Hovertrax 2.0 in mid-air. This will cause the wheels to spin freely which could result in injury to yourself or damage to things around you. Ride defensively. Watch out for potential obstacles that could catch your wheel(s) or force you to swerve suddenly or lose control. Be careful to avoid pedestrians, skaters, skateboards, scooters, bikes, children or animals who may enter your path, and respect the rights and property of others.
Never carry passengers or allow more than one person at a time to ride the electric product.
Never use headphones or a cell phone when riding. Never hitch a ride with another product.
NOTICE: This manual contains many warnings and cautions concerning the consequences of failing to maintain, inspect or properly use your Razor Hovertrax 2.0 product. Because any incident can result in serious injury or even death, we do not repeat the warning of possible serious injury or death each time such a possibility is mentioned.
Do not ride the Razor Hovertrax 2.0 in wet or icy weather and never immerse this electric product in water, as the electrical and drive components could get damaged by water or possibly create other unsafe conditions. Wet, slick, bumpy, uneven or rough surfaces may increase risks. Do not ride this electric product in mud, ice, puddles or water. Avoid excessive speeds that can be associated with downhill rides. Never use near steps or swimming pools.
Do not ride at night or when visibility is limited. Be careful and know your limitations. Risk of injury increases as the degree of riding difficulty increases. The rider assumes all risk associated with aggressive riding activities.
WARNING: Never operate any moving product, including the Razor Hovertrax 2.0, while under the influence of drugs or alcohol.
PROPER RIDING ATTIRE
Always wear proper protective equipment, such as an approved safety helmet (with chin strap securely buckled). A helmet may be legally required by local law or regulation in your area. Elbow pads, kneepads, wrist guards, a long-sleeved shirt, long pants and gloves are recommended. Always wear athletic shoes (lace-up shoes with rubber soles) and keep shoelaces tied and out of the way of the wheels, motor and drive system. Never ride barefooted or in sandals.
USING THE CHARGER
The charger supplied with the electric product should be regularly examined for damage to the cord, plug, enclosure and other parts. In the event of such damage, the product must not be charged until the charger has been repaired or replaced.
Use only with the recommended charger. Use caution when charging. The charger is not a toy. Charger should be operated by an adult. Do not operate charger near flammable materials. Unplug charger and disconnect from product when not in use. Always disconnect from the charger prior to wiping down and cleaning your product with damp cloth.
FAILURE TO USE COMMON SENSE AND HEED THE ABOVE WARNINGS INCREASES RISK OF SERIOUS INJURY. USE WITH APPROPRIATE CAUTION AND SERIOUS ATTENTION TO SAFE OPERATION.
PRE-RIDE CHECKLIST
Wheels
Practice riding only in wide open areas clear from curbs, parking blocks and other obstacles, including things you may fall on or into if you lose your balance. Impacting the wheels against any hard surface can damage the wheels. Wheels are not covered under your limited warranty.
Hardware/Loose Parts
Before every ride, check all parts, such as nuts, bolts, fasteners, etc., to ensure they are secure and assembled correctly. There should not be any unusual rattles or sounds from loose parts or broken components. If the product is damaged, do not ride. Reference “Safety Warnings” on pages 2 and 3 of this manual.
Safety Gear
Always wear proper protective gear, such as an approved safety helmet. Elbow pads, kneepads and wrist guards are recommended. Always wear athletic shoes (lace-up shoes with rubber soles) and keep shoelaces tied and out of the way of the wheels, motor and drive system. NEVER RIDE BAREFOOTED OR IN SANDALS.
Laws and Regulations
Always check and obey any local laws or regulations.
Storage
Prolonged exposure to uv rays, rain and the elements may damage the enclosure materials, store indoors when not in use.
BEFORE YOU BEGIN
Remove contents from box. Remove the separators that protect the components from damage during shipping. Inspect the contents of the box for scratches, dents or kinked cables that may have occurred during shipping. Because the Hovertrax 2.0 was assembled and packed at the factory, there should not be any problems, even if the box has a few scars or dents. Please keep this box in case you need to send the Hovertrax 2.0 back for service or repairs. If you use another box, Razor will not be responsible for any damage caused during shipping.
MAKE SURE POWER SWITCH BUTTON IS TURNED “OFF” BEFORE CONDUCTING ANY MAINTENANCE PROCEDURES.
Estimated Set-Up Time
Allow up to 5 hours for initial charge (see page 6 for charging information).
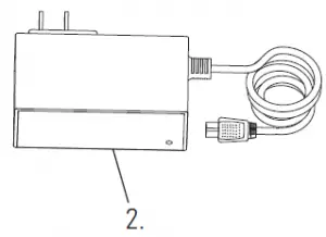
Charger
Note: Charger design may vary from one shown


WARNING:
DO NOT USE NON-RAZOR PARTS WITH YOUR PRODUCT.
The Hovertrax 2.0 has been built to certain Razor design specifications. The original equipment supplied at the time of sale was selected on the basis of its compatibility with the frame and all other parts. Certain aftermarket components may not be compatible and will void the warranty.
Product ID Locations:
(See locations to the left)
- Frame (Underneath Product)
- Charger
- UPC Side of Box (Not Shown)
Box Contents:
- Hovertrax 0
- Charger
- Owner’s Manual
ASSEMBLY AND SET -UP
Calibration Confirmation
Note: Your Hovertrax 2.0 should have been calibrated at the factory.


2 Turn power ON. If product remains level or adjusts to become level, calibration has been confirmed. No further steps are needed. If product begins to roll, shimmy, or does not move into a level orientation, turn product off by pressing the power switch button. This indicates that the product likely has become improperly calibrated and is not detecting actual “level”, so it should be recalibrated before attempting to ride. See Calibrating Hovertrax 2.0, below.
- Calibrating Hovertrax 2.0
1 Place Hovertrax 0 on a level surface.


1 Place Hovertrax 2.0 on a level surface.

2 Manually adjust the platforms so they are level to the ground.

3 While keeping the product level, turn power ON and HOLD until product beeps and lights flash (approximately 15-20 seconds).
4 Turn power back OFF.

5 Calibration complete.
Note: Once the product has been calibrated, no matter what position (angle) the platforms are in when it is turned off, the platforms will automatically self-balance themselves back to the calibrated position when product is turned on.
CHARGING THE BATTERY
Your Hovertrax 2.0 comes with a lithium-ion battery pack. Your Hovertrax 2.0 may not have a fully charged battery; therefore you must charge the battery prior to use. Be sure to charge the battery in a clean, dry location away from direct sunlight, flames or sparks.
- Use only Razor Hovertrax 0 charger.
- Initial charge time: 5
- Recharge time: up to 5 hours, even if the light turns Recommended maximum charging time is 24 hours.
- Always charge the battery immediately after
- Fully charge battery before storing for extended periods of time.
- Unplug charger from the wall outlet when not in
- Failure to recharge battery periodically may result in a battery that will not accept a
- Make sure the Hovertrax 0 power switch button is turned OFF when product is not in use. If the power switch button is left on for an extended period of time, the battery may reach a stage at which it will no longer hold a charge.
- Run time: Up to 30 minutes of continuous ride time. Run time may vary depending on riding conditions, rider weight, climate, and/or proper
- Constant stopping and starting may shorten ride
- Do not charge at or below 32º F (0º C).

Charger
Note: Charger design may vary from one shown

1 Plug the charger plug into wall outlet. The light on the charger should be green.
Note: If green light (LED) does not turn on, try a different outlet.

2 Make sure the power switch button is in the OFF position. Plug the charger into the charger port on the Hovertrax 2.0. The light on the charger should turn red during charging. The light will turn green again when charging is complete
- Do not allow charger or battery pack to If they seem warm, allow to cool down. Charge only at room temperature.
- Do not place product or charger in the sun or warm Keep at normal room temperature.
| Model | Voltage (Nominal) Vdc | Capacity (Nominal) Ah | Charge Temperature Range | Operating Temperature Range |
| Hovertrax 2.0 | 36 | 2 | 0° to 40°C 32° to 104°F | -10° to 40°C 14° to 104°F |
Battery Power Level Indicator
- Green + Orange + Red Indicator Lights – Battery is sufficiently
- Red + Orange Indicator Lights – Charge product as soon as If you continue to ride the product, the orange light will turn off. The red light will begin flashing and the product will begin to beep.
- Flashing Red Indicator Light and Rapid Beeping – Step off and charge The battery is out of power and the product will automatically shut off. Do not attempt to ride until product has been recharged.

WARNING:
Use ONLY with the recommended charger. Batteries are only to be charged under adult supervision. The charger is not a toy. Always disconnect the charger before wiping down and/or cleaning the Hovertrax 2.0 with a damp cloth. The charger supplied with the Hovertrax 2.0 should be regularly examined for damage to the cord, plug, enclosure and other parts. In the event of such damage, the Hovertrax 2.0 must not be charged until it has been repaired or replaced. Chargers have built-in overcharge protection to prevent battery from being overcharged. Wall outlet – Green (stand by) Wall outlet and product – Red (charging) Wall outlet and product Green (charged)
Note: Continue charging product even if light turns green prior to 5 hours.
WARNING: Failure to recharge the battery at least once a month may result in a battery that will no longer accept a charge
WARNING: The Hovertrax 2.0 will notify you when the battery charge is dangerously low by beeping. The orange battery indicator light will turn off and the red (bottom) indicator light will begin to flash. If these warnings occur, immediately slow down and safely step off. Turn the product off. Do not attempt to ride again until the battery is recharged.
HOW TO OPERATE
HOW IT WORKS
The Hovertrax 2.0 responds to the rider’s foot movements. Remember this. The Hovertrax 2.0 moves due to fore and aft foot platform tilt caused by the rider’s foot (or feet). Movement, speed, and stopping are controlled by the degree to which the rider’s feet cause the foot platforms of the Hovertrax 2.0 to no longer be parallel to the ground. When the product is “ON”, the gyroscopic mechanized balancing feature of the Hovertrax 2.0 tries to keep the foot platforms of the product parallel to the ground. In use, Hovertrax 2.0 then detects changes from “level” which are caused by fore and aft pressure on the foot platform(s) applied by the rider’s feet. Such changes are interpreted by the Hovertrax 2.0 as instructions to make the wheels move. Hovertrax 2.0 tries to re-level a forward tilt by accelerating, and tries to level a rearward tilt by decelerating.
Periodic recalibration is recommended
The Hovertrax 2.0 self-balancing features are calibrated to function with a detected “resting position” that is level. Over time and usage, recalibration may be needed to assure “level” status. If inaccurate calibration persists, this could affect the operation of the unit by sending instructions to the motor(s) to move that may differ from the intended motion.
To calibrate the product (see page 5 for additional information):
- Turn power OFF.
- Manually adjust the platforms so they are parallel to the
- Turn power ON and HOLD until it beeps and lights flash (approximately 15-20 seconds).
- Turn power back OFF.
- Calibration
Once the product has been calibrated, no matter what position (angle) the platforms are in when it is turned off, the platforms will automatically self-balance themselves back to the calibrated position when turned on.
Moving and Changing Direction:
When a rider stands on the Hovertrax 2.0 with an evenly weighted foot that is “level” on either foot platform:
- Pressing toes on both feet downward moves Hovertrax 0 forward
- Pressing heels on both feet downward moves Hovertrax 0 backward
- Turns are done by putting more downward pressure on the front side of the foot platform on the outside of the
- A rider can spin in place by pushing downward on the front edge of one foot platform while simultaneously pushing downward on the rear edge of the other foot
Accelerating and Stopping:
- To go faster or to slow down, press the foot platforms at a greater angle for “more” and reduce the angles for “less”.
- When slowing or stopping, if you continue to apply force to the edges opposite the direction of travel, you may not only stop but continue on to reverse your
How does this happen? The fundamental principle is that the Hovertrax 2.0 is designed to be “at rest” when the foot platforms are level – and the gyroscopic mechanized balancing feature detects the “levelness” of the product. This same feature detects foot movements that cause a foot platform to no longer be “level” and it interprets these changes as orders to move. That’s it. That’s how it works. It does what your feet tell it to do, and the product “self-balances” itself in order to be ready to detect and implement the instructions provided by a rider’s feet. Understanding this principle is important for obvious reasons. It also suggests some obvious warnings for riding the Hovertrax 2.0, such as:
- Do not jump up and down on it: If you remove a foot (or both feet), then land back on the Hovertrax 0 and cause the foot platform(s) to change position relative to “level” in any degree, the machine could and will react by moving immediately in response to an “instruction”, which can result in loss of rider stability, balance or control.
- Shifting Weight Alone is not the Issue: Do not presume that shifting weight alone controls motion – or, for that matter, that not shifting weight equals “stability”. Shifting of rider weight may be associated with increase or decrease of foot pressures on the foot platforms, but it is the action of the feet on the foot platforms which instructs Hovertrax 0 to move. Conversely, if you were to shift your weight without altering the placement or angle of your feet, so that the foot platforms remain level, the Hovertrax 2.0 does not receive any “signal” to interpret.
Note: Do not lift the Hovertrax 2.0 off the ground when it is turned on. Do not turn on the Hovertrax 2.0 in mid-air.
Riding Tip:
Certainly the rider may “lean” on the Hovertrax 2.0, but leaning only affects the foot platform’s position to the extent the rider’s feet change their position. If the rider’s ankles are held at a consistent 90° angle, leaning will result in tilting. Note that leaning can exaggerate shifting of weight, which may affect the ability of a rider to recover to a level posture – increasing the possibility of loss of balance.
HOW TO CHANGE MODES:

Turn power switch button “ON”.

Training mode (Default mode from factory)

Normal mode

Hovertrax 2.0 is ready to ride.
Note: Whatever mode the Hovertrax 2.0 was left in when turned off, will be the mode it begins in when turned back on.
Note: To go back to training mode, turn power OFF, then press power switch button ON. Press power switch button twice before all indicator lights come on.
HOW TO GET ON
Once you have charged the battery (see page 6 for charging information):
- Power On: Set the Hovertrax 0 on the ground and turn the power on and the blue light on the power switch button will light-up. The battery/power mode indicator will show either one or two green lights to indicate mode (see page 8 for instructions on switching modes). Do NOT proceed to step two (2) until all lights on the indicator light up.
- First Foot: While standing behind the Hovertrax 0, put one foot on a foot platform, closer to the wheel than to the center. Use that foot to activate the foot platform by bringing that foot platform to a balanced, level position.
- Confirm Activation: Confirm the first foot platform is Move your foot back and forth and feel the response from the product. Play with this single foot platform until you are comfortable keeping the foot platform motion minimal.
- Step Up: With the first foot platform stable and still, step up on the second foot platform with your second Do this away from furniture and other large objects. Don’t use a fixed object to brace or lift yourself – Keep your weight evenly distributed between the two foot platforms. If you are uncomfortable; step back off and repeat from step 2. Try to stand on the Hovertrax 2.0 without moving.
HOW TO RIDE:
- Stand in Place: Hovertrax 0 is unique among two-wheeled items in that the active stabilization it provides allows you to stand in place. A scooter or bicycle may balance more easily when it moves, but a Hovertrax 2.0 can balance even while stationary.
- Move Forward: To move forward, press down gradually with your feet on the fronts of both foot Do not lunge forward or lean excessively, as you may lose your balance.
- Slow Down: To slow down or stop, apply pressure to the rear edges of the foot platforms by pushing down with your Leaning back somewhat may be useful but remember your feet are giving the instructions! If you continue pushing the rear edges with your heels, you will be able to travel backwards.
- Turn: To turn left, slightly push your right foot down on the front of the right foot platform; to turn right, push down on the front of the left foot This idea is to make one wheel turn a little bit faster than the other wheel.
- Rotate in Place: To rotate in place, push down on the front of one foot platform while pushing down with equal force on the rear of the other foot
HOVERTRAX 2.0 SPEED CONTROL
- Not too fast: The recommended top operating speed of the Hovertrax 0 is approximately eight (8) mph (13 km/h). Speed may be affected by rider weight, surface conditions, battery charge, etc. The Hovertrax 2.0 is capable of exceeding the normal operating speed for short periods, which is designed to permit the wheels to react and “re-balance” the product by helping level itself. Do not attempt to “force” the Hovertrax 2.0 into continuous operation at “re-balance” speeds, as control will be more difficult and falls more likely.
HOW TO GET OFF:
- Slow down and stop
- Step to the back
- Power down

NOTE: If Hovertrax 2.0 is left on for more than 5 minutes, it will automatically turn off and beep. PRODUCT WARNING SIGNALS
The Hovertrax 2.0 has several built in protection features, which include:
- Self-leveling function: If the product is not level when powered on it will slowly rotate until it is Always wait to mount until it has completely stopped self-leveling and all lights on the battery power mode indicator are lit.
- Training Mode: This product can be set to training mode to operate at a slower speed (see page 8 for instructions). Do not operate in normal mode until you are completely comfortable riding in training
- Low or charging battery: The battery/power mode indicator light (orange) will indicate insufficient charge for operation by flashing and the product will
- Excessive angle shutoff: At excessively steep foot platform angles, the product will stop powered
Riding Tip: Before your very first ride, expect to spend up to ten minutes in this stage of learning how to stand comfortably on the Hovertrax 2.0.
Self-balancing Function: If product is not level when powered on it will slowly rotate until it is level. Always wait to mount until it has completely stopped self-leveling and all lights on the battery/power mode indicator are lit.
Riding Tip: Your practice on Hovertrax 2.0 should be to keep the platform in place and get a feel for the motions that are generated from small changes in your fore/aft foot pressure.
Riding Tip: Hovertrax 2.0 is best ridden at speeds similar to a brisk walk, not faster.
Note: All lights flashing notes a leveling error. Do not ride until flashing stops.
RIDING TIPS
- Learn to ride the Hovertrax 0 in a large, safe area free from all forms of interference.
- Keep your posture upright, but Align your body over the Hovertrax 2.0 and use a wide stance with your feet close to the wheels.
- Be Scan both far ahead and in front of you – your eyes are your best tool for safely avoiding obstacles and slippery surfaces.
- Hold your arms comfortably at your
- Start at a slow and comfortable Never aggressively accelerate or lunge forward.
- Be careful and considerate of
- Always ride under control at a speed that is safe for you and those around
- Always be prepared to
- Respect pedestrians by always yielding the right of
- Avoid startling When approaching from behind, announce yourself and slow down to walking speed when passing. Pass on the left whenever possible. When approaching a pedestrian from the front, stay to the right and slow down.
HOVERTRAX 2.0 TIPS
Once you have charged the battery, follow these six easy steps:
- Remember to check for the green battery indicator light before you get If it is not lit, the product is not on and you will fall.
- Do not stand on or near the center or rotating portion of the foot
- Remember to keep your body relaxed through your back and Stand naturally.
- Practice controlled
- If you stand with one foot on the foot platform with the product on, keep that foot level, or the Hovertrax 0 will move.
- Be aware of the width of the Hovertrax 0 and the path you are traveling. Make sure you will fit.
TERRAIN AND AVOIDING HAZARDS, SLIPS AND TRIPS
The Hovertrax 2.0 is intended for indoors or use on smooth, flat surfaces. However, to prevent loss of traction, you must always be careful when riding and learn to identify and avoid slippery and wet surfaces, loose materials, slopes, potholes and other obstacles.
Stop and step off the Hovertrax 2.0 over unsafe surfaces or terrain.
The Hovertrax 2.0 wheels must be able to grip the ground for you to stay upright. Slips occur when the Hovertrax
2.0 loses traction, potentially causing loss of control and a fall. Abrupt maneuvers and riding over slippery surfaces, bumps, and loose objects and materials may cause the Hovertrax 2.0 to lose traction.
- Keep
- Never jump on or off the Hovertrax 0 with both feet.
- Please don’t ride transversely on a hillside or turn on a This may cause Hovertrax 2.0’s balance sensors to be unable to orient themselves to “level” state, impairing rider control.
- Avoid riding over any surface where the undercarriage may strike an
Use caution when riding over any change in terrain
REPAIR AND MAINTENANCE
WARNING: Risk of fire–no user serviceable parts.
Battery Care and Disposal
To remove the quick change battery pack press firmly on the center of the pack while depressing tabs on both sides.
Do not store in freezing or below freezing temperatures. To properly maintain your battery and ensure maximum battery life, carefully read the “Charging the Battery” section on page 6 of this owner’s manual.
CONTAINS LITHIUM-ION BATTERY PACK. BATTERIES MUST BE RECYCLED. UL 2271 COMPLIANT.
Disposal: Your Razor Hovertrax 2.0 uses a lithium-ion battery pack which must be recycled or disposed of in an environmentally safe manner. Do not dispose of a battery pack in a fire. The battery pack may explode. Do not dispose of a battery pack in your regular household trash. The incineration, land filling or mixing of batteries with household trash is prohibited by law in most areas. Return exhausted batteries to a federal or state approved lithium- ion battery recycler.
Charger
The charger supplied with the electric scooter should be regularly examined for damage to the cord, plug, enclosure and other parts. In the event of such damage, the product must not be charged until it has been repaired or replaced. To reduce the risk of injury, use ONLY with the charger supplied with this product or a replacement specified by Razor.
Wheels
Wheels and drive system are subject to normal wear and tear. It is the responsibility of the user to periodically inspect wheels for excess wear.
Replacement Parts
For the complete selection of replacement parts visit www.razor.com.
Repair Centers
For a list of authorized Razor repair centers:
- Check online at razor.com.
- Call 866-467-2967 for the center nearest
Recycling Lithium-Ion Batteries:
Lithium-ion batteries are recyclable. You can help preserve our environment by returning your used rechargeable batteries to the collection and recycling location nearest you. For more information regarding recycling of rechargeable batteries, call toll free 1-800-822-8837, or visit http://www.call2recycle.org
Caution: Do not handle damaged lithium-ion batteries
NOTICE: INSURANCE
YOUR INSURANCE POLICIES MAY NOT PROVIDE COVERAGE FOR ACCIDENTS INVOLVING THE USE OF THIS SCOOTER/ELECTRIC RIDE-ON PRODUCT. TO DETERMINE IF COVERAGE IS PROVIDED, YOU SHOULD CONTACT YOUR INSURANCE COMPANY OR AGENT.
WARRANTY
Razor Limited Warranty
The manufacturer warranties this product to be free of manufacturing defects for a period of 90 days from date of purchase. This Limited Warranty does not cover normal wear and tear, wheel, or any damage, failure or loss caused by improper assembly, maintenance, storage or use of the Hovertrax 2.0.
This Limited Warranty will be void if the product is ever:
- used in a manner other than for recreation or transportation;
- modified in any way;
The manufacturer is not liable for incidental or consequential loss or damage due directly or indirectly to the use of this product.Razor does not offer an extended warranty. If you have purchased an extended warranty, it must be honored by the store at which it was purchased. For your records, save your original sales receipt with this manual and write the serial number below.
FCC COMPLIANCE
This device complies with Part 15 of the FCC Rules. Operation is subject to the following two conditions: (1) This device may not cause harmful interference, and (2) this device must accept any interference received, including interference that may cause undesired operation.
Note: This equipment has been tested and found to comply with the limits for a Class B digital device, pursuant to part 15 of the FCC Rules. These limits are designed to provide reasonable protection against harmful interference in a residential installation. This equipment generates, uses and can radiate
radio frequency energy and, if not installed and used in accordance with the instructions, may cause harmful interference to radio communications. However, there is no guarantee that interference will not occur in a particular installation. If this equipment does cause harmful interference to radio or television reception, which can be determined by turning the equipment off and on, the user is encouraged to try to correct the interference by one or more of the following measures:
- Reorient or relocate the receiving
- Increase the separation between the equipment and
- Connect the equipment into an outlet on a circuit different from that to which the receiver is
- Consult the dealer or an experienced radio/TV technician for
WARNING: Changes or modifications to this product not expressly approved by Razor USA LLC, could void the user’s authority to operate the equipment.
CUSTOMER SERVICE CONTACT INFORMATION
| Need Help? Visit our website for product support, a list of authorized service centers in the US and customer service contact information at www.razor.com. Please have the product I.D. code (located on the white label of your product) available for better assistance. Additional Customer Service contact information is listed below: | ||
| AMERICAS Razor USA LLC P.O. Box 3610 Cerritos, CA 90703 USA +1 866 467 2967 Monday – Friday 8:00 AM – 5:00 PM Pacific Time [email protected] | EUROPE, MIDDLE EAST, AFRICA Razor USA LLC (Europe) Handelsweg 2 2742 RD Waddinxveen Netherlands +44 (0) 120 267 2702 | ASIA Razor USA LLC (Asia) P.O. Box 3610 Cerritos, CA 90703 USA +81 50 7579 6622 |
| UNITED KINGDOM AND IRELAND Razor USA LLC (UK) Unit 20 Hartnoll Business Centre Post Hill, Tiverton Devon EX16 4NG UK +44 (0) 120 267 2702 | AUSTRALIA AND NEW ZEALAND
Razor USA LLC P.O. Box 4280 Auburn South VIC 3122 Australia +1 800 954 354 (AU) +0 800 003 221 (NZ) | IMPORTED IN JAPAN BY B-PLUS ASIA CORP. Razor USA LLC Kurokawa 3-1, Asaoku, Kawasaki, Kanagawa 215-0035 JAPAN +81 (0) 44 328 9057 Tel +81 (0) 44 328 9067 Fax |
| US Patent No.: 8,738,278 & RE46964 | ||
| Printed in China for Razor USA LLC. | ||
| Copyright ©2003-2021 Razor USA, LLC. All rights reserved. Razor® and the Razor logo design are among the registered trademarks of Razor USA LLC in the United States and/or select foreign countries. Patents and Hovertrax™ trademark licensed from Inventist, Inc. | ||
| 14 | US_210610 | |





















