
SMOOv one O10
Instructions for use
smoov one O10

alber
45.0001.4.99.01a
Version: 2019-02-19
The latest applicable version of this operating manual is available for download on our website www.alber.de. If you require a large-print version, please contact the Alber Service Centre.
Introduction
1.1 Intended purpose
The smoov is designed to provide support to a manual, active wheelchair user.
The smoov is intended for wheelchair users who are physically and mentally able to safely control a manual wheelchair in typical situations, including inclines, even manually.
1.2 Important safety notes – please observe at all times
The smoov is an add-on drive for wheelchairs, comprised of a drive unit and a control unit. It must only be attached to and operated with wheelchairs that are listed in Alber’s mounting database. For safety reasons, it must only be operated by persons who
- have been instructed in its handling,
- can move and coordinate both hands or arms without major restrictions
- have the physical and mental ability to safely operate the wheelchair with the smoov attached to it in all possible situations (e.g. road traffic) and, in the event of the smoov failing to work or shutting down, are able to brake the wheelchair and stop safely.
A one-to-one instruction session on handling and operating the device is included in the scope of delivery. Please contact your specialist dealer or Alber GmbH representative to arrange for a training session. The instruction is free of charge. If you feel a little unsure about how to handle your smoov, please contact your specialist dealer for advice. In the event of technical faults, please contact your specialist dealer or the Alber Service Centre (Tel: 0800 9096 250).
When operating the smoov, observe the specifications of the wheelchair manufacturer (e.g. maximum slope, air pressure of tyres, the maximum speed etc.), and strictly adhere to the operating instructions of the wheelchair. Never exceed any of the specified limit values.
We recommend refraining from using the smoov in locations that are exposed to strong electric fields. In rare cases, the operation of the smoov may interfere with other electrical devices such as anti-shoplifting barriers in department stores. You must not use the smoov on escalators or moving walkways.
If carrying out sporting activities in the wheelchair, such as lifting weights or similar tasks, the smoov is to be switched off and the wheelchair’s parking brakes are to be applied before the activity begins. Combining the smoov with accessories that have not been approved by Alber is also prohibited.
It is prohibited to start up the smoov before being instructed in how to use it. Contact your authorised specialist dealer or Alber agent for this instruction. Starting up the smoov before receiving instruction is contrary to the intended use and will, among other things, invalidate the warranty. Any use contrary to the intended use involves a risk of injury.
1.3 Proper use of the smoov
The smoov is a medical device for active wheelchair users who are reliant on a wheelchair as a result of their disability. The smoov is an add-on drive for wheelchairs that is attached to a manual wheelchair, converting it into an electrically driven wheelchair and thus significantly increasing the wheelchair user’s mobility and flexibility. The smoov must always be used, transported, maintained and serviced as described in this operating manual. The smoov must only be attached to and operated with wheelchairs that are listed in Alber’s mounting database. The selection is made by the specialist dealer or by Alber itself.
1.4 Handling instructions
Wheelchairs that are fitted with the smoov are designed exclusively for transporting persons with a walking disability. Do not attach any parts other than the accessories that have been approved for use by Alber. Likewise, not technical modifications must be made to the device. The attachment of the various components of the smoov, the accessory parts as well as the brackets and adapter axles may only be carried out by Alber or by a specialist dealer authorised by Alber. The smoov must only be operated under the following conditions:
- Full compliance with the information, instructions and recommendations contained in this operating manual
- Compliance with the information about driving with the smoov, as well as the safety and hazard information in chapter 10
- The smoov is only operated by a person who has been instructed in its use
- No technical modifications have been made to the smoov by the user or by any third party An instructed person is a person who has been instructed in the operation of the smoov and in their tasks, and who has been made aware of the possible hazards associated with improper use of the device This is usually the user of the wheelchair to which the smoov has been fitted. The instruction session is provided by the authorised specialist dealer or by an agent of Alber GmbH. It is strictly prohibited for
any uninstructed or unqualified persons to use the smoov.
The smoov must not be used for any purpose that contravenes the intended use of the device. This particularly applies to all types of load transportation, such as transporting household objects or additional people in the wheelchair. Proper use includes complying with the information specified in this operating manual on carrying out maintenance work and observing and adhering to the safety precautions and hazard information for drive mode.
The use of the smoov for any of the following purposes shall be deemed to be misuse by Alber GmbH: - Use or operation of the device that contravenes the instructions and recommendations in this operating manual
- Exceeding the technical limits defined in this operating manual
- Technical modifications to the device
- Attachment and/or use of parts or accessories that have not been supplied or approved by Alber GmbH
Alber GmbH excludes any liability for damage caused by use contrary to the intended purpose of the smoov and its accessory parts, by handling of the smoov and its accessory parts by a person who has not been instructed, by use of the smoov and its accessory parts contrary to the instructions and specifically the safety and hazard information in this operating manual, or by exceeding the technical limits defined in this operating manual on the part of the user or third parties.
Before starting up the smoov, carefully read all safety and hazard information contained in the individual chapters of this operating manual.
1.5 Signs and symbols
Important tips and information are identified in this operating manual as follows:
Tips and special information.
Warning against possible hazards to your safety and health, and indication of potential risks of injury.
Warning against possible technical problems or damage.
Observe these indications and warnings at all times to avoid injury to people and damage to the product.
Information in this operating manual, such as “in front”, “behind”, “left”, right”, “forwards”, “backwards” etc. refers to the position from the point of view of the wheelchair user.
The symbols used on the labels (see chapter 19) and in some parts of this operating manual are explained below.
![]() | The smoov and the corresponding off-board charger comply with the applicable sections of standard EN 12184 for electric wheelchairs and standard ISO 7176-14 for wheelchairs and comply with the EU Medical Devices Directive (MDR). The smoov is a Class I medical device. |
![]() | For information about disposing of the smoov and its components, please see chapter 12.4 |
| Protect the device from moisture. | |
| Indicates the temperature range in which the smoov can be used. | |
| Observe the operating manual. | |
| Maximum weight of person that the smoov can accept as its load capacity: 140 kg | |
![]() | Specification of the manufacturing date on the system label |
![]() | Name and address of the device manufacturer (see the back of this operating manual) |
![]() | Protective insulation/appliance class 2 |
![]() | Not suitable for outdoor use (charger) |
| Warning against magnetic fields and forces. | |
| Hazardous goods labelling (class 9) on the outer packaging. | |
| Risk of entrapment hands |
1.6 Permissible conditions of use/locations of operation
- Observe the permissible conditions of use of the wheelchair to which the smoov is attached (see wheelchair operating manual).
- In addition to observing the information provided about the smoov, it is also imperative to observe the information provided by the wheelchair manufacturer (e.g. maximum gradeability, maximum permissible height of obstacles, maximum user weight, maximum speed, etc.). The lowest values always apply.
- Any limits regarding the operation of your wheelchair (e.g. maximum gradeability, maximum permissible height of obstacles, maximum user weight etc.) must also be observed when using the smoov.
- The smoov must only be operated at temperatures between -25 °C and +50 °C. Therefore, do not expose the smoov to any heat sources (such as intense sunlight) as this may cause surfaces to reach high temperatures.
- Avoid using the wheelchair on soft ground (e.g. loose chipping, sand, mud, snow, ice or deep puddles).
- Take particular care to observe the safety instructions and hazard information provided in chapter 3.
Pairs of anti-tippers need to be fitted to the wheelchair in order to use the smoov.
Use of the smoov without anti-tippers is not permitted.
Especially when it is not in use, do not expose the smoov to strong sunlight for long periods of time, if possible.
This could cause the motor to heat up and in an extreme case, not be able to operate at full power. Plastic parts also age quicker under intense sunlight.
In case of overheating: Allow the smoov to cool down for at least 60 minutes.
1.7 Standard scope of delivery
- smoov drive and control unit
- One battery charger
- USB-C charger cable for charging the control unit
- One retaining plate for the control unit appropriate to your wheelchair (already mounted on the wheelchair)
- This operating manual
- Wheelchair adapter axle and control unit bracket (already mounted on the wheelchair)
Please check that the delivery is complete and notify your specialist dealer should any of the parts be missing.
1.8 The main elements at a glance
(please fold out overview drawing in document cover)
smoov drive unit (diagram A)
| Charger socket | 1 |
| Battery capacity display | 2 |
| On/Off button | 3 |
| Handle (with locking function) | 4 |
| USB-C charger socket cover | 5 |
| USB-C socket | 6 |
| Position light | 7 |
| Drive wheel | 8 |
| Locking claw | 9 |
| Smoov control unit (diagram B) | |
| On/Off button | 10 |
| Speed dial | 11 |
| Control unit display | 12 |
| USB-C socket cover | 13 |
| USB-C charger socket | 14 |
| Pairing button | 15 |
| Retaining plate | 16 |
| Locking mechanism | 17 |
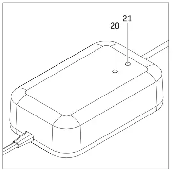
| Charger (diagram C) | |
| Charging plug | 18 |
| Mains plug | 19 |
| LED display 1 | 20 |
| LED display 2 | 21 |

Commissioning
The smoov and any accessories you ordered will be fitted to your wheelchair by Alber or your specialist dealer and delivered so that they are ready for operation. For this reason, there is a bracket or adapter axle on the underside of your wheelchair [22], in which the drive unit is inserted (see chapter 8.2 and 8.3), and there is a mount on the frame of the wheelchair for attaching the control unit (see chapter 2.3).
On delivery of your smoov, your specialist dealer or an Alber agent will show you how to operate the device and how to use any accessories you ordered. You will also be given this operating manual which, in addition to the technical information, also contains important information about operating the smoov. This information must be noted.
Due to the applicable transport regulations, the batteries of the drive and control unit are only charged to a maximum of 30 percent on delivery. You should therefore charge
both batteries fully before your first drive with the smoov (see chapter 4).
Alber produces adapter axles and attachments in various designs. This explains why diagrams in this operating manual may differ from the parts mounted on your wheelchair. However, this does not have any effect on the functions of the smoov.
The parameter specifications contained in the following chapters are factory settings.
They can be changed via the optionally available Mobility app according to the wishes of the wheelchair user.
The wheelchair is steered and braked by its push rims. Particularly when braking, heat is generated due to friction between the hand and the push rims (especially those made of plastic). We therefore recommend that you wear suitable gloves when operating the smoov to prevent blisters from forming on yourhands.
It is strictly prohibited for any uninstructed or unqualified persons to use the smoov.
Speed limitation
For your own safety, we recommend that you do not exceed the specified maximum speed of the smoov or wheelchair (whichever is the lowest value) during daily use. We assume no liability for any damage which results from operation at speeds higher than the stipulated maximum speed.
Operating the smoov without two parking brakes attached to the wheelchair is not permitted.
Pairs of anti-tippers need to be fitted to the wheelchair in order to use the smoov.
Use of the smoov without anti-tippers is not permitted.
The highest achievable speed with the smoov drive unit is 6 or 10 km/h respectively. If this value is exceeded (e.g. when navigating slopes), the drive unit switches to idling. In such cases, you need to reduce the speed with the push rims. The drive unit switches on again automatically as soon as the wheelchair drops to a speed below the previously driven/set speed.

2.1 Attaching the drive unit to the wheelchair
With a little practice, active wheelchair users can attach the drive unit of the smoov themselves while sitting in the wheelchair. Alternatively, the drive unit can be attached
to the wheelchair before the wheelchair user takes their seat. A helper may also attach the drive unit.
When attaching the unit, proceed (or have a helper) proceed as follows:
- Apply the parking brakes to prevent your wheelchair from rolling away inadvertently.
- Ensure that both the drive unit and the control unit are switched off. Both components may only be attached to the wheelchair if they are switched off.
- Hold the drive unit by its handle [4] and slide it under the wheelchair, as lifting the drive unit could cause the wheelchair to tip backwards!
- Lift the drive unit by its handle [4]. This causes the locking claw [9] to open automatically.
- Insert the locking claw [9] into the bracket or adapter axle [22] on the wheelchair and let go of the handle [4].
- If the locking claw [9] and the bracket or adapter axle [22] are connected to each other correctly, the handle [4] lowers to its resting position automatically.
- In addition, check that the drive unit is correctly connected to the wheelchair by gently moving the housing. In this regard, the drive unit must never be held or lifted by the handle [4], as this will undo the connection. The drive unit must also not be held in areas close to the drive wheel [8]. This is to prevent fingers being trapped by the hori- zontally rotating drive wheel, for example.
In these few steps, you have attached the drive unit to your wheelchair. Now it is time to install the control unit.
Please be aware that lifting the drive unit by the handle [4] opens the locking claw [9] and the connection with the bracket or adapter axle [22] is undone as a result!
Apply the parking brakes to prevent your wheelchair from rolling away inadvertently.
Make sure that the drive unit is switched off. The device may only be attached to the wheelchair if it is switched off.
2.2 Removing the drive unit from the wheelchair
Active wheelchair users (or a helper) may also remove the smoov themselves.
- Apply the parking brakes to prevent your wheelchair from rolling away inadvertently.
- Ensure that both the drive unit and the control unit are switched off. Both components may only be removed from the wheelchair if they are switched off.
- Lift the drive unit by its handle [4]. This causes the locking claw [9] to open automatically.
- Remove the drive unit from the bracket or adapter axle [22]. Slide the drive unit under the wheelchair, as lifting the drive unit could cause the wheelchair to tip backwards!
- Put the drive unit down in a safe place where misuse of the device (e.g. due to children playing) is ruled out.
Apply the parking brakes to prevent your wheelchair from rolling away inadvertently.
Make sure that the drive unit is switched off. The device may only be removed from the wheelchair if it is switched off.
2.3 Attaching and removing the control unit
A retaining plate [16] for mounting the control unit to your wheelchair was attached by your specialist dealer. You can insert the control unit in the retaining plate and remove it at any time.
Attaching the control unit
- Apply the parking brakes of your wheelchair.
- First switch off the drive unit completely (see chapter 3.6.2).
- If the control unit is switched on, switch it off as well (see chapter 3.6.1).
- Then insert the control unit into the mount [16a] on the retaining plate [16] at a slight angle. In doing so, hold the control unit by the handle at the bottom.
Do not ever hold it by the speed dial [11] (see diagram). - Tilt the control unit towards the retaining plate [16] until it audibly locks into place in the mount [16b].
- Check that the control unit is seated securely in the retaining plate [16].
When inserting the control unit into the retaining plate [16], do not ever hold it by the speed dial [11]. Hold it only by the handle (see diagram opposite). This prevents you from switching on the control unit unintentionally.
Removing the control unit
- Apply the parking brakes of your wheelchair.
- If you have not already done so, switch off the drive unit completely (see chapter 3.6.2).
- Switch off the control unit (see chapter 3.6.1)
- Press the locking mechanism [17] on the lower end of the retaining plate [16].
- Remove the control unit from the retaining plate [16]. In doing so, hold the control unit by the handle. Do not ever hold it by the speed dial [11].
- Put the control unit down in a safe place.
When removing the control unit from the retaining plate [16], do not ever hold it by the speed dial [11]. Hold it only by the handle (see diagram opposite).
This prevents you from switching on the control unit unintentionally.
Information for left-handed persons
- Unless you specify otherwise when ordering the smoov, the retaining plate [16] is mounted on the right-hand side of the wheelchair as standard.
- The Mobility app allows the control unit to be switched to left-handed use at any time. Please consult the operating manual for the Mobility app for further information
in this regard.

2.4 Setting the control unit
If desired or necessary, the position of the display [12] can be adjusted.
- Switch off the drive unit completely (see chapter 3.6.2).
- Open the cover [13] of the control unit.
- Loosen the three screws [26] on the back of the control unit by not more than half a turn. To this end, use an Allen key, size 2.5.
- Turn the ring [25] until the display [12] is in the desired position. Then carefully tighten the three screws [26] until the ring [25] can no longer be turned.
- Close the cover [13] of the control unit.

Drive mode
3.1 Switching on the system
The drive and control unit need to be switched on for use be possible. Carry out the following steps to this end:
- Switch off all Bluetooth devices in your immediate vicinity to prevent any interference with the connection between the drive unit and control unit.
- Ensure that the drive wheel [8] is correctly aligned with the drive unit (see chapter 3.4).
- Briefly press the button [3] on the drive unit. This switches on the drive unit. A brief acoustic signal sounds, the button [3] lights up green, and the display [2] indicates the capacity of the battery. (see chapter 5.1). The position light [7] now lights up as well.
- Switch on the control unit (this needs to be in the mount [16]) by pressing the button [10] on it for approx. 2 seconds.
- The LED [f] now indicates the capacity of the control unit battery in different colours (see chapter 5.2). If the LED [f] is flashing blue, this indicates an attempt to establish a connection to the drive unit via Bluetooth.
- If no Bluetooth connection is established within 10 seconds, the LED [f] flashes red for 20 seconds. The control unit then switches off.
- If the Bluetooth connection is established between the drive unit and the control unit, the LED [f] on the control unit lights up continuously. See chapter 5.2. for the meaning of colour. The capacity of the drive unit battery is also displayed.
If no Bluetooth connection is established after you have performed the steps listed above, this may be due to the following reasons:
Incorrect alignment of the drive wheel
If the drive wheel [8] is in an incorrect position (see chapter 3.4), the drive unit cannot be switched on. Instead, the On/Off button [3] lights up green and the LED [c] in the
display [2] flashes white.
Drive unit battery is empty
If the battery no longer has sufficient capacity, the LED [a] flashes briefly in the display [2] when the smoov is switched on. The system switches off completely thereafter. Charge the battery as described in chapter 4.1.
The control unit battery is empty
If the battery no longer has sufficient capacity, the LED [f] flashes briefly in the display [12] when the control unit is switched on. The system switches off completely thereafter.
Charge the battery as described in chapter 4.2.
Error in the system
In this regard, see the explanations in chapter 6.
Fault due to Bluetooth devices
Check that all Bluetooth devices in your vicinity are switched off.
If this is the case and there is still no connection established between the drive unit and control unit despite repeated attempts, please contact your specialist dealer.
3.2 Using the smoov
If the drive and control units are connected via Bluetooth, use of the smoov can commence.
Note the following in this regard:
- The smoov can (from the user’s viewpoint) only move forwards; it cannot move backwards.
- The smoov is a drive for your wheelchair and does not have any braking functions.
The push rims control the travel direction and braking of the wheelchair. - Turning the speed dial [11] forwards sets the smoov in motion. The further you move the speed dial in the direction of travel, the faster your wheelchair will move.
- The speed dial [11] can be turned infinitely. However, once the maximum speed is reached, no further increase in speed is possible.
- To reduce the speed, you need to turn the speed dial against the direction of travel.
The drive wheel [8] switches off if the value falls below the zero point. The smoov is then in freewheeling mode. However, the control unit remains switched on. - To bring the wheelchair to a complete stop after switching off the drive, you need to brake it as usual using the push rims.
The individual gradations of the speed wheel can be programmed individually via the smoov Mobility app. In this regard, please read the relevant explanations in the smoov Mobility app operating manual.

3.3 Emergency stop in hazardous situations
Every wheelchair user is trained to bring their wheelchair to an immediate stop in hazardous situations by braking it using its push rims. To bring your wheelchair to a quick and safe stop in hazardous situations when on a trip with the smoov, proceed as follows:
- Press the outer surface of the On/Off button [10]. This switches the drive wheel [8] of the drive unit to freewheeling mode. However, the control unit is not switched off; it remains switched on.
- Use the push rims to brake the wheelchair and bring it to a complete stop as quickly as possible.
ATTENTION – HIGH ACCIDENT RISK!
In the event of an emergency stop, if the drive wheel [8] on the drive unit is not switched to freewheeling mode via the On/Off button [10], your wheelchair is continuously pushed forward at the preset speed. It is therefore hardly brought to a stop when only braking with the push rims.
By pressing the On/Off button [10], neither the control unit nor the drive unit is switched off – as indicated by the illuminated LEDs. This means that the smoov is immediately set in motion again as soon as the speed dial [11] is turned (even unintentionally). In this respect, you should switch the drive unit off completely in the event of an emergency stop (see chapter 3.6.2) until it is safe for you to continue.
![]() | ![]() |
3.4 Cornering
When cornering, the drive wheel [8] swivels out of its centre position to the left or right. In this context, the speed is gradually reduced automatically and the drive unit is ultimately switched off. This is because there is a risk of the wheelchair tipping over if the user is cornering at too high a speed. If the drive wheel is outside of its permissible position, the drive unit can no longer be switched on.
The drive wheel cannot be switched on until the drive wheel has returned to a permissible position (diagram B).
During regular use, the On/Off button [3] on the drive unit lights up green and the display [2] indicates the capacity of the battery.
Depending on the capacity of the battery, the LED [f] on the control unit’s display panel [12] lights up green, yellow or red. The LEDs [a] to [e] indicate the capacity of the battery. If the drive unit is switched off due to excessive deflection of the drive wheel [8], the On/Off button [3] on the drive unit lights up green and the LED [c] flashes in white. Depending on the capacity of the battery, the LED [f] on the control unit’s display panel [12] lights up green, yellow or red. The LED [c] also flashes white.
Important safety information
In various situations, for example when navigating a tight bend from a standing position, it cannot be ruled out that the drive wheel [8] may turn 180 degrees. In this position, the drive is switched off and is therefore in freewheeling mode.
This incorrect wheel position (diagram A) can (primarily when navigating slopes) can result in regenerative braking. Consequently, severe damage to the smoov drive unit cannot be ruled out. For this reason, make sure that the drive wheel [8] is always in the correct travel position (diagram B).
Warning – Risk of entrapment hands Never reach between the housing and the forks of the drive wheel within the swivel range of the drive wheel [8].
Information about starting after a standstill and switching on the drive unit Prior to activating the drive, check that the drive wheel [8] is correctly positioned in the
direction of travel (diagram B). If it is not correctly positioned, you first need to move forward manually using the push rims. This makes the drive wheel swivel to the correct
position automatically. The system can then be switched back on. 
3.5 Range
For every smoov user, the range of the system is one of the areas of greatest interest. In general, the smoov has a range of up to 20 km with the standard built-in battery (6.2 Ah). These are ideal values and relate to flat, paved terrain. Deviations may occur due to topographical conditions, the ambient temperature, the road surface, the tyre pressure of the wheelchair wheels, the frame geometry, the weight of the wheelchair and the weight of the user.
3.6 Switching off the system
3.6.1 Control unit
The control unit is either switched on for drive mode or it is in standby mode. It is not possible to switch it off completely.
- Briefly pressing the On/Off button [10] or turning the speed dial [11] against the direction of travel (see chapter 3.2) switches the drive wheel [8] to freewheeling mode. The control unit remains switched on in this regard.
- If the On/Off button [10] is pressed and held for longer than 2 seconds, both the control unit and the drive unit are put into standby mode. All LEDs on the control
unit go out and only the On/Off button [3] on the drive unit lights up green. - The control unit automatically switches to standby mode if it is not used for 20 minutes.
However, this does not have any effect on the drive unit. - To put the control unit back into operation from standby mode, it needs to be switched on again (see chapter 3.1).
3.6.2 Drive unit
Standby mode
- The drive unit can only be put into standby mode by the control unit (see chapter 3.6.1).
- If the drive unit is in standby mode, the control unit needs to be switched back on in order to put the drive unit back into operation.
- If errors occur in standby mode or if the battery charge status falls below 10%, an error message or warning appears in the display [2].
Complete shutdown of the drive unit
- If the On/Off button [3] is pressed, the drive unit is switched off completely. The LED displays [2], the LED in the On/Off button [3] and the position light [7] go out.
The shutdown is signalled by an acoustic signal. - Automatic shutdown occurs after 1 hour (factory setting) if the drive unit does not receive a signal from the control unit during this time.
- If the drive unit is shut down completely, it can no longer be activated by the control unit.
It needs to be switched on again (see chapter 3.1).
Shut the drive unit down completely in the event of prolonged standstill or an emergency stop. This is to prevent it from being switched on accidentally.
When travelling, particularly when travelling by plane, the control unit must be put into standby mode and the drive unit must be shut down completely!
![]() | ![]() |
Charging the batteries
4. 1 Charging the drive unit battery
First read the safety instructions for the charger and the charging procedure in chapters 11.3 and 11.4 before charging the smoov battery for the first time. With regard to the
charging process, proceed as follows:
- Switch the control unit to standby mode (see chapter 3.6.1).
- Switch the drive unit system off completely (see chapter 3.6.1).
- Plug the power cable [19] of the charger into a socket. The LED [21] lights up blue; the LED [20] lights up orange.
- Insert the charging plug [18] into the charger socket [1]. The correct positioning and locking of the connection occurs automatically via a magnetic closure.
- The start of the charging process is now signalled by two brief acoustic signals.
During the charging process, the displays [2] (drive unit) and [12] (control unit (only if switched on)) indicate the current charge status of the drive unit battery as follows:
- LED [a] flashes: Battery capacity < 10%
- LED [a] lights up: Charge status > 10%
- LED [b] lights up: Charge status > 20%
- LED [c] lights up: Charge status > 40%
- LED [d] lights up: Charge status > 60%
- LED [e] lights up: Charge status > 80%
If the control unit is switched on, LED [f] continuously indicates the remaining battery capacity of the control unit.
The battery should always be fully charged. However, the charging process can be interrupted or terminated at any time if necessary. When the charging process is complete, you must first disconnect the charging plug [18] from the charger socket [1], then disconnect the power cable [19] of the charger from the socket.
Attention: The drive unit is switched on after the charging process. Displays on the charger The status of the charger is indicated by its LED [20] as follows:
| LED [20] | Status |
| Orange, illuminated | Charger is ready for use |
| Green, flashing | Charging |
| Green, illuminated | Charging is complete |
| Red, illuminated | Error |
In addition, LED [21] lights up blue as soon as the charger is ready for use The drive unit is switched on following completion of the charging process.
Only the Alber charger supplied with the smoov is to be used to charge the drive unit. The use of a charger not supplied by Alber is not permitted.
Ensure that the charger plug [18] and the charger socket [1] are clean and that there are no metallic particles. If there are any metallic particles, remove these with a clean, dry cloth.
Remove the charger once charging of the drive unit is complete. First remove the charging plug [18] from the charger socket [1] and then unplug the mains plug [19] from the mains socket.
Always check the charge status of the batteries before each use. They should be fully charged prior to use.
If an error occurs when charging the drive unit, this is indicated by LED display [2] on the drive unit and by LED [12] on the control unit. The error is also indicated by acoustic signals (see chapter 6)
If the drive unit is on the wheelchair during charging, it is to be switched off completely before starting the charging process (see chapter 3.6.2) and the wheelchair is to be secured by means of its parking brakes to prevent it from rolling away inadvertently.
The battery should always be fully charged so that you are able to make use of the smoov’s maximum range. In addition, you reduce the risk of no longer being able to use your wheelchair with the motorised assistance of the smoov due to an empty battery.
4.2 Charging the batteries of the control unit
Alber does not supply a separate charger for the control unit and recommends charging it via the drive unit (see chapter 4.2.2). As the drive unit batteries are also charged during this process, the total charging time is longer. To charge only the control unit battery, you can use a charger which is available from electrical retailers. However, it is imperative that such a charger comply with the following technical parameters:
- Maximum +5 volt DC voltage
- Maximum 1.5 ampere current
- Charger cable: USB type C
Chargers with different technical parameters, in particular adjustable laboratory power supplies or power supplies with a higher voltage and power reserve, must not be used under any circumstances!

4.2.1 Charging with an external charger
- Switch the drive unit off completely by pressing the On/Off button [3]. This prevents the drive unit from rolling away if the control unit is actuated unintentionally.
- Open the cover [13] on the back of the control unit.
- Insert the charger cable into the charger socket [14].
- Carry out the charging process in accordance with the charger operating manual.

4.2.2 Charging via the drive unit
- Switch the drive unit off completely by pressing the On/Off button [3]. This prevents the drive unit from rolling away if the control unit is actuated unintentionally.
- Open the cover [13] on the back of the control unit and open the cover [5] on the drive unit.
- Insert the charger cable supplied with the Alber charger into the charger socket [14] on the control unit and into the USB-C socket [6] on the drive unit.
- Start the charging process on the drive unit as described in section 4.1.
- LED [f] on the control unit flashes green during charging.
- LED [f] lights up green continuously if the charging process is complete.
- Remove the charger cable; LED [f] goes out If the charging process is complete and the charger cable has been removed, the smoov can be put back into operation
If only the two sockets are connected to each other without connecting the Alber charger to the drive unit, energy is withdrawn from the drive unit batteries in order to charge the control unit battery.

Capacity display of the batteries
In order for you to be informed about the remaining energy in the batteries at all times, their capacity is continuously displayed in the displays [2] on the drive unit and [12] on
the control unit.
5.1 Capacity of the drive unit battery
The capacity of the drive unit battery is indicated by LEDs [a] to [f] in displays [2] (drive unit) and [12] (control unit) as follows.
LED [a] flashes: Battery charge status < 10%
LED [a] lights up: Battery charge status > 10%
LEDs [a] and [b] light up: Battery charge status > 20%
LEDs [a], [b] and [c] light up: Battery charge status > 40%
LEDs [a], [b], [c] and [d] light up: Battery charge status > 60%
LEDs [a], [b], [c], [d] and [e] light up: Battery charge status > 80%
5.2 Capacity of the control unit battery
The capacity of the control unit battery is only indicated in display [12] by LED [f].
LED [f] lights up green continuously: Battery capacity > 20-100%
LED [f] lights up yellow continuously: Battery capacity > 10-20%
LED [f] lights up red continuously: Battery capacity > 0-10%
LED [f] lights up red briefly and goes out: Battery capacity < 2%, battery almost empty
Error messages and warnings
The following two tables list the error messages and warnings that could occur on the smoov due to incorrect operation or a system malfunction. In this regard, the “LED display” column indicates the LEDs ([a] to [e]) on the display [2] of the drive unit and the display [12] of the control unit that flash white. This is represented by the symbol ○. In addition, LED [f] on the control unit and button [3] on the drive unit flash red for error messages and flash yellow for warnings (both are represented by the symbol o). Inactive displays are represented by the symbol ●. In the event of a problem or tyre damage, contact your specialist dealer.
6.1 Error messages
| LED display a b c d e f | Number of sounds | Sound interval. (seconds) | Error description | Remedy |
| 3 | 5 | Error, drive unit battery | The battery is either defective or has a very low charge. Charge the battery. Please contact your specialist dealer if this is not possible. | |
| 3 | 5 | Error, drive unit electronics | Switch the system off and on again. Please contact your specialist dealer if the error persists. | |
| 3 | 5 | Error, drive unit sensors | Switch off the system, turn the drive wheel back and forth several times, and switch the system on again. Please contact your spe- cialist dealer if the error persists. | |
| 3 | 5 | Error, charging | Unplug the charger and then plug it back in. Please contact your specialist dealer if the error persists. | |
| Error, control unit battery/electronics | Contact your specialist dealer |
6.2 Warnings
| LED display a b c d e f | Number of sounds | Sound interval (seconds) | Error description | Remedy |
| 1 | 5 | Warning, battery undervoltage | The battery is heavily discharged. Charge the battery. | |
| 1 | 5 | Warning, drive unit battery/drive | The temperature of the battery or the drive is not within the permissible range. Let the drive unit cool down or let it warm up. Switch off the drive unit and then switch it back on. | |
| 1 | 5 | Warning, charging | The ambient temperature is too low or too high. Charging is only possible at temperatures between 0 °C and 40 °C. | |
| 1 | Safety shutdown | Contact your specialist dealer. |
If any error messages other than those listed here appear, there is a serious system fault. In such cases, the smoov cannot be used and must be sent to Alber GmbH via your specialist dealer for testing.
![]() | ![]() |
Automatic shutdown
If the control unit is not actuated for longer than 20 minutes (factory setting), it is automatically put into standby mode together with the drive unit (the LEDs go out). If the drive unit shuts down automatically if it is not used for one hour. As of this moment, there is no longer an active Bluetooth connection between the control unit and drive unit. To put the system back into operation, the drive unit and control unit need to be switched on again (see chapter 3.1).
Pairing
Pairing is a process in which Bluetooth devices are paired with each other. With regard to the smoov, these devices are the drive unit and the control unit.
Both components are connected by radio and exchange characteristic data in this way.
They therefore recognise each other automatically during every start-up.
The drive unit and the control unit are already paired upon delivery of the smoov. In the event that the drive unit or control unit are replaced (within the Alber exchange pool for example), the components no longer recognise each other and need to be matched with each other by means of re-pairing as described below.
- Fully charge the batteries of the control unit and the drive unit (see chapter 4).
- Switch on the drive and control unit.
- Open the cover [13] on the control unit.
- Use a pointed object, such as a ballpoint pen, to press and hold the pairing button [15] for approx. 3 seconds.
- Hold the control unit close to the drive unit.
- Pairing now starts automatically. ALED [f] flashes blue on the control unit. LEDs [b] and [d] flash white. Button [3] lights up green on the drive unit; LEDs [b] and [d]
flash white. - Pairing is complete as soon as button [3] flashes blue on the drive unit.
- At this point, press button [3] briefly to complete pairing.
- Close the cover [13] on the control unit.
Your smoov is ready for use again if pairing was carried out successfully.

Transport
9.1 Drive unit and control unit
The drive unit and the control unit should be removed from the wheelchair and be stored safely for transport purposes (see the next two chapters in this regard).
Depending on the means of transport, but especially for air transport, the drive unit and control unit must be removed from the wheelchair and be stored as luggage.
Irrespective of whether the components are attached to the wheelchair or are stored separately, the control unit must be put in standby mode and the drive unit needs to be switched off completely for transport in both instances (in this regard, see chapter 3.6).
9.2 Wheelchairs with a rigid frame
Wheelchairs with a rigid frame have a fixed bracket that cannot be removed by the wheelchair user.
Transport your wheelchair according to the manufacturer’s specifications.
9.3 Wheelchairs with a folding frame
If the wheelchair has a folding frame, the adapter axle [22] first needs to be removed before the wheelchair can be folded.
- Push the adapter axle together at its ends using the handles [23].
- Remove the adapter axle from the wheelchair.
In order to be able to operate the wheelchair with the smoov again after transport, both wheels must first be attached to the wheelchair followed by the adapter axle [22]. - Slide one of the two handles [23] on the adapter axle [22] over the stub axle of one of the wheels attached to the wheelchair.
- Slide the second handle [23] over the red marking on the adapter axle [22] and position the adapter axle above the stub axle of the second wheel attached to the wheelchair.
- Allow the handle [23] to glide gently over the stub axle of the second wheel.
- The adapter axle is now connected to the wheelchair and the smoov drive unit can be inserted.
After attaching the adapter axle [22], check that it is securely held in place.
In addition, the red marking [27] must no longer be visible.
If the red marking [27] is visible, the smoov is no longer allowed to be put into operation. Contact your specialist dealer to have the adapter axle [22] readjusted to your wheelchair. It may also be necessary to procure a new adapter axle.
Check that the adapter axle [22] is in the correct position on the stub axles of the wheelchair at regular intervals. It must never be possible to slide the handles [23] over the retaining balls [24]!
9.4 Important information about air transport
With regard to its technical design, the smoov, and specifically the lithium-ion battery contained therein, complies with the applicable standards, guidelines and laws. It meets the requirements of the International Air Transport Association (IATA) for air transport. We confirm this annually in the form of our transport certificate. This is prepared on the basis of the new IATA Dangerous Goods Regulations, which are not usually published until mid-December of each year. The current certificate is available for download on the Alber homepage: (https://www.alber.de/de/hilfe-service/alber-service/reisen-mit-alber-produkten/). We would be happy to send it to you on request. However, when planning a trip, please contact your travel agent or the airlines to discuss taking the smoov with you on any flight you may book. At the end of the day, the decision to allow or refuse the smoov on board is made at the pilot’s discretion. Neither Alber GmbH nor their specialist dealers are able to influence the pilot’s decision.
Please also note the applicable regulations for transporting lithium-ion batteries in the countries you are visiting (see also chapter 3.5.8).
Safety instructions and hazard information when using the smoov
10.1 General information
- Prior to use, check that the parking brakes of your wheelchair are working and are therefore able to prevent your wheelchair from rolling away inadvertently. If this is not the case, please contact your specialist dealer.
- Your wheelchair is driven by the drive unit and control unit. If the system is switched on, each actuation of the control unit is converted into a movement command
(forward motion).
It is not possible to move backwards. - The wheelchair is steered and braked by its push rims during use.
- The speed is reduced via the control unit until it is switched off (see chapter 3.2).
- In the event of an emergency stop, the drive must first be deactivated or put into standby mode via the control unit. The wheelchair must then be brought to a stop via its push rims. Please read chapter 3.3 in this regard.
- We recommend that you have a user training session when you first receive your smoov. This will allow you to get used to the drive and everything you can do with it.
Information about user training
- Start your first attempts at using the smoov with caution, and start your user training on level ground.
- Take your user training in areas without any obstacles.
- Before using the smoov to navigate slopes or inclines, you should be able to operate the device safely on level ground.
- Always adapt your speed to external conditions so that you are able to stop your wheelchair or circumvent any obstacles that may suddenly appear, for example.
- Always navigate inclines with a fully charged battery. The drive wheel runs in freewheeling mode if the battery is empty; however, power assistance is no longer available for the rolling motion.
- The smoov must be switched off on slopes. Always navigate slopes at a reduced speed so that you are able to avoid any obstacles that suddenly appear and are able stop the wheelchair in time.
- Observe the information, safety instructions and hazard information provided by your wheelchair manufacturer. This also applies to using the smoov.
- It is imperative that you follow the instructions for cornering in chapter 3.4.
In the event of an emergency stop, you must be able to bring your wheelchair to an immediate stop at any time using its push rims. For this reason, adjust the speed to your physical capabilities and the respective usage situation.
Observe the following safety instructions and hazard information.
10.2 Safety instructions
- The drive unit must be completely switched off before being attached to the wheelchair, before being removed from the wheelchair, and before the user is moved into or out of the wheelchair (see chapter 3.6). The parking brakes of the wheelchair must also be applied.
- For safety reasons, you must switch the drive unit off completely and activate the parking brakes of your wheelchair when you stop, especially if you are on a slope or incline. This is to prevent your wheelchair from rolling away inadvertently.
- Always keep both hands close to the push rims so that you are able to spontaneously change the direction of travel and brake at any time.
- The drive unit and the control unit are to be switched off completely in potentially hazardous situations (see chapter 3.6).
- In the (unlikely) event of the drive unit or control unit battery overheating or catching on fire, you must ensure that these two components do not come into contact with water or other liquids under any circumstances. The only suitable extinguishing agents recommended by the battery manufacturers are sand or a Class D fire extinguisher.
Before using the device:
- The smoov may only be attached to push rim wheelchairs that have been approved by Alber GmbH for this device.
- The brackets or adapter axles holding for the smoov may only be installed and modified by Alber GmbH or an Alber authorised specialist dealer.
- When using the smoov, always strictly adhere to the operating manual for the wheelchair.
- Pairs of anti-tippers need to be fitted to the wheelchair in order to use the smoov. Use of the smoov without anti-tippers is not permitted.
- Prior to each use, check the condition of the drive wheel [8]. If the tyre has reached its wear limit (the tread is hardly visible), the smoov must not be used any further.
- Prior to each use, check that your wheelchair parking brakes are working correctly. It is forbidden to use the wheelchair without working parking brakes.
- Check the air pressure of the wheels of your wheelchair at regular intervals in accordance with the instructions and specifications of the wheelchair manufacturer. Insufficient air pressure can severely affect the handling and range of the smoov.
- The front wheels of the wheelchair must run freely. With regard to wheels with pneumatic tyres, observe the wheelchair manufacturer’s specifications for the required air pressure.
- Prior to each use, check that the drive unit is seated correctly in the adapter axle on your wheelchair.
- Prior to releasing the parking brakes and prior to activating the drive, check that the drive wheel is correctly positioned in the direction of travel (see also chapter 3.4). If it is not correctly positioned, you first need to move forward manually using the push rims and then switch on the drive.
When using the smoov, please note that:
- If you notice any unusual handling of your wheelchair or smoov at the start of use or during use, stop using the device immediately.
Then contact your specialist dealer to have the problem corrected. - Before using the smoov to navigate slopes or inclines, you should be able to operate the device safely on level ground.
- The maximum permissible slope specified by the wheelchair manufacturer must not be exceeded.
- Avoid steps and drops and keep a safe distance from them.
- If the drive unit is switched on, each actuation of the control unit is converted into a movement command. For this reason, when stopping or waiting in potentially
hazardous areas (e.g. while waiting at a traffic light, on slopes, or on ramps of any type), take your hand off of the control unit and secure your wheelchair using its parking brakes. - Never reach into a wheelchair wheel if the drive unit is switched on.
- Do not insert or throw objects of any kind into a wheelchair wheel.
- Never attach objects of any kind to the control unit. This could result in unwanted travel impulses.
- When navigating pavements, keep a safe distance from the kerb (preferably the width of the wheelchair).
- Avoid using the wheelchair on soft ground (e.g. loose chipping, sand, mud, snow, ice or deep puddles).
- The force of the drive unit is not to be underestimated. For example, if the drive wheel [8] “turns” on loose ground, parts lying on the ground (e.g. sand, stones, small pieces of wood, etc.) can be hurled backwards. Pay particular attention to this when there are personsbehind your wheelchair.
- Never leave your wheelchair with the smoov attached to it unattended. This applies irrespective of whether the smoov is switched on or off.
- The smoov can be impaired by strong electromagnetic fields and, in rare cases, it may interfere with other equipment such as anti-shoplifting barriers in department stores.
- You must not use the smoov on escalators or moving walkways.
- When moving at maximum speed, do not suddenly change your direction of travel to the left or right, as this could cause the wheelchair to tip sideways.
- When cornering and when navigating slopes, it is imperative that you follow the instructions in chapter 3.4.
- If you intend to stop in your wheelchair on a slope or incline, your wheelchair must be parked facing across this slope or incline (not up or down) and the parking brakes must be applied.
- When approaching inclines, the drive must first be activated, then the wheelchair’s parking brakes need to be released.
- After every trip or when your wheelchair is idle, activate the parking brakes to prevent the wheelchair from rolling away inadvertently.
- Never navigate across downhill slopes.
- Apply the smoov brake carefully according to your speed (i.e. not suddenly).
- The highest achievable speed with the smoov drive unit is 6 or 10 km/h respectively. If this value is exceeded (e.g. when navigating slopes), the drive unit switches to idling. In such cases, you need to reduce the speed with the push rims. The drive unit switches on again automatically as soon as the wheelchair drops to a speed below the previously driven/set speed.
- If you use your wheelchair as a vehicle seat, the statutory provisions and regulations are to be observed in this regard as well as the information and specifications of the wheelchair manufacturer. The drive unit and control unit are always to be removed from the wheelchair and stored safely.
- When travelling in a vehicle, secure your wheelchair and the smoov according to the current applicable statutory requirements and legislation.
- When navigating public roads and pavements in the Federal Republic of Germany, the provisions of the German Road Traffic Regulations and the Road Traffic Licensing Regulation are to be observed at all times. In other countries, the locally applicable national provisions are to be observed at all times.
- The smoov is only intended for transporting persons with restricted mobility and must not be used for any other purpose, e.g. for transporting goods or as a plaything
for children. - The operation of the smoov is prohibited in the vicinity of strong magnetic fields, such as those induced by holding solenoids, transformers, tomographs, etc.
- Avoid using the smoov in adverse conditions, such as storms, hail and high undergrowth.
Pairs of anti-tippers need to be fitted to the wheelchair in order to use the smoov.
Use of the smoov without anti-tippers is not permitted.
When the wheelchair is at a standstill, switch the system off completely (see chapter 3.6.2) and apply the parking brakes of your wheelchair. This prevents the smoov from moving away unintentionally and prevents the wheelchair from rolling away unintentionally, especially on slopes.
After using the smoov, please note the following:
- When not in use, switch the drive unit off immediately and completely in order to avoid any accidental triggering of a travel impulse.
- Whenever the wheelchair is at a standstill, apply the parking brakes.
- Recharge the battery of your smoov as soon as possible after each use.
10.3 Obstacles
When overcoming obstacles, observe the wheelchair manufacturer’s instructions in this regard. It is possible to overcome obstacles with a maximum height of 50 mm with the smoov.
Overcome obstacles (e.g. kerbs) in a forward motion and at right angles to the obstacle. Raise the front part of your wheelchair slightly and then let the smoov push slowly.
It is up to you to decide whether to enlist the help of another person.
10.4 Hazardous areas and hazardous situations
- Potential hazardous areas may only be accessed if the drive unit is completely switched off.
- The wheelchair user must decide in each case whether it is safe to navigate the intended route based on factors such as their skill level and their physical strength.
- Prior to use, the wheelchair user is to check the condition (remaining tread, damage) of the smoov drive wheel [8]. The charge status of the batteries and the functionality of any visual and acoustic signalling devices attached to the wheelchair are also to be checked.
- These safety checks and the personal experience of the wheelchair user are of particular importance in or near the following hazardous areas, the navigation of which is left to the judgement and risk of the wheelchair user:
– Quay walls, berths and marinas, paths and areas near water, bridges and dykes without railings
– Narrow footpaths, gradients (e.g. ramps and driveways), narrow paths along slopes, mountain paths
– Narrow and/or steep/inclined paths along main and side roads or near precipices
– Paths covered with leaves, snow or ice
– Ramps and lifting equipment on vehicles - With regard to foreseeable hazardous situations, the drive needs to be switched off by switching off the control unit (see chapter 3.6.1).
When cornering or turning the wheelchair on inclines or slopes, the centre of gravity of the wheelchair may be shifted leading to a risk of the wheelchair tipping over. As such, carry out these manoeuvres with increased caution, not abruptly, and only at a slow speed!
Proceed with special caution when navigating ramps or lifting platforms of vehicles. The drive unit must be switched off completely during navigation and during the lifting or lowering process of the ramp or lifting device. The parking brakes on the wheelchair must also be applied. This prevents the wheelchair from rolling away due to inadvertent movement commands, for example.
Wheel grip may be poor if the ground is wet; there is a greater risk of slipping. Adapt your navigation technique accordingly and never use the device if the tyres are worn.
Battery (installed in the drive unit and control unit)
Maintenance-free, rechargeable lithium-ion batteries are integrated in the drive unit and control unit. For safety reasons, these cannot be removed by the wheelchair user. If necessary, they must be removed by your authorised specialist dealer and be replaced by new batteries.
Read and observe the following safety instructions and precautions prior to starting up the smoov and prior to the charging process. Failure to comply with the safety precautions and instructions may damage the product or result in electric shock, fire and/or serious injuries. The lithium-ion batteries contain chemical substances, which may cause hazardous reactions if the safety instructions specified here are disregarded. Alber GmbH cannot be held liable for damage caused by non-compliance with the general information and safety instructions.
11.1 Safety instructions for the batteries installed in the smoov components
- The batteries should be fully charged prior to using the smoov for the first time.
- The smoov must only be used at temperatures between -25 °C and +50 °C.
- Do not expose the drive unit and control unit to heat (e.g. radiators) or fire. External heat exposure can cause the battery to explode.
- In the (unlikely) event of a battery overheating or catching on fire, you must ensure that the battery does not come into contact with water or other liquids. The only suitable extinguishing agents recommended by the battery manufacturers are sand or a Class D fire extinguisher.
- Your smoov consumes energy each time you use it. Therefore, if possible, fully charge both batteries after every use.
- The drive unit and control unit, especially the batteries contained therein, must not be opened or dismantled. Improper opening or wilful destruction of the drive unit and control unit or their batteries carries a danger of serious injury. In addition to this, opening the battery will void any warranty claims.
- Never connect the charger socket [1] of the drive unit to metallic objects, or ensure that the contacts never come into contact with metallic objects (e.g. metal filings).
- If the charger socket [1] is dirty, clean it with a clean, dry cloth.
- Do not immerse the drive unit or control unit in water.
- If a battery is damaged or defective, it needs to be inspected. In such cases, please contact your specialist dealer to clarify the proper procedure for returning and repairing the smoov.
- Neither the drive unit nor the control unit may be used if a battery is defective and they must not be opened under any circumstances.
- Always ensure that both the drive unit and the control unit are kept clean and dry.
11.2 Storing the smoov
- The service life of a battery is partly dependent on its storage location. As such, never leave the components of the smoov in hot locations for prolonged periods of time. In particular, use the boot of a car parked in the sun only for transport – never as a storage location.
- Store the components in a cool, dry location where they are safe from damage and unauthorised access.
- To achieve the optimum battery service life, store the components at a temperature between 18 °C and 23 °C, and at a humidity of 0 to 80 per cent. The charge status under these conditions should be 50 per cent.
- Do not expose the components to moisture of any kind (water, rainwater, snow, etc.) during storage.
- Charge the batteries prior to storage and check their charge status every 3 months. Whenever necessary, charge the batteries to between 50 and 70 per cent.
- Please observe the information in chapter 13.
11.3 General information about charging the batteries
- Do not charge the batteries in the presence or vicinity of flammable liquids or gases.
- In the (unlikely) event of a battery overheating or catching on fire, you must ensure that the battery does not come into contact with water or other liquids. The only suitable extinguishing agents recommended by the battery manufacturers are sand or a Class D fire extinguisher.
- Never complete the charging process in rooms where moisture may affect the smoov components and the batteries contained therein.
- Never charge the battery at temperatures below 0 °C or above 40 °C. If you attempt a charging process outside of this temperature range, the charging process will be automatically aborted.
- It takes no more than 6 hours to charge the batteries of the drive unit.
11.4 Safety instructions for the charger and the charging process
The drive unit is to be switched off completely prior to commencing the charging process.
If the drive unit is attached to the wheelchair during charging, the wheelchair is to be secured by means of its parking brakes to prevent it from rolling away inadvertently!
- Always recharge the batteries of both components in good time.
- Always use the charger supplied by Alber to charge the batteries. The charging process will end automatically as soon as the battery is fully charged. As such, overcharging is impossible.
- Never user any charger other than the one supplied by Alber to charge the drive unit.
- Always charge the control unit battery together with the drive unit battery (see chapter 4.2.2).
- If you use a separate charger not supplied by Alber to charge the control unit battery, such a charger must comply with the technical parameters listed in chapter 4.2. Chargers that do not meet the specified parameters must not be used under any circumstances.
- Do not use the Alber charger to charge any batteries other than the batteries installed in the drive unit and control unit.
- Connect the drive unit and control unit to the charger only for as long as is necessary to charge the batteries.
- To charge the batteries, first plug the mains plug [19] into a mains socket and then plug the charging plug [18] into the charger socket [1].
After completion of the charging process, you must first disconnect the charging plug [18] from the charger socket [1], then disconnect the mains cable [19] of the charger from the socket. Please observe the information in chapter 4.1. - Do not expose the charger to moisture of any kind (water, rain water, snow, etc.) during charging.
- Be aware of condensation. If the charger is brought from a cold area into a warm room, condensation may occur on and in the device.
In this case, refrain from using the charger until all the condensation has evaporated. Please note that this may take several hours. - Never carry out the charging process in rooms where moisture may affect the charger.
- Never carry the charger by its power cable or the charging cable.
- Never tug at the power cable to disconnect the charger from the socket.
- Lay the power cable and the attached charger cable in such a way that nobody can step on it or trip over it and in such a way that cable and charger are protected against any other harmful effects or stress.
- Do not ever operate the charger if the power cable, the charger cable or the plugs attached to the cables are damaged. Damaged parts must be replaced immediately by a specialist dealer that has been authorised by Alber.
- Do not use or disassemble the charger if it has received a hard blow or was dropped or damaged in some other way. Take the damaged charger to a specialist dealer that has been authorised by Alber to perform repairs.
- The charger must not be used by young children.
- The charger may only be operated with a mains alternating voltage of 100 V to 240 V.
- Never attempt to dismantle or modify the charger.
- Do not cover the charger during the charging process or place any objects on top of the device.
- Never subject the cable or plug to any pressure. Overstretching or bending the cable, allowing cables to get trapped between a wall and a window frame, or placing heavy objects on a cable or a plug may result in electric shock or fire.
- Never connect the terminals of the charger cable to any metal objects.
- Ensure that the mains plug is firmly inserted in the socket.
- Do not touch the mains plug or the charger cable plug with wet hands.
- Do not use the charging plug and/or the mains plug if they are wet or dirty. Before plugging them in, clean the plugs using a dry cloth.
- Ensure that no moisture can get into charger sockets [1] and [14] after the charger is disconnected.
- The mains plug is used to interrupt the power supply to the charger. As such, objects must never cover the charger or obstruct its use.
- Technical modifications of any kind are not permitted on the drive unit and control unit, nor are they permitted on the charger.
- If necessary, check the electrical connections to ensure that the charger is set up correctly and not covered by any other objects.
Before and after the charging process, ensure that the charger plug [18] and the charger sockets [1] and [14] are clean and that there are no metallic particles on them.
If there are any metallic particles, remove these with a clean, dry cloth.
The charger plug is magnetic. As such, avoid the plugs coming into contact with any medical implants, electronic storage media, bank cards or similar items.
If you notice noises or vibrations coming from the drive unit or the wheelchair, you must stop using the smoov immediately. In such cases, the drive unit is no longer operational and it and the control unit must be sent to Alber GmbH via your specialist dealer for testing.
You can use the free smoov Mobility app to view errors, warnings and potential remedies on your smartphone.
Care, reuse, maintenance (safety inspections) and disposal
12.1 Care
Any penetration by water can destroy the drive unit and control unit.
As such, never clean these components under running water or with a high-pressure cleaner.
Always ensure that no liquid or moisture gets into the components. Due to this requirement, the utmost caution must be exercised during cleaning. In particular, please observe the following instructions:
- With regard to all cleaning processes, only cloths slightly moistened with water may be used.
- Never use scouring pads, abrasive detergents or aggressive chemicals.
- Never clean the components under running water, e.g. using a hose or a high-pressure water jet. This can cause water to get into the system, causing irreparable damage to the electronics.
Alber GmbH accepts no liability for any damage caused by water inside the device.
Please note that such damage is not covered by our warranty.
12.2 Reuse
If your smoov has been provided to you by your health insurance company and you do not need it any longer, please contact your health insurer, an Alber representative, or your authorised specialist dealer. Your smoov can then be easily and efficiently reused. Before the smoov is re-used, it should undergo maintenance. The brackets and adapter axles used to attach the components of the smoov to your wheelchair can be easily and quickly removed by your authorised specialist dealer or an Alber representative and be attached to another wheelchair.
In addition to the cleaning instructions specified in chapter 12.1, all the externally accessible plastic parts of the smoov components need to be disinfected before they can be re-used. To do this, use a detergent suitable for wet disinfection and follow the manufacturer’s instructions.
12.3 Maintenance
In Germany, the maintenance of medical products is regulated by law in the Medical Device Directive (MPBetreibV), Section 7. According to this law, maintenance measures, especially inspections and servicing, are required in order to ensure continuous safe and proper operation of medical products.
Based on our market observations, an interval of two years has proven reasonable for maintenance of our products when used under normal operating conditions.
This guideline value of two years may vary depending on the actual use of the product and the behaviour of the user. Checking the degree of use and the user behaviour is the responsibility of the operator.
In any case, we strongly recommend that you clarify beforehand to what extent the cost of the maintenance work for our products is covered by your health insurance provider, especially with regard to any existing contracts.
12.4 Disposal
This device, its batteries and its accessories are durable products. Nevertheless, they may contain substances that are hazardous to the environment if the parts are disposed of in locations (e.g. landfills) that are not intended for the disposal of such materials according to the applicable statutory regulations for the country in question. The product is labelled (in accordance with the WEEE Directive) with a “crossed-out rubbish bin” symbol, reminding you that it must be recycled. As such, please protect the environment and return the product to your local recycling centre at the end of its service life. As this product is not covered by the regulations of the WEEE Directive in all European countries, please familiarise yourself with the applicable waste disposal regulations in your country. Alternatively, return the smoov to your authorised specialist dealer or Alber GmbH for proper and environmentally sound disposal.
Storage
If your wheelchair and the smoov are going to be stored for an extended period of time (e.g. several months), please observe the following points:
- Store the wheelchair according to the wheelchair manufacturer’s specifications.
- Protect the components of the smoov with film in order to keep moisture out.
- Store the wheelchair and all smoov components in a dry room.
- Ensure that no moisture is able to penetrate into or drip onto the wheelchair or smoov components.
- Ensure that the wheelchair and smoov are not continuously exposed to solar radiation (e.g. through windows).
- Ensure that unauthorised persons (especially children) do not have unsupervised access to this room.
- Observe the notices on how to store the battery pack.
- The wheelchair and the smoov components must be cleaned prior to recommissioning.
- Check whether maintenance is required before recommissioning, and arrange this if necessary.
Product safety information
All the components of your smoov have undergone functional tests and extensive inspections. However, in the event of an unforeseeable impairment in the operation of the smoov, the following web pages contain prompt and appropriate safety information for customers:
- Homepage of Alber (manufacturer of the smoov)
- Homepage of the German Federal Institute for Drugs and Medical Devices [BfArM]
If corrective measures are necessary, Alber will notify the specialist dealer, who will then contact you.
Product service life
We expect an estimated average service life of five years for this product, provided that the product is used as intended and maintained and serviced in accordance with all the instructions specified in the operating manual. This service life can be extended by handling, servicing, maintaining and using the product with care and if there are no technical limitations that arise from further developments in science and technology. However, the service life may also be reduced significantly by excessive or improper use. The service life required by the applicable standards does not constitute an additional warranty.
Warranty and liability
16.1 Warranty for defects
Alber guarantees that the smoov is free of defects at the time of delivery. This warranty expires 24 months after the date of delivery of the smoov.
16.2 Durability warranty
Alber provides a 24-month durability warranty for your smoov.
The durability warranty does not include:
- Devices whose serial numbers have been tampered with or removed.
- Wear parts such as tyres, control elements and batteries.
- Defects caused by normal wear, incorrect handling including failure to comply with the instructions in this operating manual, accidents, reckless damage, and damage caused by fire, water, force majeure and other events that are outside the control of Alber GmbH.
- Parts that may need to be serviced or replaced as part of normal use (e.g. tyre change).
- Device inspection without detection of a fault or defect.
16.3 Liability
As the manufacturer of the smoov, Alber GmbH accepts no liability for the safety of the product under the following circumstances:
- If the smoov is handled incorrectly
- If the smoov is not serviced at the prescribed two-year intervals by an authorised specialist dealer or Alber GmbH
- If the smoov is operated in contravention of the instructions in this operating manual
- If the smoov is operated with an insufficient battery charge
- If the smoov is repaired or modified by persons not authorised to carry out such work
- If third-party parts are attached to or combined with the smoov
- If parts of the smoov are removed
Important legal information for the user of this product
Incidents that occur due to product malfunctions and result in serious personal injury are to be reported to the manufacturer and the competent authority of the EU Member State in which the user is established. With regard to the Federal Republic of Germany, these are:
- Alber GmbH (see the back of this operating manual for details of the address)
- The German Federal Institute for Drugs and Medical Devices (BfArM),
Kurt-Georg-Kiesinger-Allee 3
53175 Bonn
www.bfarm.de
With regard to EU Member States, please notify: - Your Alber dealership (see the back of this operating manual for details of the address)
- The authorities in your country responsible for incidents involving medical devices
An overview of the competent authorities can be viewed online at: http://ec.europa.eu/growth/sectors/medical-devices/contacts/
Technical data
Drive unit
| Range (*): | approx. 20 km as per ISO 7176 – 4 |
| Maximum gradeability: | 9.1 degrees – also note the limit values specified by the wheelchair manufacturer |
| Maximum downhill grade: | Depends on the user and weight of the wheelchair. Also note the limit values specified by the wheelchair manufacturer |
| Cornering radius (minimum): | Double the width of the wheelchair (if using the smoov) |
| Maximum speed: | Standard: 6 km/h Optional: 10 km/h Always observe the limit values specified by the wheelchair manufacturer and country-specific road traffic legislation. |
| Rated power of engine: | 250 W |
| Operating voltage: | 36 VDC |
| Operating temperature: | -25° C to +50° C |
| Storage temperature: | -40° C to +65° C |
| Weight of person: | max. 140 kg |
| Max. permissible overall weight: | 170 kg |
| Protection rating: | IPx4 |
Battery pack
| Cell type: | Lithium-ion 18650 |
| Rated operating capacity: | 36 V |
| Rated capacity: | 6.2 Ah |
| Rated energy: | 224 Wh |
| Charging temperature: | 0° C to +45° C |
| Operating temperature: | -25° C to +50° C |
| Protection rating: | IPX4 |
Control unit
| Cell type: | Lithium-ion 18650 |
| Rated voltage: | 3.6 VDC |
| Rated capacity: | 2.6 Ah |
| Rated energy: | 9.36 Wh |
| Charging temperature: | 0° C to +45° C |
| Operating temperature: | -25° C to +50° C |
Charger
| Model: | Smoov Charger |
| Mains voltage: | 100…240 VAC, 50…60 Hz |
| Power output: | 48 W |
| Output voltage: | 48 VDC |
| Output current: | 1.0 A |
| Protection rating: | IP X4 |
| Polarity of the charging plug: | ![]() |
Ambient temperature: Operation 0…40 °C Storage -40…+65 °C
Humidity: Operation 10…80% Storage 5…95%
Air pressure: Operation 500…1060 hPa Storage 700…1060 hPa
Weight of components
| Drive unit (including battery): | 7.2 kg |
| Control unit (including battery): | 0.25 kg |
| Battery charger: | 0.5 kg |
| Total weight: | 7.95 kg (may differ depending on version or accessories) |
Miscellaneous
Ignition stability: All materials and assemblies used are flame-retardant
- (*) The range varies depending on the terrain and the prevailing usage conditions. The specified maximum range is valid for optimum usage conditions (level terrain, fully recharged batteries, ambient temperature around 20 °C, smooth motion, etc.).
- (**) This value indicates the upper technical limit and depends on the wheelchair model.
The suitability of the operator can also reduce this value. - All electrical components of the smoov are protected against spray water and humidity.
- Some of the specifications listed have been calculated using applicable standards and test dummies with a weight of 100 kg.
Nevertheless, some of the values produced during operation of the smoov may differ from the specifications provided.
The smoov and the corresponding off-board charger comply with the applicable sections of standard EN 12184 for elec- tric wheelchairs and standard ISO 7176-14 for wheelchairs and comply with the EU Medical Devices Directive (MDR).
The smoov is a Class I medical device.
We reserve the right to modify the design and technology of our products to incorporate the latest developments.
Labels and explanation of symbols
There are labels on the wheels and the battery charger which contain various details on the product. In case of a fault in the device, components can be replaced by your
specialist dealer within the Alber exchange pool. For this purpose, your specialist dealer will require certain items of information from thelabels.
System label
Please specify the system number when exchanging a device as part of the Alber exchange pool. The system label is located on the underside of the drive unit.
“Maintenance” label
This label indicates the time of the next maintenance due. It is located on the underside of the drive unit.
Type Reference: Charger 010
Rated Output Voltage: 48V ,
Rated Output Current: 1A –
‘ Rated Output Power: 48W ,
Rated Input Voltage: 100-240VAC, 50-60HZ
Input Current: 1A/230VAC
Degree of Protection: IPX4
Alber GmbH Vor dem Weigen Stein 21 D-72461 Albstadt www.alber.de
“Technical data” label on the charger
The label shown opposite is found on the underside of the battery charger, and provides information on its technical data and the displays shown during the charging process.
Component label on the charger
Please specify the component numbers (number in centre of label, marked with an arrow in the diagram opposite) when exchanging a device as part of the Alber exchange pool. Component labels are located:
- On the back of the charger
- On the underside of the drive unit
- On the back of the handle of the control unit

www.smoov.com
by Alber GmbH
Vor dem Weißen Stein 21
72461 Albstadt, Germany
Phone +49 07432 2006-0
Fax +49 07432 2006-299
[email protected]
©Alber GmbH, Albstadt
Technische Änderungen vorbehalten.

























